Вернуться на главную
Поиск
Каталоги запчастей к технике
Спецтехника
Промтрактор
Т-11.01Я
Электрооборудование топливного бака
Каталог запасных частей к технике: Промтрактор Т-11.01Я. Электрооборудование топливного бака
zoom-in
zoom-out
enlarge
shrink
circle-right
circle-left
file-text2
info
cart
Тип техники
Не выбрано
Легковые автомобили
Грузовые автомобили и прицепы
Автобусы
Сельхозтехника
Спецтехника
Двигатели
Мототехника
Марка
Не выбрано
Ammann
BOMAG
CARMIX
CASE IH
Changlin
ChengGong
Dimex
Doosan
DYNAPAC
Foton
HAMM
Hidromek
Hitachi
Hyundai
JCB
JLG
John Deere
Komatsu
LIEBHERR
LiuGong
Lonking (LongGong)
Luneng
MANITOU
Mitsuber
New Holland
PENGPU
RM-Terex
SANY
SDLG
SEM
Shantui
Shehwa HBXG
Soosan
TIGARBO
VOGELE
Volvo
WAY
WIRTGEN
XCMG
XGMA
Xiamen
YTO
Yuchai
Zoomlion
Автокран
АЗСМ
Алтайлесмаш
Амкодор
АОМЗ
Атек
АТЗ
Балканкар Рекорд
БелАЗ
Беловеж
Борекс
Брянский Арсенал
Булат
ВЭКС
ГАЗ
Геомаш
Гидромаш
Донекс
Дормаш
Дормашина
Дорэлектромаш
ДЭЗ
ЕлАЗ
ЗЗГТ
Ижнефтемаш
Канаш-электрокар
КЗКТ
ККЗ
Клевер
Клинцовский автокрановый завод
КМЗ
КМЗ 1 Мая
Ковровец
Коммаш
Кранэкс
КЭЗ
КЭМЗ
ЛЗА
МАЗ
МЗИК
МЗКМ
МЗКТ
Михневский РМЗ
МоАЗ
Мозырский МЗ
МТЗ
ОЗП
Онежец
ПАО "ТЗА"
ППС Детва
Промтрактор
ПТЗ
Раскат
СпецАгрегат
ТВЭКС
ТТМ
УВЗ
Угличмаш
УЗТМ
ХТЗ
ЧЗКМ
ЧСДМ
ЧТЗ
ЭКСКО
ЭКСМАШ
ЮрМаш
Модель
Не выбрано
ПК-12.02 (2007)
ПК-12.02К (2007)
ПК-60.01 (2007)
Т-11.01К (2008)
Т-11.01Я
Т-11.02К (2008)
Т-11.02Я (2008)
Т-15.01К (2007)
Т-15.01Я (2000)
Т-15.02K (2009)
Т-15.02Я (2009)
Т-20.01К
Т-20.01Я (2000)
Т-20.01Я (2005) (2005)
Т-20.02К (Четра) (2009)
Т-20.02Я (Четра) (2009)
Т-25.01К1 (2008)
Т-25.01Я (2006)
Т-330 (2006)
Т-35.01К (2007)
Т-35.01Я
Т-40.01К (2008)
Т-50.01 (1998)
Т-500 (1999)
Т-9.01Я (2007)
ТГ-121Я (2004)
ТГ-221КМ (2006)
ТГ-221Я (2004)
ТГ-301К (2006)
ТГ-301Я (2004)
ТГ-302Я (2010)
ТГ-503К (2006)
ТГ-503Я (2006)
ТГ-511 (2008)
Шасси ТП-20.02 (2008)
Схема
>
Не выбрано
Кабина
Кабина
Кабина
Кабина
Пол
Пол
Установка защиты кабины
Установка сиденья
Установка отопителя кабины
Установка вентиляторов кабины
Блок вентиляционный
Облицовка
Облицовка
Облицовка
Установка кожухов (для модели Т-11.01ЯМ)
Установка кожухов
Установка двигателя ЯМЗ-236ДК-7
Установка двигателя ЯМЗ-236ДК-7
Установка системы подогрева
Установка системы подогрева
Установка системы подогрева
Установка бака топливного
Установка бака топливного
Бак
Бак
Система охлаждения двигателя и трансмиссии
Система охлаждения двигателя и трансмиссии
Блок радиаторов
Установка систем воздухоочистки и выпуска
Установка трансмиссии
Установка трансмиссии
Блок трансмиссии
Установка трансмиссии (для модели Т-11.01ЯМ)
Установка трансмиссии (для модели Т-11.01ЯМ)
Корпус муфты
Муфта упругая
Коробка передач
Коробка передач планетарная
Гидротрансформатор с редуктором привода насосов
Гидротрансформатор с редуктором привода насосов
Фильтр
Крышка
Делитель потока
Блок управления
Блок управления
Блок управления
Передача главная
Передача главная
Бустер
Водило
Водило
Водило
Передача бортовая, фрикцион и тормоз
Фрикцион бортовой и тормоз остановочный
Передача бортовая
Передача бортовая, фрикцион и тормоз (для модели Т-11.01ЯМ)
Передача бортовая (для модели Т-11.01ЯМ)
Рама
Рама (для модели Т-11.01ЯМ)
Система ходовая
Тележка
Система ходовая (для модели Т-11.01ЯМ)
Тележка (для модели Т-11.01ЯМ)
Каток поддерживающий
Механизм сдавания
Механизм натяжения
Каток опорный
Колесо натяжное
Шарнир
Гусеница
Шарнир (для модели Т-11.01ЯМ)
Гусеница (для модели Т-11.01ЯМ)
Управление трактором
Управление трактором
Управление трактором
Привод управления
Привод управления
Привод управления
Привод управления
Электрооборудование
Электрооборудование
Установка электрооборудования на раме
Установка электрооборудования на раме
Электрооборудование двигателя
Электрооборудование двигателя
Электрооборудование передней облицовки
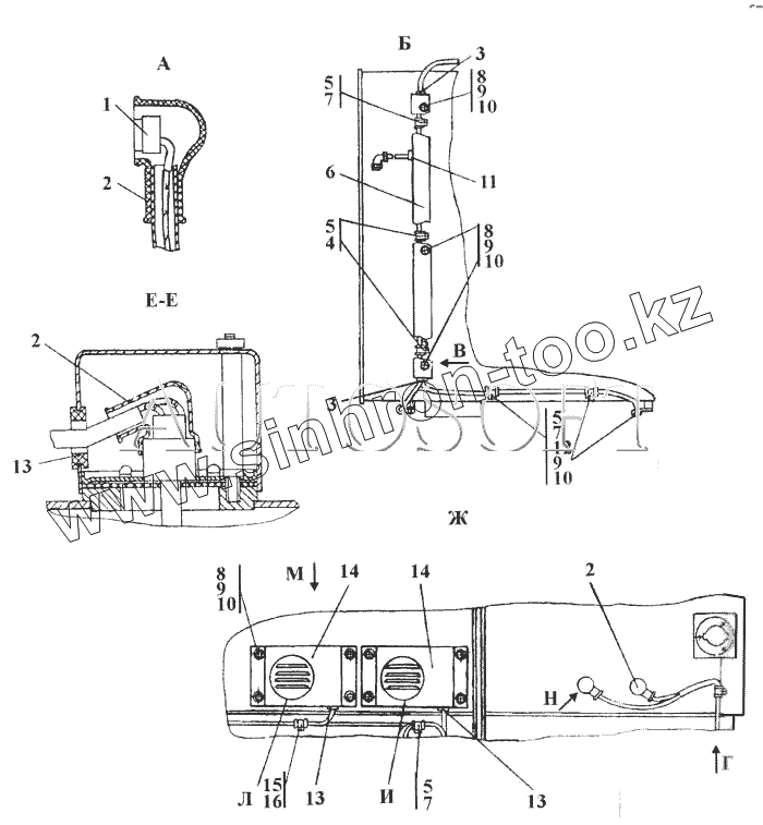
Электрооборудование топливного бака
Электрооборудование топливного бака
Электрооборудование топливного бака
Электрооборудование пола кабины
Электрооборудование пола кабины
Электрооборудование пола кабины
Электрооборудование пола кабины
Электрооборудование пола кабины
Электрооборудование подогревателя ПЖД30Г
Блок выключателей
Электрооборудование крыши кабины
Электрооборудование крыши кабины
Электрооборудование крыши кабины
Блок выключателей
Установка фары
Щиток приборов
Щиток приборов
Установка прицепного устройства
Установка прицепного устройства
Установка гидросистемы
Распределитель секционный
Установка гидроцилиндров
Установка гидроцилиндров
Гидроцилиндр диаметром 100
Устройство перепускное
Оборудование бульдозерное полусферическое
Оборудование бульдозерное полусферическое
Отвал
Тяга поперечная
Гидросистема бульдозерного оборудования
Гидрораскос
Гидрозамок
Раскос винтовой
Оборудование бульдозерное полусферическое (для модели Т-11.01ЯМ)
Оборудование бульдозерное полусферическое (для модели Т-11.01ЯМ)
Отвал (для модели Т-11.01ЯМ)
Тяга поперечная (для модели Т-11.01ЯМ)
Гидросистема бульдозерного оборудования (для модели Т-11.01ЯМ)
Гидрораскос (для модели Т-11.01ЯМ)
Гидрозамок (для модели Т-11.01ЯМ)
Раскос винтовой (для модели Т-11.01ЯМ)
Оборудование рыхлительное
Оборудование рыхлительное
Оборудование рыхлительное
Гидросистема рыхлительного оборудования
Гидросистема рыхлительного оборудования
Гидроцилиндр диаметр 100
Оборудование рыхлительное
Оборудование рыхлительное
Оборудование рыхлительное
1
2
2
2
3
3
4
5
5
5
5
6
6
7
7
7
8
8
8
9
9
9
9
10
10
10
10
10
11
12
13
13
13
14
14
14
15
16
Позиция на иллюстрации
Заводской номер детали
Название детали
1106-10-14СП
1106-10-14СП
Электрооборудование топливного бака
1
602602
Колодка гнездовая ОСТ 37.003.032-88
2
700-40-5607
Наконечник
3
700-40-6736
Кольцо
4
700-41-3179
Хомутик
5
700-40-6684-04
Прокладка
6
2001-10-2
Кожух защитный
6
2001-10-2-20
Кожух защитный
7
700-41-2866
Хомут
8
Болт М8-6gх20
Болт М8-6gх20
9
Шайба 8 Т ГОСТ 6402-70
Шайба 8 Т ГОСТ 6402-70
10
310150
Шайба 8.01.08кп.019 ГОСТ 11371-78
10
310150-20
Шайба 8.01.08кп.0221 ГОСТ 11371-78
11
700-40-6682
Кольцо
12
Болт М8-6gх16
Болт М8-6gх16
13
700-40-6695
Кольцо
14
3501-10-15
Кожух защитный
14
3501-10-15-20
Кожух защитный
15
415090
Хомутик
16
700-40-6684-07
Прокладка
Содержащиеся в справочниках-каталогах запасные части и детали не предлагаются к продаже, а носят исключительно информационный характер
Дополнительная информация
×
Название:
Номер:
Примечание: