Каталог запасных частей к технике: Промтрактор Т-11.01Я. Электрооборудование крыши кабины
1
1
1
2
2
2
2
2
2
2
3
3
3
4
5
5
6
6
7
7
7
8
9
10
11
12
12
13
13
14
14
15
15
15
16
17
17
18
18
18
19
20
21
21
22
23
24
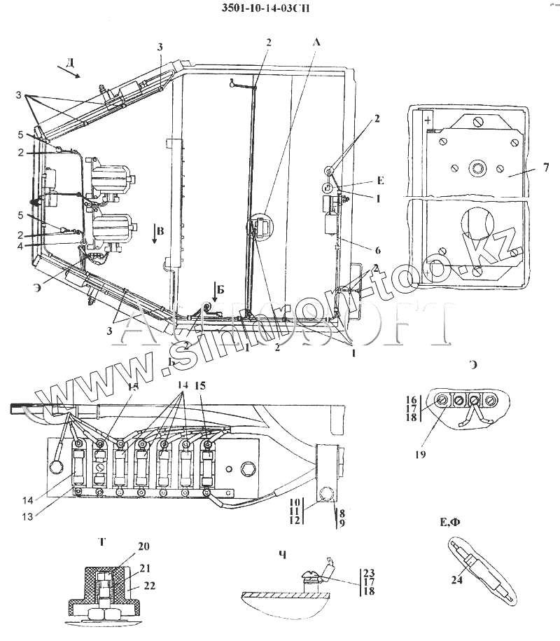
| Позиция на иллюстрации | Заводской номер детали | Название детали | |
|---|---|---|---|
| 3501-10-14-03СП | 3501-10-14-03СП | Электрооборудование крыши кабины | |
| 3501-10-14-02-20СП | 3501-10-14-02-20СП | Электрооборудование крыши кабины | |
| 3501-10-14-03-20СП | 3501-10-14-03-20СП | Электрооборудование крыши кабины | |
| 1 | 700-40-6684-05 | Прокладка | |
| 2 | 700-40-6695 | Кольцо | |
| 3 | 700-40-6684-04 | Прокладка | |
| 4 | 700-40-3141 | Кольцо | |
| 5 | 700-40-5607 | Наконечник | |
| 6 | 3501-10-167-02СП | Жгут | |
| 6 | 3501-10-167-02-20СП | Жгут | |
| 7 | 3501-10-169-03СП | Блок выключателей | |
| 7 | 3501-10-169-03-10СП | Блок выключателей | |
| 7 | 3501-10-169-03-20СП | Блок выключателей | |
| 8 | 700-40-6684-02 | Прокладка | |
| 9 | 700-41-3187 | Хомутик | |
| 10 | Болт М8-6gх16 | Болт М8-6gх16 | |
| 11 | Шайба 8 Т | Шайба 8 Т | |
| 12 | 310150 | Шайба 8.01.08кп.019 ГОСТ 11371-78 | |
| 12 | 310150-20 | Шайба 8.01.08кп.0221 ГОСТ 11371-78 | |
| 13 | БЗ-20 экспорт | Блок защиты БЗ-20, УХЛ3, 30В ТУ 16-522.001-82 экспорт | |
| 13 | БЗ-20 | Блок защиты БЗ-20, УХЛ3, 30В ТУ 16-522.001-82 | |
| 14 | ПВ-10 | Предохранитель ПВ-10, УХЛ3, 30В ТУ 16-522.001-82 | |
| 15 | ПВ-20 | Предохранитель ПВ-20, УХЛ3, 30В ТУ 16-522.001-82 | |
| 15 | ПВ-6 | Предохранитель ПВ-6, УХЛ3, 30В ТУ 16-522.001-82 | |
| 16 | Винт В.М6-6gх22 | Винт В.М6-6gх22 | |
| 17 | Шайба 6 Т | Шайба 6 Т | |
| 18 | 310110 | Шайба 6.01.08кп.019 ГОСТ 11371-78 | |
| 18 | 310110-20 | Шайба 6.01.08кп.0221 ГОСТ 11371-78 | |
| 19 | 14.3723000 | Панель соединительная | |
| 20 | Гайка М5 | Гайка М5 | |
| 21 | 405-10-36 | Втулка | |
| 21 | 405-10-36-20 | Втулка | |
| 22 | 405-10-34 | Ручка | |
| 23 | Винт В.М6-6gх12 | Винт В.М6-6gх12 | |
| 24 | 602601 | Колодка гнездовая |
Содержащиеся в справочниках-каталогах запасные части и детали не предлагаются к продаже, а носят исключительно информационный характер