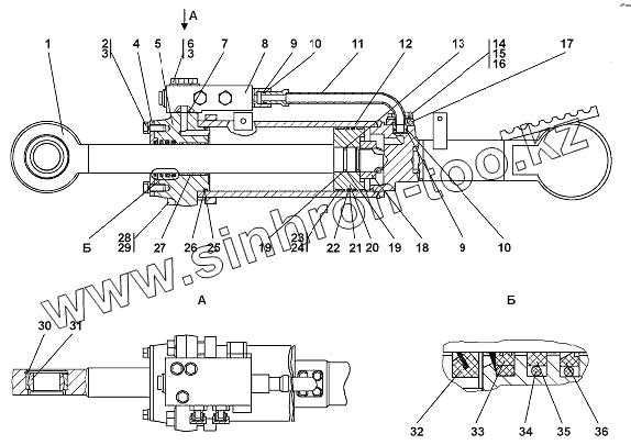
Каталог запасных частей к технике: Промтрактор Т-11.01К. 011101-93-561-01СП Гидрораскос
011101-93-561--01-20СП(SP)
011101-93-561--01СП(SP)
1
1
2
3
3
4
5
6
6
7
8
9
9
10
10
11
11
12
13
14
15
16
16
17
17
18
19
19
20
21
22
23
24
25
26
27
28
28
29
29
30
30
31
32
33
34
35
36
| Позиция на иллюстрации | Заводской номер детали | Название детали | |
|---|---|---|---|
| 011101-93-561--01-20СП(SP) | 011101-93-561--01-20СП(SP) | Гидрораскос диам. 140 | |
| 011101-93-561--01СП(SP) | 011101-93-561--01СП(SP) | Гидрораскос диам. 140 | |
| 1 | 011101-93-527-03-20 | Шток | |
| 1 | 011101-93-527-03 | Шток | |
| 2 | Болт М12x1,25-6gx25 | Болт М12x1,25-6gx25 | |
| 3 | Шайба 12 ОТ | Шайба 12 ОТ | |
| 4 | 1501-26-616 | Скребок | |
| 5 | 011101-93-546 | Крышка | |
| 6 | 28 0385 | Болт М12х1,25-6gх80 ГОСТ 7795-70 | |
| 6 | 28 0385-20 | Болт М12х1,25-6х80.109.40Х.029 ГОСТ 7795-70 | |
| 7 | 020-025-30-2-51-1668 | Кольцо 020-025-30-2-51-1668 | |
| 8 | 011101-93-560СП(SP) | Гидрозамок | |
| 9 | 022-028-36-2-51-1668 | Кольцо 022-028-36-2-51-1668 | |
| 10 | 2001-26-193 | Кольцо защитное | |
| 11 | 011101-93-571СП(SP) | Трубопровод | |
| 11 | 011101-93-571-20СП -20SP | Трубопровод | |
| 12 | 011101-93-562--01СП(SP) | Корпус | |
| 13 | 040-048-46-2-51-1668 | Кольцо 040-048-46-2-51-1668 | |
| 14 | Болт М10-6gx30 | Болт М10-6gx30 | |
| 15 | Шайба 10 ОТ | Шайба 10 ОТ | |
| 16 | 31 0180 | Шайба 10 | |
| 16 | 31 0180-20 | Шайба 10 | |
| 17 | 2001-26-125-20 | Фланец | |
| 17 | 2001-26-125 | Фланец | |
| 18 | 312001-26-110-01 | Гайка специальная | |
| 19 | 46-93-607-02 | Кольцо защитное | |
| 20 | 011101-93-503-01 | Поршень | |
| 21 | 312501-26-185 | Кольцо уплотнительное | |
| 22 | 125-135-58-2-51-1668 | Кольцо 125-135-58-2-51-1668 | |
| 23 | 312501-26-184 | Втулка опорная | |
| 24 | Е21Т-140-15-3,5 | Кольцо опорно-направляющее поршневое Е21Т-140-15-3,5 | |
| 25 | 130-140-58-2-ИРП1314-1 | Кольцо 130-140-58-2-ИРП1314-1 | |
| 26 | 2601-28-10 | Кольцо защитное | |
| 27 | Е22Т-063-30-2,5 | Кольцо опорно-направляющее штоковое Е22Т-063-30-2,5 | |
| 28 | 31 5412 | Шайба | |
| 28 | 31 5412-20 | Шайба | |
| 29 | 28 0930 | Болт М30x2-6gx80 | |
| 29 | 28 0930-20 | Болт М30x2-6gx80 | |
| 30 | 700-58-2278-10 | Кольцо С90 | |
| 30 | 700-58-2278-20 | Кольцо С90 | |
| 31 | ШСЛ60 | Подшипник ШСЛ60 | |
| 32 | 2501-93-506-04СП(SP) | Грязесъемник 3-d | |
| 33 | Е50-А-063-12 | Грязесъемник Е50-А-063-12 | |
| 34 | 070-080-58-2-51-1668 | Кольцо 070-080-58-2-51-1668 | |
| 35 | 312001-26-109-01 | Кольцо уплотнительное | |
| 36 | Е01-063-12 | Уплотнение штоковое Е01-063-12 |
Содержащиеся в справочниках-каталогах запасные части и детали не предлагаются к продаже, а носят исключительно информационный характер