Вернуться на главную
Поиск
Каталоги запчастей к технике
Спецтехника
Промтрактор
Шасси ТП-20.02
Водило
Каталог запасных частей к технике: Промтрактор Шасси ТП-20.02. Водило
zoom-in
zoom-out
enlarge
shrink
circle-right
circle-left
file-text2
info
cart
Тип техники
Не выбрано
Легковые автомобили
Грузовые автомобили и прицепы
Автобусы
Сельхозтехника
Спецтехника
Двигатели
Мототехника
Марка
Не выбрано
Ammann
BOMAG
CARMIX
CASE IH
Changlin
ChengGong
Dimex
Doosan
DYNAPAC
Foton
HAMM
Hidromek
Hitachi
Hyundai
JCB
JLG
John Deere
Komatsu
LIEBHERR
LiuGong
Lonking (LongGong)
Luneng
MANITOU
Mitsuber
New Holland
PENGPU
RM-Terex
SANY
SDLG
SEM
Shantui
Shehwa HBXG
Soosan
TIGARBO
VOGELE
Volvo
WAY
WIRTGEN
XCMG
XGMA
Xiamen
YTO
Yuchai
Zoomlion
Автокран
АЗСМ
Алтайлесмаш
Амкодор
АОМЗ
Атек
АТЗ
Балканкар Рекорд
БелАЗ
Беловеж
Борекс
Брянский Арсенал
Булат
ВЭКС
ГАЗ
Геомаш
Гидромаш
Донекс
Дормаш
Дормашина
Дорэлектромаш
ДЭЗ
ЕлАЗ
ЗЗГТ
Ижнефтемаш
Канаш-электрокар
КЗКТ
ККЗ
Клевер
Клинцовский автокрановый завод
КМЗ
КМЗ 1 Мая
Ковровец
Коммаш
Кранэкс
КЭЗ
КЭМЗ
ЛЗА
МАЗ
МЗИК
МЗКМ
МЗКТ
Михневский РМЗ
МоАЗ
Мозырский МЗ
МТЗ
ОЗП
Онежец
ПАО "ТЗА"
ППС Детва
Промтрактор
ПТЗ
Раскат
СпецАгрегат
ТВЭКС
ТТМ
УВЗ
Угличмаш
УЗТМ
ХТЗ
ЧЗКМ
ЧСДМ
ЧТЗ
ЭКСКО
ЭКСМАШ
ЮрМаш
Модель
Не выбрано
ПК-12.02 (2007)
ПК-12.02К (2007)
ПК-60.01 (2007)
Т-11.01К (2008)
Т-11.01Я
Т-11.02К (2008)
Т-11.02Я (2008)
Т-15.01К (2007)
Т-15.01Я (2000)
Т-15.02K (2009)
Т-15.02Я (2009)
Т-20.01К
Т-20.01Я (2000)
Т-20.01Я (2005) (2005)
Т-20.02К (Четра) (2009)
Т-20.02Я (Четра) (2009)
Т-25.01К1 (2008)
Т-25.01Я (2006)
Т-330 (2006)
Т-35.01К (2007)
Т-35.01Я
Т-40.01К (2008)
Т-50.01 (1998)
Т-500 (1999)
Т-9.01Я (2007)
ТГ-121Я (2004)
ТГ-221КМ (2006)
ТГ-221Я (2004)
ТГ-301К (2006)
ТГ-301Я (2004)
ТГ-302Я (2010)
ТГ-503К (2006)
ТГ-503Я (2006)
ТГ-511 (2008)
Шасси ТП-20.02 (2008)
Схема
>
Не выбрано
Кабина
Кабина
Управление трактором
Управление трактором
Привод управления
Привод управления
Привод управления
Привод управления
Блок управления
Установка сиденья
Пол
Установка отопителя кабины
Установка вентиляции и отопления кабины
Установка независимого отопителя кабины
Облицовка
Облицовка
Установка вентиляторов кабины
Кабина
Кабина
Кабина
Кабина
Кабина
Обивка кабины
Облицовка кабины
Облицовка кабины
Установка двигателя М11-С «Cummins»
Установка двигателя М11-С «Cummins»
Установка систем воздухоочистки и выпуска
Воздухоочиститель
Установка топливного бака
Установка топливного бака
Бак топливный
Установка системы подогрева
Установка системы подогрева
Установка системы подогрева
Система охлаждения двигателя и трансмиссии
Система охлаждения двигателя и трансмиссии
Установка трансмиссии
Установка трансмиссии
Блок трансмиссии
Передача главная
Передача главная
Коробка передач
Коробка передач планетарная
Бустер
Водило
Водило
Водило
Гидротрансформатор с редуктором привода насосов
Гидротрансформатор с редуктором привода насосов
Гидротрансформатор с редуктором привода насосов
Крышка
Фильтр
Делитель потока
Блок управления
Блок управления
Клапан
Фрикцион бортовой и тормоз остановочный
Передача бортовая фрикцион и тормоз
Передача бортовая
Муфта упругая
Вал карданный
Рама
Система ходовая
Система ходовая
Тележка
Каток поддерживающий
Механизм натяжения
Механизм сдавания
Каток опорный
Колесо натяжное
Гусеница
Установка прицепного устройства
Установка кожухов
Установка гидросистемы
Установка гидросистемы
Гидроцилиндр 160
Гидрозамок
Распределитель
Клапан
Бак гидросистемы
Электрооборудование
Электрооборудование пола кабины
Электрооборудование пола кабины
Электрооборудование пола кабины
Установка электрооборудования на раме
Электрооборудование подогревателя ПЖД30Г
Блок выключателей
Блок выключателей
Щиток приборов
Электрооборудование крыши кабины
Электрооборудование крыши кабины
Электрооборудование крыши кабины
Электрооборудование топливного бака
Электрооборудование топливного бака
Электрооборудование передней облицовки
Электрооборудование двигателя
Электрооборудование гидробака
Щиток приборов 1
Установка фары
Блок выключателей
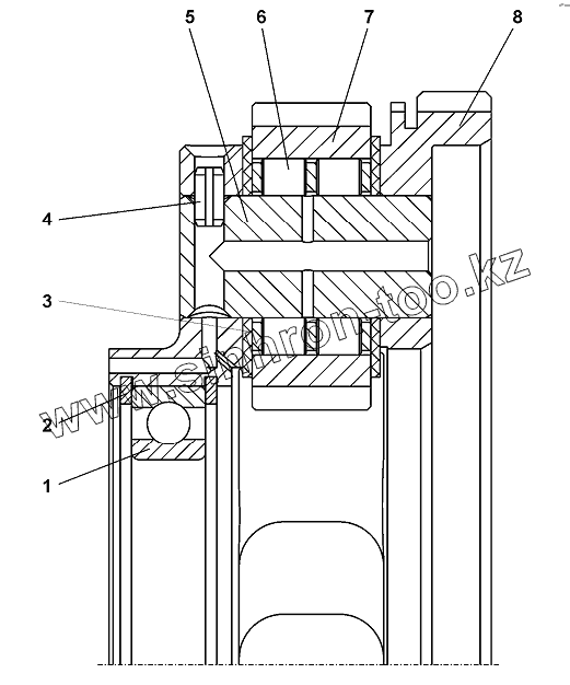
2001-12-118СП(SP)
1
1
2
3
4
5
6
7
8
Позиция на иллюстрации
Заводской номер детали
Название детали
2001-12-118СП(SP)
2001-12-118СП(SP)
Водило
1
6-1000922Л
Подшипник 6-1000922Л
1
61922МА.Р6Q6
Подшипник 61922МА.Р6Q6
2
580850
Кольцо С150Ц9хр ГОСТ 13941-86
3
2001-12-27
Кольцо упорное
4
2001-12-111СП(SP)
Штифт
5
2001-12-28
Ось
6
6-252807Д
Подшипник 6-252807Д
7
2001-12-26
Сателлит
8
2001-12-44
Водило
Содержащиеся в справочниках-каталогах запасные части и детали не предлагаются к продаже, а носят исключительно информационный характер
Дополнительная информация
×
Название:
Номер:
Примечание: