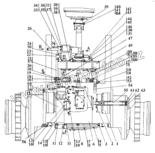
Каталог запасных частей к технике: Промтрактор Шасси ТП-20.02. Установка трансмиссии
312001-16-16-03-20СП(SP
312001-16-16-03СП(SP)
1
1
2
3
4
4
5
5
5
5
6
6
7
7
7
8
10
10
10
10
10
10
10
10
11
11
11
11
12
13
13
13
14
14
14
14
15
15
16
17
17
18
18
19
19
20
20
21
21
22
23
23
24
24
25
25
26
26
30
30
31
33
34
35
36
36
37
37
38
38
39
39
40
40
41
41
42
42
43
43
44
46
46
47
47
49
49
50
50
52
52
53
54
54
55
56
57
58
58
59
60
60
61
63
64
64
64
64
| Позиция на иллюстрации | Заводской номер детали | Название детали | |
|---|---|---|---|
| 312001-16-16-03-20СП(SP | 312001-16-16-03-20СП(SP | Установка трансмиссии | |
| 312001-16-16-03СП(SP) | 312001-16-16-03СП(SP) | Установка трансмиссии | |
| 1 | 312001-19-1-20СП(SP) | Передача бортовая, фрикцион и тормоз | |
| 1 | 312001-19-1СП(SP) | Передача бортовая, фрикцион и тормоз | |
| 2 | 2001-16-110СП(SP) | Торсион | |
| 3 | 325463 | Штифт | |
| 4 | 280562 | Болт М16х1,5х75 ГОСТ 7796-70 | |
| 4 | 280562-20 | Болт М16х1,5х75 ГОСТ 7796-70 | |
| 5 | Шайба16.ОТ | Шайба | |
| 6 | 2001-12-13-20СП(SP) | Блок трансмиссии | |
| 6 | 2001-12-13СП(SP) | Блок трансмиссии | |
| 7 | 280570 | Болт М16х1,5-6gх105.88.40Х019 ГОСТ 7795-70 | |
| 7 | 280570-20 | Болт М16х1,5-6gх105.88.40Х029 ГОСТ 7795-70 | |
| 8 | Кольцо030-035-30-ИРП1314-1 | Кольцо 030-035-30-ИРП1314-1 | |
| 10 | Шайба12ОТ | Шайба12ОТ | |
| 11 | Кольцо038-046-46-2-51-1668 | Кольцо 038-046-46-2-51-1668 | |
| 12 | Кольцо135-145-58-2-51-1668 | Кольцо | |
| 13 | 280388 | Болт М12-6gх90.109.40Х.019 ГОСТ 7795-70 | |
| 13 | 280388-20 | Болт М12-6gх90.109.40Х029 ГОСТ 7795-70 | |
| 14 | 312001-15-17СП(SP) | Делитель потока | |
| 14 | 1101-15-15-01-20СП(SP) | Делитель потока | |
| 14 | 1101-15-15-01СП(SP) | Делитель потока | |
| 14 | 312001-15-17-20СП(SP) | Делитель потока | |
| 15 | 312001-15-10СП(SP) | Фильтр | |
| 15 | 312001-15-10-20СП(SP) | Фильтр | |
| 16 | Шайба20.ОТ | Шайба 20.ОТ | |
| 17 | 280728 | Болт М20-6gх60 | |
| 17 | 280728-20 | Болт М20-6gх60 | |
| 18 | БолтМ12-6gх30 | Болт М12-6gх30 | |
| 19 | 2501-26-83-20 | Фланец | |
| 19 | 2501-26-83 | Фланец | |
| 20 | БолтМ12-6gх35 | Болт М12-6gх35 | |
| 21 | 2001-16-112-20СП(SP) | Труба | |
| 21 | 2001-16-112СП(SP) | Труба | |
| 22 | Кольцо060-070-58-2-51-1668 | Кольцо | |
| 23 | 1501-16-1 | Фланец | |
| 23 | 1501-16-1-20 | Фланец | |
| 24 | 280379 | Болт 3М12-6gх65.109.40х019 ГОСТ 7796-70 | |
| 24 | 280379-20 | Болт 3М12-6gх65.109.40Х.029 ГОСТ 7796-70 | |
| 25 | 46-14-141-20СП(SP) | Сапун | |
| 25 | 46-14-141СП(SP) | Сапун | |
| 26 | 2501-15-124-20СП(SP) | Пробка | |
| 26 | 2501-15-124СП(SP) | Пробка | |
| 30 | Н.036.23.022 | Контргайка | |
| 30 | Н.036.23.022-20 | Контргайка | |
| 31 | Кольцо018-022-25-2-51-1668 | Кольцо 018-022-25-2-51-1668 | |
| 33 | Кольцо024-028-25-2-51-1668 | Кольцо 024-028-25-2-51-1668 | |
| 34 | 375783 | Пробка | |
| 35 | Шайба10ОТ | Шайба 10 ОТ | |
| 36 | 280230-20 | Болт М10-6gх25 | |
| 36 | 280230 | Болт М10-6gх25 | |
| 37 | 2001-16-11-20 | Фланец | |
| 37 | 2001-16-11 | Фланец | |
| 38 | 310210 | Шайба 12х2.01.10.019 ГОСТ 11371-78 | |
| 38 | 310210-20 | Шайба 12х2.01.10.0221 ГОСТ 11371-78 | |
| 39 | 2001-49-1-04 | Вал карданный | |
| 39 | 2001-49-1-04-20 | Вал карданный | |
| 40 | 2001-16-44-20 | Болт специальный | |
| 40 | 2001-16-44 | Болт специальный | |
| 41 | 4599651312 | Гайка М 14x1,5 | |
| 41 | 168000460 | Гайка самоконтрящаяся М 14x1,5 (8) ОЦ DIN985 | |
| 42 | 2001-16-31 | Фланец | |
| 42 | 2001-16-31-20 | Фланец | |
| 43 | Кольцо039-045-25-2-51-1668 | Кольцо 039-045-25-2-51-1668 | |
| 43 | Шайба8Т | Шайба 8Т | |
| 44 | БолтМ8-6gх30 | Болт М8-6gх30 | |
| 46 | 3501-26-159-20СП(SP) | Угольник | |
| 46 | 3501-26-159СП(SP) | Угольник | |
| 47 | 3501-16-28 | Фланец | |
| 47 | 3501-16-28-20 | Фланец | |
| 49 | 2001-14-1-01СП(SP) | Гидротрансформатор с редуктором привода насосов | |
| 49 | 2001-14-1-01-20СП(SP) | Гидротрансформатор с редуктором привода насосов | |
| 50 | 280544-20 | Болт М16х1,5-6gх45.109.40Х029 ГОСТ 7796-70 | |
| 50 | 280544 | Болт М16х1,5-6gх45.109.40Х019 ГОСТ 7796-70 | |
| 52 | 312001-16-100-20СП(SP) | Крышка | |
| 52 | 312001-16-100СП(SP) | Крышка | |
| 53 | Кольцо130-135-36-2-51-1668 | Кольцо | |
| 54 | 46-60-392-07-20СП(SP) | Рукав | |
| 54 | 46-60-392-07СП(SP) | Рукав | |
| 55 | 2001-16-111-01СП(SP) | Торсион | |
| 56 | 325580 | Штифт | |
| 57 | Кольцо034-038-25-2-51-1668 | Кольцо | |
| 58 | 404-26-213-24-20СП(SP) | Рукав | |
| 58 | 404-26-213-24СП(SP) | Рукав | |
| 59 | Кольцо012-016-25-2-51-1668 | Кольцо | |
| 60 | 5001-26-78-20 | Штуцер ввертной | |
| 60 | 5001-26-78 | Штуцер ввертной | |
| 61 | Кольцо055-065-58-2-51-1668 | Кольцо | |
| 63 | 580665 | Кольцо С70 ГОСТ 13941-86 | |
| 64 | Кольцо049-055-36-2-51-1668 | Кольцо | |
| 64 | 315186-20 | Шайба | |
| 64 | 315186 | Шайба |
Содержащиеся в справочниках-каталогах запасные части и детали не предлагаются к продаже, а носят исключительно информационный характер