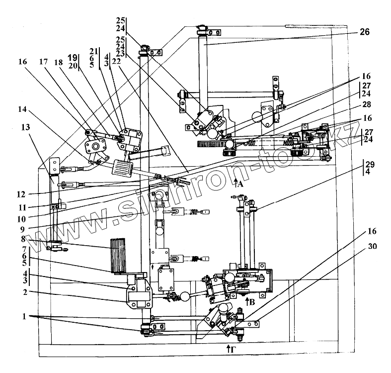
Каталог запасных частей к технике: Промтрактор Шасси ТП-20.02. Привод управления
312001-13-50-02-20СП(SP)
312001-13-50-02СП(SP)
1
1
2
2
3
3
4
4
4
5
5
6
6
7
7
8
9
9
10
10
11
11
12
12
13
13
14
14
16
16
16
16
17
18
19
19
20
21
22
22
23
23
24
24
24
24
25
25
26
26
27
27
28
29
29
30
30
| Позиция на иллюстрации | Заводской номер детали | Название детали | |
|---|---|---|---|
| 312001-13-50-02-20СП(SP) | 312001-13-50-02-20СП(SP) | Привод управления | |
| 312001-13-50-02СП(SP) | 312001-13-50-02СП(SP) | Привод управления | |
| 1 | 312001-13-136-20СП(SP) | Тяга | |
| 1 | 312001-13-136СП(SP) | Тяга | |
| 2 | 312001-13-20СП(SP) | Корпус | |
| 2 | 312001-13-20-20СП(SP) | Корпус | |
| 3 | Шайба10ОТ | Шайба 10 ОТ | |
| 4 | БолтМ10-6gх30 | Болт М10-6gх30 | |
| 5 | 340350 | Шпонка 5х7,5 ГОСТ 24071-80 | |
| 6 | БолтМ8-6gх30 | Болт М8-6gх30 | |
| 7 | 3501-13-138СП(SP) | Педаль | |
| 7 | 3501-13-138-20СП(SP) | Педаль | |
| 8 | 400359-01 | Накладка педали | |
| 9 | 312001-13-120СП(SP) | Мостик | |
| 9 | 312001-13-120-20СП(SP) | Мостик | |
| 10 | 300220-20 | Гайка М12х1,25-6Н.04.029 ГОСТ 15522-70 | |
| 10 | 300220 | Гайка М12х1,25-6Н.04.019 ГОСТ 15522-70 | |
| 11 | 2501-13-96-20 | Растяжка | |
| 11 | 2501-13-96 | Растяжка | |
| 12 | 700-38-2742-01 | Пружина | |
| 12 | 700-38-2742-01-20 | Пружина | |
| 13 | 312001-13-39-20СП(SP) | Мостик | |
| 13 | 312001-13-39СП(SP) | Мостик | |
| 14 | 312001-13-65СП(SP) | Тяга | |
| 14 | 312001-13-65-20СП(SP) | Тяга | |
| 16 | ГайкаМ6 | Гайка | |
| 17 | 3501-13-202СП(SP) | Мостик | |
| 18 | 3501-13-200СП(SP) | Тяга | |
| 19 | 404-13-269-20 | Ось | |
| 19 | 404-13-269 | Ось | |
| 20 | Шплинт3,2х14 | Шплинт 3,2х14 | |
| 21 | 3501-13-255-01СП(SP) | Педаль | |
| 22 | 312001-13-40-20СП(SP) | Тяга | |
| 22 | 312001-13-40СП(SP) | Тяга | |
| 23 | 310150 | Шайба 8.01.08кп.019 ГОСТ 11371-78 | |
| 23 | 310150-20 | Шайба 8.01.08кп.0221 ГОСТ 11371-78 | |
| 24 | Шайба8Т | Шайба 8Т | |
| 25 | БолтМ8-6gх45 | Болт М8-6gх45 | |
| 26 | 312001-13-119-20СП(SP) | Мостик | |
| 26 | 312001-13-119СП(SP) | Мостик | |
| 27 | БолтМ8-6gх25 | Болт М8-6gх25 | |
| 28 | 3501-13-218СП(SP) | Тяга | |
| 29 | 280250 | Болт М10-6gх40 | |
| 29 | 280250-20 | Болт М10-6gх40 | |
| 30 | 312001-13-110-20СП(SP) | Мостик | |
| 30 | 312001-13-110СП(SP) | Мостик |
Содержащиеся в справочниках-каталогах запасные части и детали не предлагаются к продаже, а носят исключительно информационный характер