Каталог запасных частей к технике: Промтрактор Шасси ТП-20.02. Кабина
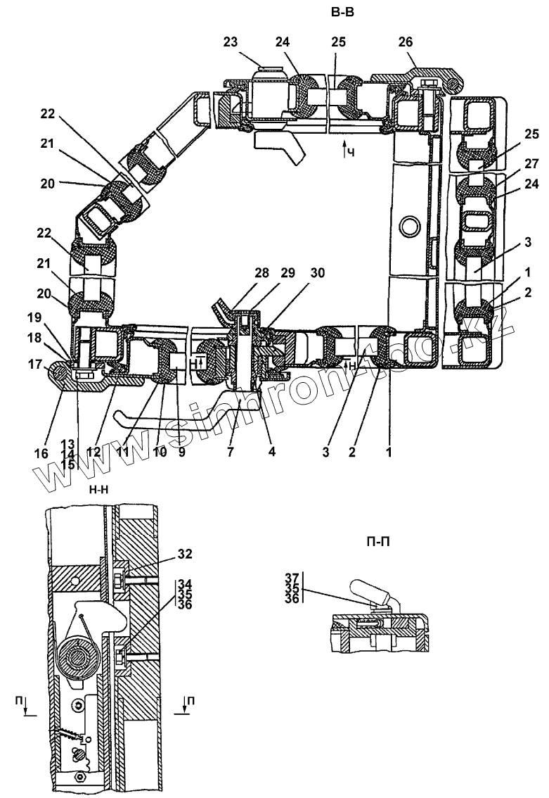
1
1
2
2
3
3
4
7
7
9
10
11
12
13
13
14
15
15
16
16
17
17
18
18
19
19
20
20
21
21
22
22
23
24
24
25
25
26
26
27
28
28
29
32
32
34
35
35
36
36
36
37
| Позиция на иллюстрации | Заводской номер детали | Название детали | |
|---|---|---|---|
| 1 | 2501-59-73-05 | Окантовка | |
| 2 | 46-59-419-04 | Кант №23 | |
| 3 | ТТ2501-59-111СП(SP) | Стеклопакет СПТК | |
| 4 | ТУ4980-001-05786040-2005 | Замок правый А1.2501-59-25 | |
| 7 | 2501-59-134СП(SP) | Ручка | |
| 7 | 2501-59-134-20СП(SP) | Ручка | |
| 9 | 2501-59-118СП(SP) | Стеклопакет СПКТ ТУ21-0287200-005-91 | |
| 10 | 46-59-419-01 | Кант №23 | |
| 11 | 2501-59-73-01 | Окантовка | |
| 12 | 400-460 | Уплотнитель двери | |
| 13 | 280535 | Болт М16х1,5-6gх38.109.40Х.019 ГОСТ 7796-70 | |
| 13 | 280535-20 | Болт М16х1,5-6gх38.109.40Х.029 ГОСТ 7796-70 | |
| 14 | Шайба16.ОТ | Шайба | |
| 15 | 310270-20 | Шайба 16.01.20.0221 ГОСТ 11371-78 | |
| 15 | 310270 | Шайба 16.01.20.019 ГОСТ 11371-78 | |
| 16 | ТТ2501-59-140-01-20СП(SP) | Дверь | |
| 16 | ТТ2501-59-140-01СП(SP) | Дверь | |
| 17 | 2501-59-105-20 | Стержень | |
| 17 | 2501-59-105 | Стержень | |
| 18 | 46-59-245СП(SP) | Створка | |
| 18 | 46-59-245-20СП(SP) | Створка | |
| 19 | 401-59-422 | Планка | |
| 19 | 401-59-422-20 | Планка | |
| 20 | 46-59-419-02 | Кант №23 | |
| 21 | 2501-59-73-06 | Окантовка | |
| 22 | ТТ2501-59-110СП(SP) | Стеклопакет СПТК | |
| 23 | А1.312001-59-108 | Ось | |
| 24 | 2501-59-73-04 | Окантовка | |
| 25 | ТТ2501-59-112СП(SP) | Стеклопакет СПТК | |
| 26 | 312001-59-107-20СП(SP) | Форточка | |
| 26 | 312001-59-107СП(SP) | Форточка | |
| 27 | 46-59-419 | Кант №23 | |
| 28 | 2501-59-135-20СП(SP) | Ручка | |
| 28 | 2501-59-135СП(SP) | Ручка | |
| 29 | А1.2501-59-102 | Винт А1.2501-59-102 | |
| 32 | А1.2501-59-103 | Планка А1.2501-59-103 | |
| 34 | БолтМ8-6gх30 | Болт М8-6gх30 | |
| 35 | Шайба8Т | Шайба 8Т | |
| 36 | 310150 | Шайба 8.01.08кп.019 ГОСТ 11371-78 | |
| 36 | 310150-20 | Шайба 8.01.08кп.0221 ГОСТ 11371-78 | |
| 37 | БолтМ8-6gх20 | Болт М8-6gх20 |
Содержащиеся в справочниках-каталогах запасные части и детали не предлагаются к продаже, а носят исключительно информационный характер