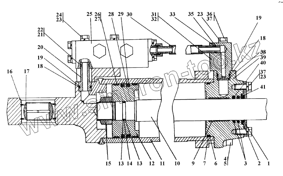
Каталог запасных частей к технике: Промтрактор Шасси ТП-20.02. Гидроцилиндр 160
312002-26-80-20СП(SP)
312002-26-80СП(SP)
1
2
3
4
4
5
6
7
9
10
10
11
12
13
13
14
15
16
16
17
18
18
19
19
20
20
21
22
23
23
23
24
24
25
25
26
27
28
29
30
30
31
31
32
32
33
35
36
36
37
37
37
38
39
40
41
| Позиция на иллюстрации | Заводской номер детали | Название детали | |
|---|---|---|---|
| 312002-26-80-20СП(SP) | 312002-26-80-20СП(SP) | Гидроцилиндр d.160 | |
| 312002-26-80СП(SP) | 312002-26-80СП(SP) | Гидроцилиндр d.160 | |
| 1 | 312001-26-108 | Скребок | |
| 2 | 2501-93-506-04СП | Грязесъемник 3-d | |
| 3 | Кольцо070-080-58-2-51-1668 | Кольцо 070-080-58-2-51-1668 | |
| 4 | 280945 | Болт М30х2-6gх110.109.40Х019 ГОСТ 7796-70 | |
| 4 | 280945-20 | Болт М30х2-6gх110.109.40Х029 ГОСТ 7796-70 | |
| 5 | Шайба30 | Шайба 30 | |
| 6 | 2601-26-27 | Шайба защитная | |
| 7 | Кольцо150-160-58-2-51-1668 | Кольцо 150-160-58-2-51-1668 | |
| 9 | 312001-26-111 | Кольцо штоковое | |
| 10 | 011501-93-601-15-20 | Шток | |
| 10 | 011501-93-601-15 | Шток | |
| 11 | 312002-26-81СП(SP) | Корпус | |
| 12 | 012001-97-568-01 | Поршень | |
| 13 | 46-93-607-02 | Кольцо защитное | |
| 14 | Кольцо040-048-46-2-51-1668 | Кольцо 040-048-46-2-51-1668 | |
| 15 | 312001-26-110-01 | Гайка специальная | |
| 16 | 700-58-2278-10 | Кольцо С90 | |
| 16 | 700-58-2278-20 | Кольцо С90 | |
| 17 | ШСЛ-60 | Подшипник ШСЛ-60 | |
| 18 | Кольцо032-038-36-2-51-1668 | Кольцо | |
| 19 | 2501-98-550 | Кольцо защитное | |
| 20 | 011501-93-617 | Втулка | |
| 20 | 011501-93-617-20 | Втулка | |
| 21 | 2501-93-561 | Кольцо защитное | |
| 22 | Кольцо022-026-25-2-51-1668 | Кольцо | |
| 23 | Шайба16.ОТ | Шайба | |
| 24 | 280570-20 | Болт М16х1,5-6gх105.88.40Х029 ГОСТ 7795-70 | |
| 24 | 280570 | Болт М16х1,5-6gх105.88.40Х019 ГОСТ 7795-70 | |
| 25 | 312501-26-24СП | Гидрозамок | |
| 25 | 312501-26-24-20СП | Гидрозамок | |
| 26 | Е21Т-160-15-4,0 | Кольцо опорно-направляющее поршневое Е21Т-160-15-4,0 | |
| 27 | 46-26-1509 | Втулка опорная | |
| 28 | 46-26-1512 | Кольцо уплотнительное | |
| 29 | Кольцо140-155-85-2-51-1668 | Кольцо 140-155-85-2-51-1668 | |
| 30 | 312002-26-83СП | Трубопровод | |
| 30 | 312002-26-83-20СП | Трубопровод | |
| 31 | 312002-26-100 | Угольник | |
| 31 | 312002-26-100-20 | Угольник | |
| 32 | 312002-26-101-20 | Угольник | |
| 32 | 312002-26-101 | Угольник | |
| 33 | 312002-26-106 | Кольцо защитное | |
| 35 | Кольцо016-020-25-2-51-1668 | Кольцо 016-020-25-2-51-1668 | |
| 36 | 280568 | Болт М16х1,5-6gх90 | |
| 36 | 280568-20 | Болт М16х1,5-6gх90 | |
| 37 | 280535-20 | Болт М16х1,5-6gх38.109.40Х.029 ГОСТ 7796-70 | |
| 37 | 280535-20 | Болт М16х1,5-6gх38.109.40Х.029 ГОСТ 7796-70 | |
| 38 | 312002-26-105 | Втулка | |
| 39 | 012001-97-567 | Крышка | |
| 40 | 1501-26-630-01 | Кольцо уплотнительное | |
| 41 | 312001-26-109-01 | Кольцо уплотнительное |
Содержащиеся в справочниках-каталогах запасные части и детали не предлагаются к продаже, а носят исключительно информационный характер