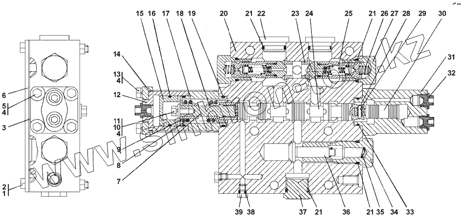
Каталог запасных частей к технике: Промтрактор ПК-60.01. 0602-26-45СП Распределитель
0602-26-45-20СП
0602-26-45СП
1
1
2
2
3
4
4
4
5
5
6
7
8
9
10
10
11
12
13
13
14
15
16
17
17
18
19
20
21
21
21
21
22
22
23
24
25
25
26
26
27
28
29
30
31
32
32
33
34
35
35
36
37
37
38
39
39
| Позиция на иллюстрации | Заводской номер детали | Название детали | |
|---|---|---|---|
| 0602-26-45-20СП | 0602-26-45-20СП | Распределитель | |
| 0602-26-45СП | 0602-26-45СП | Распределитель | |
| 1 | 30 0215-01 | Гайка М12x1,25 | |
| 1 | 0 0215-01-20 | Гайка М12x1,25 | |
| 2 | 28 089 | Болт 3М12x1,25-6gx100 | |
| 2 | 28 0389-20 | Болт ЗМ12х1,25-6gх100 ГОСТ 7796-70 | |
| 3 | 45 0263 | Прокладка | |
| 4 | Шайба 10 ОТ | Шайба 10 ОТ | |
| 5 | 28 0250 | Болт М10-6gх40 ГОСТ 7796-70 | |
| 5 | 28 0250-20 | Болт М10-6gх40 ГОСТ 7796-70 | |
| 6 | 2001-26-165 | Крышка | |
| 7 | 2001-26-156 | Хвостовик | |
| 8 | 38 5735 | Пружина | |
| 9 | 2001-26-160 | Втулка | |
| 10 | 31 0170 | Шайба 10 ГОСТ 11371-78 | |
| 10 | 31 0170-20 | Шайба 10.01.10.0221 ГОСТ 11 371-78 | |
| 11 | Болт М10-6gx20 | Болт М10-6gx20 | |
| 12 | 0602-26-6 | Стакан | |
| 13 | 28 0295-20 | Болт М10-6gx140 | |
| 13 | 28 0295 | Болт М10-6gx140 | |
| 14 | 0602-26-3 | Фланец | |
| 15 | 0602-26-11 | Поршень | |
| 16 | 042-050-46-2-51-1668 | Кольцо ГОСТ 18829-73/ТУ 38.005.204-84 | |
| 17 | 0602-26-47-20СП | Втулка | |
| 17 | 0602-26-47СП | Втулка | |
| 18 | 2001-26-159 | Втулка | |
| 19 | 045-050-30-2-51-1668 | Кольцо ГОСТ 9833-73/ГОСТ 18829-73 | |
| 20 | 0602-26-1-01 | Корпус | |
| 21 | 032-038-36-2-51-1668 | Кольцо ГОСТ 18829-73/ТУ 38.005.204-84 | |
| 22 | 2501-26-150 | Заглушка | |
| 22 | 2501-26-150-20 | Заглушка | |
| 23 | 0602-26-10 | Седло | |
| 24 | 311102-26-37СП | Золотник | |
| 25 | 0602-26-46-20СП | Клапан предохранительный | |
| 25 | 0602-26-46СП | Клапан предохранительный | |
| 26 | 700-38-2280 | Пружина | |
| 26 | 700-38-2280-20 | Пружина | |
| 27 | 0602-26-5 | Направляющая клапана | |
| 28 | 311102-26-17 | Кольцо | |
| 29 | 311102-26-16 | Палец | |
| 30 | 311102-26-15-01 | Плунжер | |
| 31 | 311102-26-14-01 | Фланец | |
| 32 | 44 0057 | Заглушка | |
| 32 | 44 0057-20 | Заглушка | |
| 33 | 039-045-36-2-51-1668 | Кольцо ГОСТ 18829-73/ТУ 38.005.204-84 | |
| 34 | 2001-26-147 | Направляющая клапана | |
| 35 | 700-38-2563 | Пружина | |
| 35 | 700-38-2563-20 | Пружина | |
| 36 | 2001-26-146 | Клапан | |
| 37 | 37 5952-20 | Пробка | |
| 37 | 37 5952 | Пробка | |
| 38 | 007-011-25-2-51-1668 | Кольцо ГОСТ 18829-73/ТУ 38.005.204-84 | |
| 39 | 37 5245 | Пробка | |
| 39 | 37 5245-20 | Пробка |
Содержащиеся в справочниках-каталогах запасные части и детали не предлагаются к продаже, а носят исключительно информационный характер