Вернуться на главную
Поиск
Каталоги запчастей к технике
Спецтехника
Промтрактор
ПК-60.01
0602-19-100СП Водило
Каталог запасных частей к технике: Промтрактор ПК-60.01. 0602-19-100СП Водило
zoom-in
zoom-out
enlarge
shrink
circle-right
circle-left
file-text2
info
cart
Тип техники
Не выбрано
Легковые автомобили
Грузовые автомобили и прицепы
Автобусы
Сельхозтехника
Спецтехника
Двигатели
Мототехника
Марка
Не выбрано
Ammann
BOMAG
CARMIX
CASE IH
Changlin
ChengGong
Dimex
Doosan
DYNAPAC
Foton
HAMM
Hidromek
Hitachi
Hyundai
JCB
JLG
John Deere
Komatsu
LIEBHERR
LiuGong
Lonking (LongGong)
Luneng
MANITOU
Mitsuber
New Holland
PENGPU
RM-Terex
SANY
SDLG
SEM
Shantui
Shehwa HBXG
Soosan
TIGARBO
VOGELE
Volvo
WAY
WIRTGEN
XCMG
XGMA
Xiamen
YTO
Yuchai
Zoomlion
Автокран
АЗСМ
Алтайлесмаш
Амкодор
АОМЗ
Атек
АТЗ
Балканкар Рекорд
БелАЗ
Беловеж
Борекс
Брянский Арсенал
Булат
ВЭКС
ГАЗ
Геомаш
Гидромаш
Донекс
Дормаш
Дормашина
Дорэлектромаш
ДЭЗ
ЕлАЗ
ЗЗГТ
Ижнефтемаш
Канаш-электрокар
КЗКТ
ККЗ
Клевер
Клинцовский автокрановый завод
КМЗ
КМЗ 1 Мая
Ковровец
Коммаш
Кранэкс
КЭЗ
КЭМЗ
ЛЗА
МАЗ
МЗИК
МЗКМ
МЗКТ
Михневский РМЗ
МоАЗ
Мозырский МЗ
МТЗ
ОЗП
Онежец
ПАО "ТЗА"
ППС Детва
Промтрактор
ПТЗ
Раскат
СпецАгрегат
ТВЭКС
ТТМ
УВЗ
Угличмаш
УЗТМ
ХТЗ
ЧЗКМ
ЧСДМ
ЧТЗ
ЭКСКО
ЭКСМАШ
ЮрМаш
Модель
Не выбрано
ПК-12.02 (2007)
ПК-12.02К (2007)
ПК-60.01 (2007)
Т-11.01К (2008)
Т-11.01Я
Т-11.02К (2008)
Т-11.02Я (2008)
Т-15.01К (2007)
Т-15.01Я (2000)
Т-15.02K (2009)
Т-15.02Я (2009)
Т-20.01К
Т-20.01Я (2000)
Т-20.01Я (2005) (2005)
Т-20.02К (Четра) (2009)
Т-20.02Я (Четра) (2009)
Т-25.01К1 (2008)
Т-25.01Я (2006)
Т-330 (2006)
Т-35.01К (2007)
Т-35.01Я
Т-40.01К (2008)
Т-50.01 (1998)
Т-500 (1999)
Т-9.01Я (2007)
ТГ-121Я (2004)
ТГ-221КМ (2006)
ТГ-221Я (2004)
ТГ-301К (2006)
ТГ-301Я (2004)
ТГ-302Я (2010)
ТГ-503К (2006)
ТГ-503Я (2006)
ТГ-511 (2008)
Шасси ТП-20.02 (2008)
Схема
>
Не выбрано
0602-59-1СП Кабина
0602-59-1СП Кабина
0602-61-1СП Установка защиты кабины
0602-111СП Кабина
0602-13-1СП Управление трактором
0602-13-1СП Управление трактором
0602-23-1СП Установка сиденья
0602-24-1СП Пол
0602-24-1СП Пол
0602-43-40СП Установка отопителя кабины
0602-53-50СП Установка отопителя кабины
0602-53-50СП Установка отопителя кабины
312001-57-2СП Установка вентиляторов кабины
0602-55-1СП Облицовка
0602-55-1СП Облицовка
0602-55-1СП Облицовка
0602-26-1-01СП Установка гидросистемы
0602-26-1-01СП Установка гидросистемы
0602-26-1-01СП Установка гидросистемы
0602-26-45-04СП Распределитель
0602-26-50-01СП Распределитель секционный
0602-26-52-01СП Пульт управления
0602-26-64СП Клапан
0602-01-1СП/-1-01СП Установка двигателя ЯМЗ-238НДЧ-1
0602-01-1СП/-1-01СП Установка двигателя ЯМЗ-238НДЧ-1
0602-01-1СП/-1-01СП Установка двигателя ЯМЗ-238НДЧ-1
Установка двигателя ЯМЗ-238НДЧ-1
0602-05-1СП Установка систем воздухоочистки и выпуска
46-05-359СП Воздухоочиститель
0602-25-1СП Установка топливного бака
0602-25-1СП Установка топливного бака
0602-25-10СП Бак топливный
0602-25-10СП Бак топливный
0602-43-1СП Установка системы подогрева
0602-43-1СП Установка системы подогрева
0602-43-1СП Установка системы подогрева
0602-54-1СП Установка пневмосистемы
0602-54-21СП Клапан
Система охлаждения двигателя и трансмиссии
Система охлаждения двигателя и трансмиссии
Система охлаждения двигателя и трансмиссии
311102-60-117СП Блок радиаторов
0602-11-1СП Рама
0602-11-1СП Рама
0602-21-1СП Колесо
0602-21-3СП Колесо
0602-16-1СП Установка трансмиссии
0602-16-1СП Установка трансмиссии
0602-12-1СП Блок трансмиссии
0602-12-1СП Блок трансмиссии
0602-12-9СП Коробка передач планетарная
0602-12-10СП Коробка перемены передач с системой гидроуправления
0602-12-11СП Редуктор согласующий
0602-12-11СП Редуктор согласующий
0602-12-15СП Тормоз стояночный
0602-12-100СП Бустер
0602-12-101СП Водило
0602-12-102СП Водило
0602-12-103СП Водило
0602-14-1СП Гидротрансформатор с редуктором привода насосов
0602-14-1СП Гидротрансформатор с редуктором привода насосов
0602-14-1СП Гидротрансформатор с редуктором привода насосов
4.12 0602-14-12СП Корпус с клапанами
2001-14-17СП Клапан
2601-15-10СП/-10-01СП Фильтр
0602-15-23СП Клапан стояночного тормоза
0602-15-25СП Блок управления
0602-15-27СП Клапан-модулятор
0602-15-37СП Клапан
0602-15-138СП Клапан
0602-15-139-01СП Клапан
0602-17-10СП Передача главная
0602-17-100СП Дифференциал
0602-18-1СП Мост передний
0602-18-2СП Мост задний
0602-18-2СП Мост задний
0602-18-20СП Балка
0602-18-21СП Балка
0602-19-10СП Редуктор колесный и тормоз
0602-19-100СП Водило
0602-19-101СП Тормоз
1102-20-10СП Корпус муфты
1102-20-101СП Муфта упругая
0602-49-10СП Опора промежуточная
25-14-124СП Клапан
61-4250010 Вал карданный
81-4250010 Вал карданный
81-4250010-10 Вал карданный
0602-26-1СП Установка гидросистемы
0602-26-1СП Установка гидросистемы
0602-26-1СП Установка гидросистемы
0602-28-1СП Гидросистема управления поворотом
0602-28-1СП Гидросистема управления поворотом
0602-28-1СП Гидросистема управления поворотом
2001-26-24СП Клапан предохранительный
311102-26-34 СП Клапан
0602-26-45СП Распределитель
0602-26-45-01СП Распределитель
0602-26-46СП Клапан предохранительный
0602-26-48СП Клапан
0602-26-49СП Клапан
0602-26-50СП Распределитель секционный
0602-26-51СП Клапан
0602-26-52СП Пульт управления
0602-26-60СП Бак гидросистемы
2701-28-3СП Клапан
0602-28-16СП Клапан
0602-28-17СП Клапан
0602-28-20СП Клапан
0602-28-26СП Реле давления нижнего предела
0602-28-90 СП Гидроцилиндр диам.100
0602-10-1СП Электрооборудование
0602-10-1СП Электрооборудование
0602-10-11СП Установка электрооборудования на раме
0602-10-11СП Установка электрооборудования на раме
2002-10-12-02СП Электрооборудование двигателя
2002-10-12-02СП Электрооборудование двигателя
0602-10-14СП Установка электрооборудования в контейнере АКБ
0602-10-16СП Электрооборудование передней полурамы
0602-10-17СП Электрооборудование гидравлического бака
0602-10-19СП Электрооборудование коробки передач
0602-10-21СП Электрооборудование подогревателя ПЖД30Г
410602-91-1СП Установка лесопогрузочного оборудования
410602-91-1СП Установка лесопогрузочного оборудования
410602-91-10СП Вилы лесопогрузочные
410602-91-500СП Гидросистема лесопогрузочного оборудования
410602-91-500СП Гидросистема лесопогрузочного оборудования
410602-91-507СП Гидрозамок
410602-92-90-01СП Стрела
410602-92-90-01СП Стрела
3501-26-65СП Пилот управления
01101-97-543-02СП Гидроцилиндр
410602-92-2СП Установка погрузочного оборудования
410602-92-2СП Установка погрузочного оборудования
410602-92-20СП Ковш
410602-92-90СП/90-01СП Стрела
Стрела
410602-94-1СП Установка погрузочного оборудования
410602-94-1СП Установка погрузочного оборудования
410602-94-20СП Ковш
410602-95-1СП Установка гидроцилиндров погрузочного оборудования
410602-95-1СП Установка гидроцилиндров погрузочного оборудования
410602-95-1СП Установка гидроцилиндров погрузочного оборудования
410602-95-30СП Гидроцилиндр
410602-95-40СП Гидроцилиндр
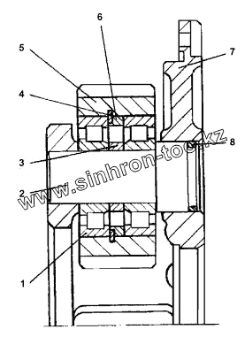
0602-19-100СП
0602-19-100-20СП
1
2
3
4
5
6
7
8
Позиция на иллюстрации
Заводской номер детали
Название детали
0602-19-100СП
0602-19-100СП
Водило
0602-19-100-20СП
0602-19-100-20СП
Водило
1
42309
Подшипник 42309
2
0602-19-9
Ось специальная
3
0602-19-10
Втулка
4
58 0765
Кольцо С100
5
0602-19-5
Сателлит
6
0602-19-11
Втулка
7
0602-19-2 0602-19-2-20
Водило Водило
8
050-060-58-2-51-1668
Кольцо 050-060-58-2-51-1668
Содержащиеся в справочниках-каталогах запасные части и детали не предлагаются к продаже, а носят исключительно информационный характер
Дополнительная информация
×
Название:
Номер:
Примечание: