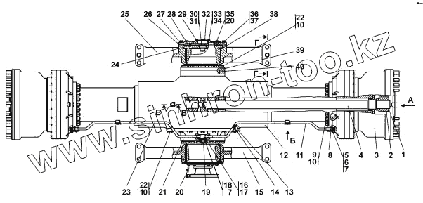
Каталог запасных частей к технике: Промтрактор ПК-60.01. 0602-18-2СП Мост задний
0602-18-2СП
1
2
3
3
4
5
5
6
7
7
8
9
10
10
10
11
11
12
12
13
14
15
15
16
17
18
18
19
20
20
21
21
22
22
23
23
24
25
25
26
27
27
28
29
30
31
32
33
34
35
36
37
38
39
39
40
| Позиция на иллюстрации | Заводской номер детали | Название детали | |
|---|---|---|---|
| 0602-18-2СП | 0602-18-2СП | Мост задний | |
| 1 | 580609 | Кольцо С60 ГОСТ 13940-86 | |
| 2 | 0602-19-4 | Шестерня | |
| 3 | 0602-19-10СП | Редуктор колесный и тормоз | |
| 3 | 0602-19-10-20СП | Редуктор колесный и тормоз | |
| 4 | 0602-18-22СП | Полуось | |
| 5 | 0602-18-16-20 | Штуцер | |
| 5 | 0602-18-16 | Штуцер | |
| 6 | 018-022-25-2-51-1668 | Кольцо ГОСТ 9833-73/ТУ 38.005.204-84 | |
| 7 | 1,0-0-С | Проволока 1,0-0-С | |
| 8 | 170-180-58-2-51-1668 | Кольцо 170-180-58-2-51-1668 | |
| 9 | 300285 | Гайка М16x1,5 | |
| 10 | 315271 | Шайба | |
| 11 | 0602-18-26СП | Трубопровод | |
| 11 | 0602-18-26-20СП | Трубопровод | |
| 12 | 0602-18-12СП | Балка | |
| 12 | 0602-18-12-20СП | Балка | |
| 13 | 325385 | Штифт | |
| 14 | 400468-08 | Кольцо | |
| 15 | 0602-18-20СП | Балка | |
| 15 | 0602-18-20-20СП | Балка | |
| 16 | Болт М12x1,25-6gx25 | Болт М12x1,25-6gx25 | |
| 17 | 310225 | Шайба | |
| 18 | 2601-18-26-20СП | Тройник | |
| 18 | 2601-18-26СП | Тройник | |
| 19 | 2501-26-295 | Заглушка | |
| 20 | 1,6-0-С | Проволока ГОСТ 3282-74 | |
| 21 | 0602-17-10-20СП | Передача главная | |
| 21 | 0602-17-10СП | Передача главная | |
| 22 | 280544 | Болт М16х1,5-6gх45.109.40Х019 ГОСТ 7796-70 | |
| 23 | 0602-18-25-20СП | Трубопровод | |
| 23 | 0602-18-25СП | Трубопровод | |
| 24 | 0602-18-8 | Шайба | |
| 25 | 0602-18-21СП | Балка | |
| 25 | 0602-18-21-20СП | Балка | |
| 26 | Автогерметик | Автогерметик-прокладка масло-бензостойкий | |
| 27 | 0602-18-9-20 | Крышка | |
| 27 | 0602-18-9 | Крышка | |
| 28 | 180-185-36-2-3 | Кольцо ГОСТ 9833-73/ГОСТ 18829-73 | |
| 29 | 082-088-36-2-3 | Кольцо 082-088-36-2-3 | |
| 30 | 2501-19-113СП | Пробка магнитная | |
| 31 | 045-050-30-2-51-1668 | Кольцо ГОСТ 9833-73/ГОСТ 18829-73 | |
| 32 | 0602-18-20 | Крышка | |
| 33 | Болт М8-6gx16 | Болт М8-6gx16 | |
| 34 | Шайба 8Т | Шайба 8Т | |
| 35 | 280545 | Болт 3М16х1,5-6gх45.109.40Х019 ГОСТ 7796-70 | |
| 36 | 280506 | Болт М14x1,5-6gx35 | |
| 37 | 315220 | Шайба | |
| 38 | 0602-18-7 | Шайба | |
| 39 | 0602-18-3-20 | Опора | |
| 39 | 0602-18-3 | Опора | |
| 40 | 230-240-58-2-3 | Кольцо 230-240-58-2-3 |
Содержащиеся в справочниках-каталогах запасные части и детали не предлагаются к продаже, а носят исключительно информационный характер