Каталог запасных частей к технике: Промтрактор ПК-12.02К. Установка приборов пола кабины
1
1
2
3
4
4
5
6
7
8
8
8
9
9
10
11
12
13
14
14
15
16
16
17
17
17
18
18
18
19
19
19
20
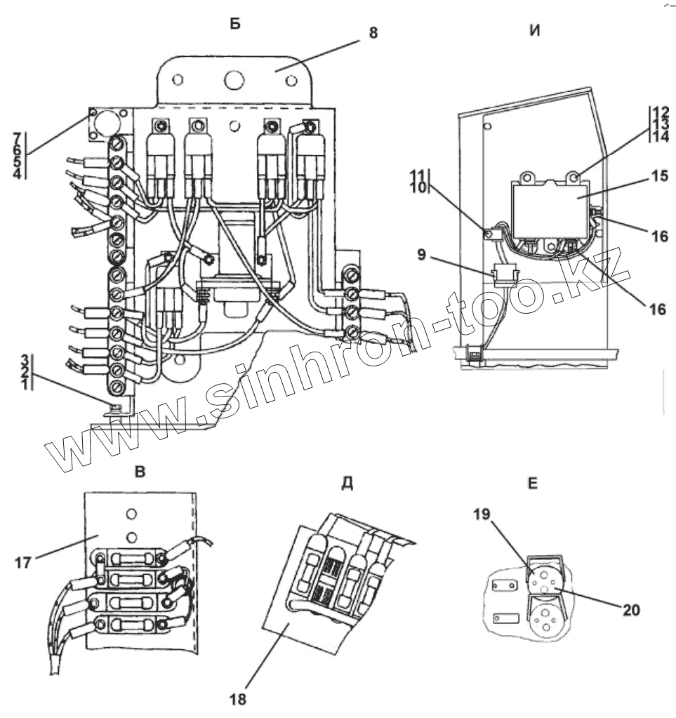
| Позиция на иллюстрации | Заводской номер детали | Название детали | |
|---|---|---|---|
| 1 | 310110-20 | Шайба 6.01.08кп.0221 ГОСТ 11371-78 | |
| 1 | 310110 | Шайба 6.01.08кп.019 ГОСТ 11371-78 | |
| 2 | ГОСТ6402-70 | Шайба | |
| 3 | ГОСТ7798-70 | Болт | |
| 4 | 310020 | Шайба 3.01.08кп.019 ГОСТ 11371-78 | |
| 4 | 310020-20 | Шайба 3.01.08кп.0221 ГОСТ 6402-70 | |
| 5 | ГОСТ6402-70 | Шайба | |
| 6 | ГОСТ5927-70 | Гайка | |
| 7 | ГОСТ17473-80 | Винт | |
| 8 | 2706-10-100СП(SP) | Блок реле | |
| 8 | 2706-10-100-10СП(SP) | Блок реле | |
| 8 | 2706-10-100-20СП(SP) | Блок реле | |
| 9 | 2702-10-174-01СП(SP) | Жгут | |
| 9 | 2702-10-174-01-20СП-20SP | Жгут | |
| 10 | 700-40-6684-06 | Прокладка | |
| 11 | 415119 | Хомутик | |
| 12 | ГОСТ7796-70 | Болт | |
| 13 | ГОСТ6402-70 | Шайба | |
| 14 | 310150 | Шайба 8.01.08кп.019 ГОСТ 11371-78 | |
| 14 | 310150-20 | Шайба 8.01.08кп.0221 ГОСТ 11371-78 | |
| 15 | ПН24/12,3 | Преобразователь | |
| 16 | 700-40-5607 | Наконечник | |
| 17 | 2702-10-130-01СП(SP) | Панель | |
| 17 | 2702-10-130-01-10СП-10SP | Панель | |
| 17 | 2702-10-130-01-20СП-20SP | Панель | |
| 18 | 2601-10-132-03СП(SP) | Панель предохранителей | |
| 18 | 2601-10-132-03-10СП-10SP | Панель предохранителей | |
| 18 | 2601-10-132-03-20СП-20SP | Панель предохранителей | |
| 19 | 3424913021 | Розетка штепсельная 47К УХЛ2 | |
| 19 | 3424913022 | Розетка штепсельная 47К У2 | |
| 19 | 3424913023 | Розетка штепсельная 47К Т2 | |
| 20 | ГОСТ17475-80 | Винт |
Содержащиеся в справочниках-каталогах запасные части и детали не предлагаются к продаже, а носят исключительно информационный характер