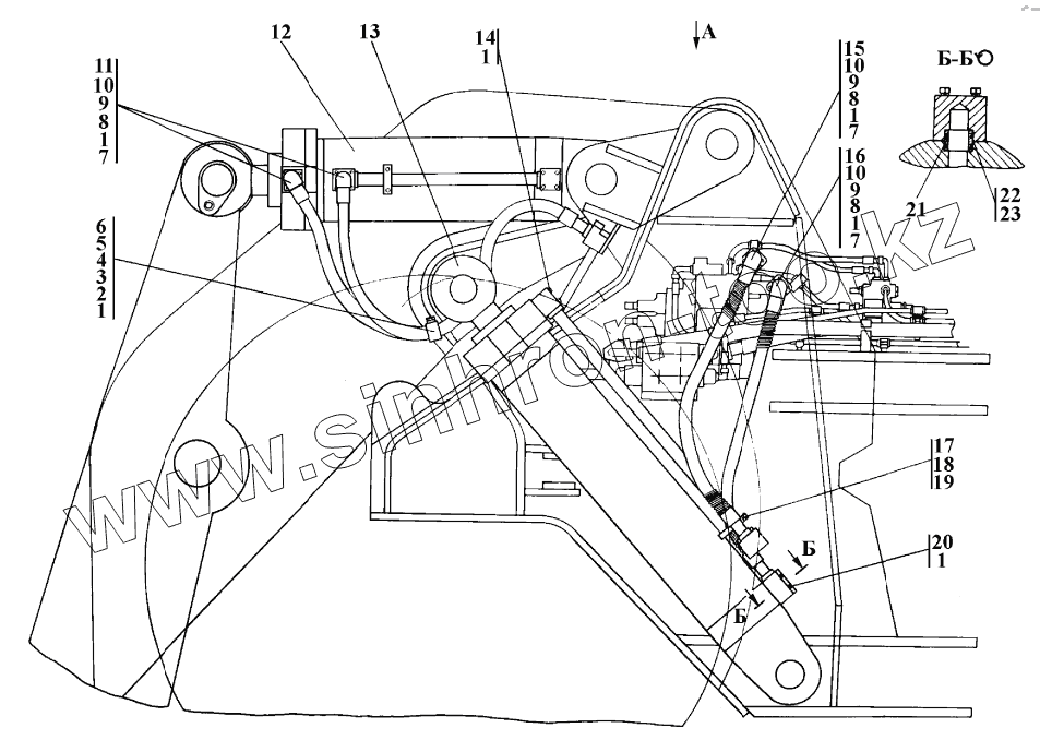
Каталог запасных частей к технике: Промтрактор ПК-12.02К. Установка гидроцилиндров погрузочного оборудования
412701-95-1-20СП(SP)
412701-95-1СП(SP)
1
1
1
1
1
1
2
2
3
3
4
5
5
6
6
7
7
7
8
8
8
9
9
9
9
10
10
10
10
11
11
12
12
13
13
14
14
15
15
16
16
17
17
18
18
19
20
20
21
22
23
| Позиция на иллюстрации | Заводской номер детали | Название детали | |
|---|---|---|---|
| 412701-95-1-20СП(SP) | 412701-95-1-20СП(SP) | Установка гидроцилиндров погрузочного оборудования | |
| 412701-95-1СП(SP) | 412701-95-1СП(SP) | Установка гидроцилиндров погрузочного оборудования | |
| 1 | ГОСТ6402-70 | Шайба | |
| 2 | 300270 | Гайка М16х1,5-6Н.12.40Х019 ГОСТ 15521-70 | |
| 2 | 300270-20 | Гайка М16х1,5-6Н.12.40Х029 ГОСТ 15521-70 | |
| 3 | 280535 | Болт М16х1,5-6gх38.109.40Х.019 ГОСТ 7796-70 | |
| 3 | 280535-20 | Болт М16х1,5-6gх38.109.40Х.029 ГОСТ 7796-70 | |
| 4 | 400354-04 | Втулка | |
| 5 | 2501-26-221 | Планка | |
| 5 | 2501-26-221-20 | Планка | |
| 6 | 2501-26-220-20 | Скоба | |
| 6 | 2501-26-220 | Скоба | |
| 7 | ТУ2531-260-00149245-00 | Кольцо | |
| 8 | 440005 | Шайба защитная | |
| 9 | 3502-20-4 | Винт | |
| 9 | 3502-20-4-20 | Винт | |
| 10 | 46-26-280 | Фланец | |
| 10 | 46-26-280-20 | Фланец | |
| 11 | 3502-26-108-14СП(SP) | Рукав | |
| 11 | 3502-26-108-14-20СП-20SP | Рукав | |
| 12 | 412701-95-20СП(SP) | Гидроцилиндр | |
| 12 | 412701-95-20-20СП-20SP | Гидроцилиндр | |
| 13 | 412701-95-10СП(SP) | Гидроцилиндр | |
| 13 | 412701-95-10-20СП-20SP | Гидроцилиндр | |
| 14 | 280568 | Болт М16х1,5-6gх90 | |
| 14 | 280568-20 | Болт М16х1,5-6gх90 | |
| 15 | 3501-26-173-08СП(SP) | Рукав армированный | |
| 15 | 3501-26-173-08-20СП-20SP | Рукав армированный | |
| 16 | 412701-95-3СП(SP) | Рукав высокого давления | |
| 16 | 412701-95-3-20СП(SP) | Рукав высокого давления | |
| 17 | 412701-95-90 | Бугель | |
| 17 | 412701-95-90-20 | Бугель | |
| 18 | 280365 | Болт М12х1,25-6gх50.88.40Х.019 ГОСТ 7796-70 | |
| 18 | 280365-20 | Болт М12х1,25-6gх50.88.40Х.029 ГОСТ 7796-70 | |
| 19 | ГОСТ6402-70 | Шайба | |
| 20 | 280570 | Болт М16х1,5-6gх105.88.40Х019 ГОСТ 7795-70 | |
| 20 | 280570-20 | Болт М16х1,5-6gх105.88.40Х029 ГОСТ 7795-70 | |
| 21 | 46-26-646 | Втулка | |
| 22 | 700-40-6307 | Шайба защитная | |
| 23 | ТУ2531-260-00149245-00 | Кольцо |
Содержащиеся в справочниках-каталогах запасные части и детали не предлагаются к продаже, а носят исключительно информационный характер