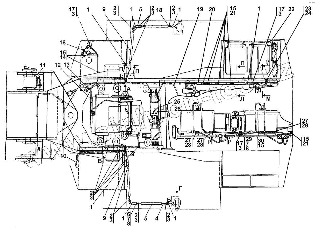
Каталог запасных частей к технике: Промтрактор ПК-12.02К. Установка электрооборудования на раме
2702-10-11-05-10СП-10SP
2702-10-11-05СП(SP)
2702-10-11-05-20СП-20SP
1
1
1
1
1
1
1
2
2
2
2
2
2
2
3
3
3
3
3
3
3
3
3
3
4
4
5
5
5
6
7
7
8
8
8
9
9
9
10
10
11
11
11
12
12
13
13
14
15
15
15
15
16
16
17
17
17
18
18
19
19
20
20
21
21
22
22
22
23
24
25
25
26
26
27
27
27
28
28
28
29
30
| Позиция на иллюстрации | Заводской номер детали | Название детали | |
|---|---|---|---|
| 2702-10-11-05-10СП-10SP | 2702-10-11-05-10СП-10SP | Установка электрооборудования на раме | |
| 2702-10-11-05СП(SP) | 2702-10-11-05СП(SP) | Установка электрооборудования на раме | |
| 2702-10-11-05-20СП-20SP | 2702-10-11-05-20СП-20SP | Установка электрооборудования на раме | |
| 1 | 700-40-6695 | Кольцо | |
| 2 | 415090 | Хомутик | |
| 3 | 700-40-6684-06 | Прокладка | |
| 4 | 2601-10-114-01СП(SP) | Жгут | |
| 4 | 2601-10-114-01-20СП-20SP | Жгут | |
| 5 | 2601-10-9 | Кожух | |
| 5 | 2601-10-9-20 | Кожух | |
| 6 | ГОСТ7796-70 | Болт | |
| 7 | ГОСТ6402-70 | Шайба | |
| 8 | 310150 | Шайба 8.01.08кп.019 ГОСТ 11371-78 | |
| 8 | 310150-20 | Шайба 8.01.08кп.0221 ГОСТ 11371-78 | |
| 9 | 2601-10-9-02 | Кожух | |
| 9 | 2601-10-9-02-20 | Кожух | |
| 10 | 2601-10-17СП(SP) | Электрооборудование гидравлического бака | |
| 10 | 2601-10-17-20СП(SP) | Электрооборудование гидравлического бака | |
| 11 | 2702-10-16СП(SP) | Электрооборудование передней полурамы | |
| 11 | 2702-10-16-10СП(SP) | Электрооборудование передней полурамы | |
| 11 | 2702-10-16-20СП(SP) | Электрооборудование передней полурамы | |
| 12 | 2601-10-16-01СП(SP) | Электрооборудование коробки передач | |
| 12 | 2601-10-16-01-20СП-20SP | Электрооборудование коробки передач | |
| 13 | 2702-10-138СП(SP) | Жгут | |
| 13 | 2702-10-138-20СП(SP) | Жгут | |
| 14 | 700-41-2866 | Хомут | |
| 15 | 700-40-6684-04 | Прокладка | |
| 16 | 2601-10-121СП(SP) | Жгут | |
| 16 | 2601-10-121-20СП(SP) | Жгут | |
| 17 | 415119 | Хомутик | |
| 18 | 2601-10-109-01СП(SP) | Жгут | |
| 18 | 2601-10-109-01-20СП-20SP | Жгут | |
| 19 | 3506-10-12-03СП(SP) | Электрооборудование двигателя | |
| 19 | 3506-10-12-03-20СП-20SP | Электрооборудование двигателя | |
| 20 | 2702-10-3 | Кожух защитный | |
| 20 | 2702-10-3-20 | Кожух защитный | |
| 21 | 700-41-3179 | Хомутик | |
| 22 | 2702-10-19-10СП(SP) | Установка электрооборудование в контейнере АКБ | |
| 22 | 2702-10-19-20СП(SP) | Установка электрооборудования в контейнере АКБ | |
| 22 | 2702-10-19СП(SP) | Установка электрооборудования в контейнере АКБ | |
| 23 | 700-40-6684-02 | Прокладка | |
| 24 | 700-41-2548 | Хомутик | |
| 25 | 2702-10-131-58СП(SP) | Провод | |
| 25 | 2702-10-131-58-20СП-20SP | Провод | |
| 26 | 2702-10-131-57СП(SP) | Провод | |
| 26 | 2702-10-131-57-20СП-20SP | Провод | |
| 27 | 700-40-6684-05 | Прокладка | |
| 28 | 700-41-3312 | Хомутик | |
| 29 | ГОСТ7796-70 | Болт | |
| 30 | 415204 | Хомутик |
Содержащиеся в справочниках-каталогах запасные части и детали не предлагаются к продаже, а носят исключительно информационный характер