Каталог запасных частей к технике: Промтрактор ПК-12.02К. Рама
1
1
2
2
3
3
4
5
6
6
6
7
7
8
9
9
10
10
11
11
12
12
12
12
12
13
14
14
15
15
16
17
18
18
19
19
20
21
22
22
23
23
24
25
26
27
28
29
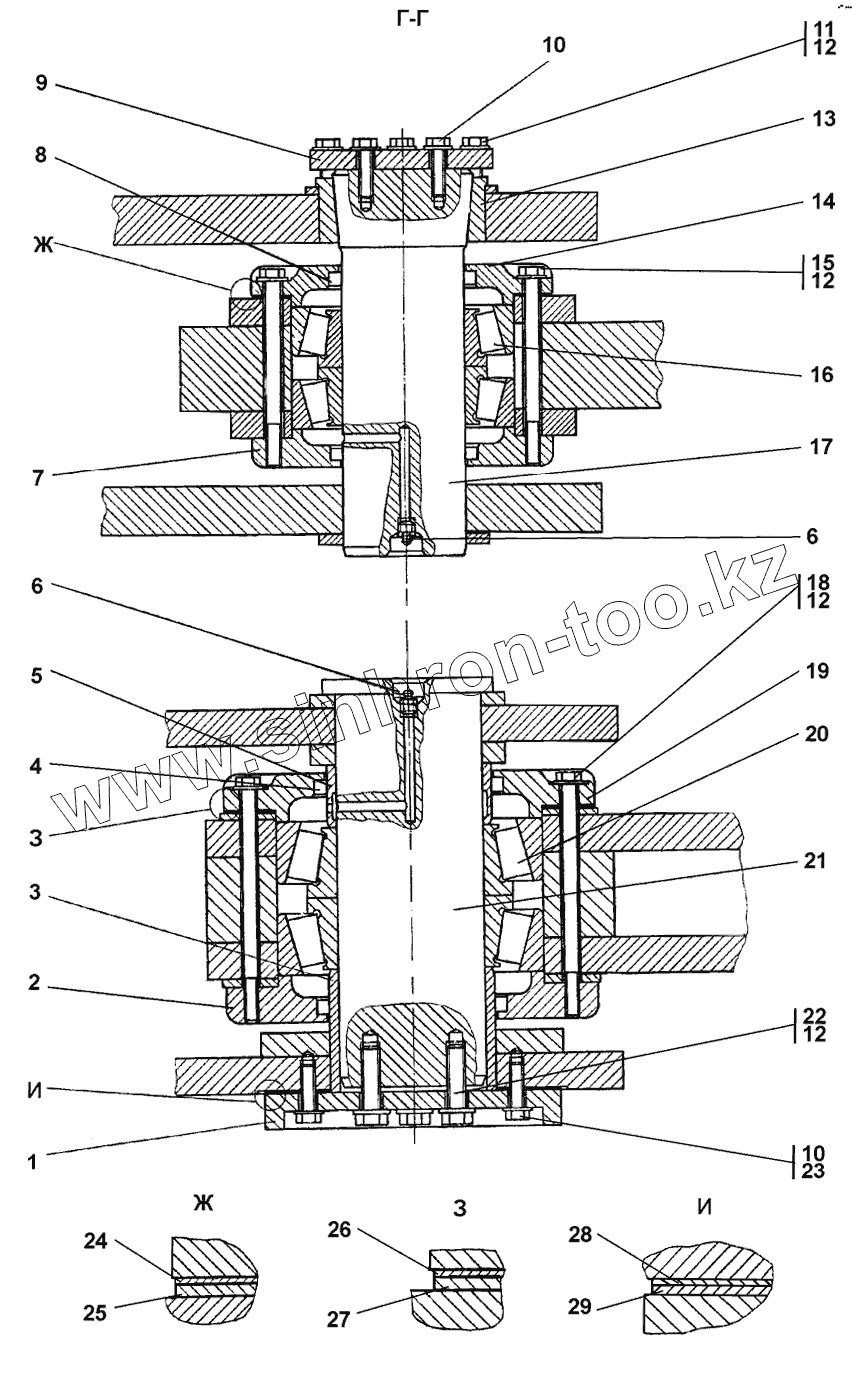
| Позиция на иллюстрации | Заводской номер детали | Название детали | |
|---|---|---|---|
| 1 | 2601-11-9-20 | Стопор | |
| 1 | 2601-11-9 | Стопор | |
| 2 | 2601-11-6-20 | Крышка | |
| 2 | 2601-11-6 | Крышка | |
| 3 | 2701-11-12 | Втулка | |
| 4 | 403-21-67СП(SP) | Манжета | |
| 5 | 2601-11-10 | Втулка | |
| 6 | ГОСТ19853-74 | Масленка | |
| 6 | ГОСТ19853-74 | Масленка | |
| 7 | 2601-11-4 | Крышка | |
| 7 | 2601-11-4-20 | Крышка | |
| 8 | 2501-21-69СП(SP) | Манжета | |
| 9 | 2601-11-8 | Планка | |
| 9 | 2601-11-8-20 | Планка | |
| 10 | ГОСТ7796-70 | Болт | |
| 11 | 280370 | Болт М12х1,25-6gх55.109.40Х019 ГОСТ 7795-70 | |
| 11 | 280370-20 | Болт М12х1,25-6gх55.109.40Х.029 ГОСТ 7795-70 | |
| 12 | 310225 | Шайба | |
| 12 | 310225-20 | Шайба | |
| 13 | 2601-11-7 | Втулка | |
| 14 | 2601-11-3-20 | Крышка | |
| 14 | 2601-11-3 | Крышка | |
| 15 | 281394 | Болт | |
| 15 | 281394-20 | Болт | |
| 16 | ТУ37.006.162-89 | Подшипник | |
| 17 | 2601-11-2 | Палец | |
| 18 | 280398 | Болт | |
| 18 | 280398-20 | Болт | |
| 19 | 2601-11-5 | Крышка | |
| 19 | 2601-11-5-20 | Крышка | |
| 20 | ТУ37.006.162-89 | Подшипник | |
| 21 | 2701-11-2 | Палец | |
| 22 | 280555 | Болт М16х1,5-6gх55.109.40Х019 ГОСТ 7796-70 | |
| 22 | 280555-20 | Болт М16х1,5-6gх55.109.40Х029 ГОСТ 7796-70 | |
| 23 | 310270 | Шайба 16.01.20.019 ГОСТ 11371-78 | |
| 23 | 310270-20 | Шайба 16.01.20.0221 ГОСТ 11371-78 | |
| 24 | 2601-11-13 | Прокладка | |
| 25 | 2601-11-13-01 | Прокладка | |
| 26 | 2601-11-14 | Прокладка | |
| 27 | 2601-14-01 | Прокладка | |
| 28 | 2601-11-12 | Прокладка | |
| 29 | 2601-11-12-01 | Прокладка |
Содержащиеся в справочниках-каталогах запасные части и детали не предлагаются к продаже, а носят исключительно информационный характер