Каталог запасных частей к технике: Промтрактор ПК-12.02К. Панель выключателей
2702-10-149-01СП(SP)
1
1
2
2
3
3
4
4
5
6
6
6
7
7
7
7
8
9
9
10
10
11
11
12
12
12
12
13
13
14
14
14
15
15
15
16
16
16
16
17
18
18
19
19
19
20
21
21
22
23
23
24
25
25
26
26
27
28
28
29
29
30
30
31
31
32
33
34
34
35
35
36
37
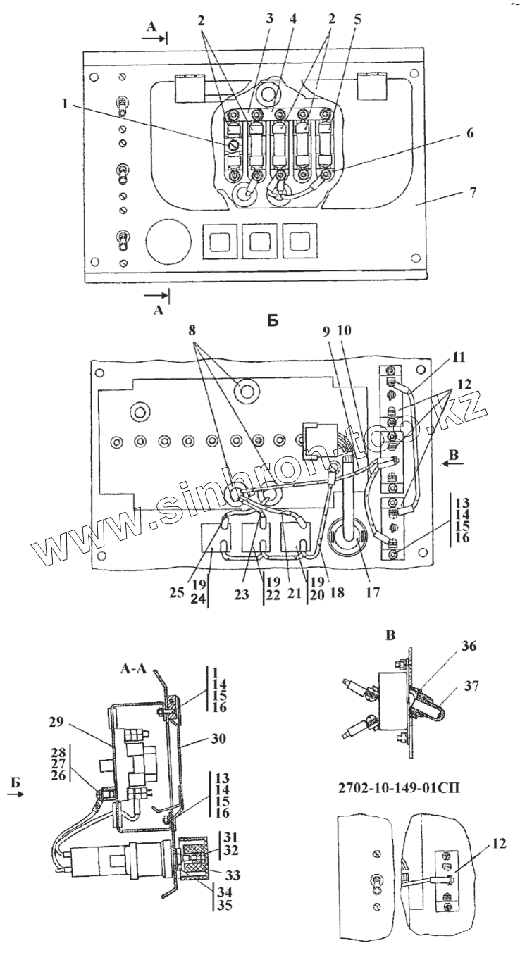
| Позиция на иллюстрации | Заводской номер детали | Название детали | |
|---|---|---|---|
| 2702-10-149-10СП(SP) | 2702-10-149-10СП(SP) | Панель выключателей | |
| 2702-10-149СП(SP) | 2702-10-149СП(SP) | Панель выключателей | |
| 2702-10-149-01-20СП-20SP | 2702-10-149-01-20СП-20SP | Панель выключателей | |
| 2702-10-149-01-10СП-10SP | 2702-10-149-01-10СП-10SP | Панель выключателей | |
| 2702-10-149-20СП(SP) | 2702-10-149-20СП(SP) | Панель выключателей | |
| 2702-10-149-01СП(SP) | 2702-10-149-01СП(SP) | Панель выключателей | |
| 1 | ГОСТ17475-80 | Винт | |
| 2 | 3424492031 | Предохранитель | |
| 3 | 3501-10-20 | Шинка | |
| 3 | 3501-10-20-20 | Шинка | |
| 4 | 3501-10-21 | Шинка | |
| 4 | 3501-10-21-20 | Шинка | |
| 5 | 3424492041 | Предохранитель | |
| 6 | ТУ16-522001-82 | Блоки защиты | |
| 6 | 3424430011 | Блок защиты | |
| 6 | 3424430012 | Блок защиты | |
| 7 | 2701-10-8-01-20 | Панель | |
| 7 | 2702-10-8-01 | Панель | |
| 7 | 2702-10-8-20 | Панель | |
| 7 | 2702-10-8 | Панель | |
| 8 | 700-40-6695 | Кольцо | |
| 9 | 2702-10-150СП(SP) | Провод | |
| 9 | 2702-10-150-20СП(SP) | Провод | |
| 10 | 404-10-180-47СП(SP) | Провод | |
| 10 | 404-10-180-47-20СП-20SP | Провод | |
| 11 | 2702-10-131-46СП(SP) | Провод | |
| 11 | 2702-10-131-46-20СП-20SP | Провод | |
| 12 | 3428277320 | Переключатель ППН-45 | |
| 12 | 3428277325 | Переключатель ППН-45 | |
| 12 | 3428277326 | Переключатель ППН-45Т | |
| 13 | ГОСТ17475-80 | Винт | |
| 14 | ГОСТ5927-70 | Гайка | |
| 15 | ГОСТ6402-70 | Шайба | |
| 16 | 310050 | Шайба 4.01.08кп.019 ГОСТ 11371-78 | |
| 16 | 310050-20 | Шайба 4.01.08кп.0221 ГСТ 11371-78 | |
| 17 | 671.3709 | Переключатель стеклоочистителя и стеклоомывателя 671.3709 | |
| 18 | 2702-10-151СП(SP) | Провод 110 | |
| 18 | 2702-10-151-20СП(SP) | Провод 110 | |
| 19 | 4573739094 | Колодка гнездовая 608608 | |
| 20 | 4573734911 | Выключатель унифицированный 3812.3710-02.06 | |
| 21 | 2702-10-150-03СП(SP) | Провод | |
| 21 | 2702-10-150-03-20СП-20SP | Провод | |
| 22 | 4573734794 | Выключатель унифицированный 3812.3710-02.07 | |
| 23 | 2702-10-150-04СП(SP) | Провод | |
| 23 | 2702-10-150-04-20СП-20SP | Провод | |
| 24 | 4573733097 | Выключатель унифицированный 3812.3710-02.51 | |
| 25 | 2702-10-150-01СП(SP) | Провод | |
| 25 | 2702-10-150-01-20СП-20SP | Провод | |
| 26 | 310110 | Шайба 6.01.08кп.019 ГОСТ 11371-78 | |
| 26 | 310110-20 | Шайба 6.01.08кп.0221 ГОСТ 11371-78 | |
| 27 | ГОСТ6402-70 | Шайба | |
| 28 | 350420 | Винт ВМ6-6gх8.58.019 ГОСТ 17473-80 | |
| 28 | 350420-20 | Винт ВМ6-6gх8.58.029 ГОСТ 17473-80 | |
| 29 | 404-10-425СП(SP) | Кронштейн | |
| 29 | 404-10-425-20СП(SP) | Кронштейн | |
| 30 | 404-10-309-02СП(SP) | Крышка | |
| 30 | 404-10-309-02-20СП-20SP | Крышка | |
| 31 | 405-10-36 | Втулка | |
| 31 | 405-10-36-20 | Втулка | |
| 32 | ГОСТ5927-70 | Гайка | |
| 33 | 405-10-34 | Ручка | |
| 34 | 300220 | Гайка М12х1,25-6Н.04.019 ГОСТ 15522-70 | |
| 34 | 300220-20 | Гайка М12х1,25-6Н.04.029 ГОСТ 15522-70 | |
| 35 | 310220 | Шайба 12х0,5.01.08кп.019 ГОСТ 11371-78 | |
| 35 | 310220-20 | Шайба 12х0,5.08кп.0221 ГОСТ 11371-78 | |
| 36 | 400410 | Манжета | |
| 37 | 3501-10-25 | Колпачок |
Содержащиеся в справочниках-каталогах запасные части и детали не предлагаются к продаже, а носят исключительно информационный характер