Каталог запасных частей к технике: Промтрактор ПК-12.02К. Гидросистема управления поворотом
1
1
1
1
2
2
2
2
3
3
4
4
5
5
5
6
6
6
7
7
7
7
8
8
8
8
8
9
9
10
10
11
11
12
12
13
13
14
14
15
15
16
16
17
17
18
18
18
19
19
20
20
20
21
21
22
23
23
24
24
25
26
26
27
27
28
28
29
30
30
31
32
32
33
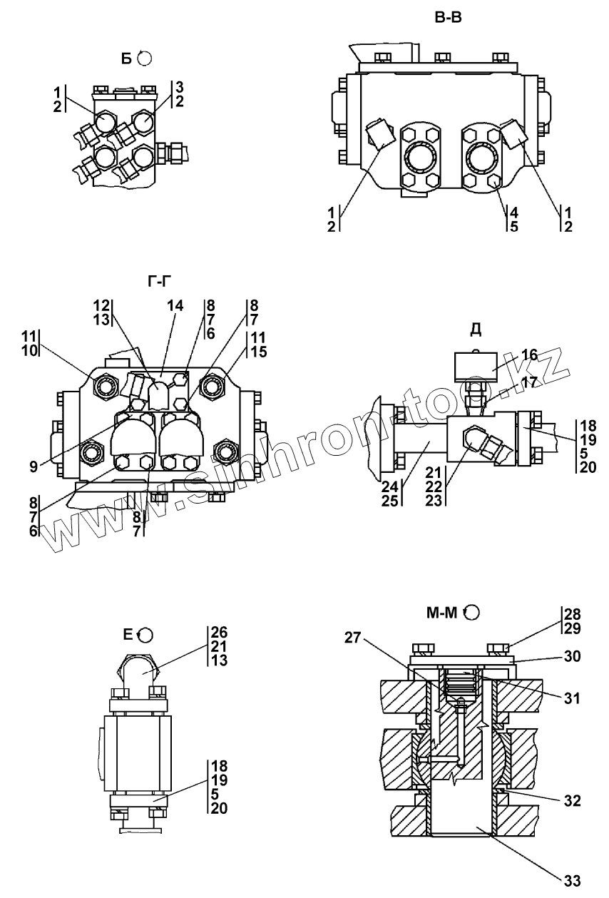
| Позиция на иллюстрации | Заводской номер детали | Название детали | |
|---|---|---|---|
| 1 | 0602-28-25-20СПК(SPК) | Угольник | |
| 1 | 0602-28-25СПК(SPК) | Угольник | |
| 2 | ТУ2531-260-00149245-00 | Кольцо | |
| 3 | 0602-28-25-01СПК(SPК) | Угольник | |
| 3 | 0602-28-25-01-20СПК(SPК) | Угольник | |
| 4 | 285010 | Болт | |
| 4 | 285010-20 | Болт | |
| 5 | ГОСТ6402-70 | Шайба | |
| 6 | 310170 | Шайба 10.01.10.019 ГОСТ 11371-78 | |
| 6 | 310170-20 | Шайба 10.01.10.0221 ГОСТ 11371-78 | |
| 7 | ГОСТ6402-70 | Шайба | |
| 8 | 285002-02 | Болт | |
| 8 | 285002-02-20 | Болт | |
| 9 | 0602-28-113-01К | Фланец | |
| 9 | 0602-28-113-01-20К | Фланец | |
| 10 | 2602-28-109-01 | Штуцер ввертной | |
| 10 | 2602-28-109-01-20 | Штуцер ввертной | |
| 11 | 0602-28-136-01К | Шайба специальная | |
| 12 | 2602-28-111СП(SP) | Трубопровод | |
| 12 | 2602-28-111-20СП(SP) | Трубопровод | |
| 13 | ТУ2531-260-00149245-00 | Кольцо | |
| 14 | 0602-28-113К | Фланец | |
| 14 | 0602-28-113-20К | Фланец | |
| 15 | 0602-28-137-01К | Штуцер ввертной | |
| 15 | 0602-28-137-01-20К | Штуцер ввертной | |
| 16 | 00460105274000 | Датчик указателя давления 16.3829 | |
| 16 | 00460105274200 | Датчик указателя давления 16.3829-т | |
| 17 | 2602-28-47 | Штуцер | |
| 17 | 2602-28-47-20 | Штуцер | |
| 18 | 2501-26-83 | Фланец | |
| 18 | 2501-26-83-20 | Фланец | |
| 19 | ГОСТ7796-70 | Болт | |
| 20 | 310210 | Шайба 12х2.01.10.019 ГОСТ 11371-78 | |
| 20 | 310210-20 | Шайба 12х2.01.10.0221 ГОСТ 11371-78 | |
| 21 | 440038 | Кольцо защитное | |
| 22 | ТУ2531-260-00149245-00 | Кольцо | |
| 23 | Н036.23.022 | Гайка | |
| 23 | Н036.23.022-01 | Контргайка | |
| 24 | 2602-28-94СП(SP) | Трубопровод | |
| 24 | 2602-28-94-20СП(SP) | Трубопровод | |
| 25 | ТУ2531-260-00149245-00 | Кольцо | |
| 26 | 2001-26-229 | Угольник | |
| 26 | 2001-26-229-20 | Угольник | |
| 27 | 49901200016000 | Масленка 1.2 Ц6хр. | |
| 27 | 49901200016200 | Масленка 1.2 Кд.6хр. | |
| 28 | 280521 | Болт М16-6gх30.10.9.40Х019 ГОСТ 7796-70 | |
| 28 | 280521-20 | Болт М16-6gх30.10.9.40Х029 ГОСТ 7796-70 | |
| 29 | ГОСТ6402-70 | Шайба | |
| 30 | 2602-28-102 | Планка | |
| 30 | 2602-28-102-20 | Планка | |
| 31 | 700-40-5068 | Пробка | |
| 32 | 2601-28-58 | Втулка | |
| 32 | 2601-28-58-20 | Втулка | |
| 33 | 2602-28-13СП(SP) | Ось |
Содержащиеся в справочниках-каталогах запасные части и детали не предлагаются к продаже, а носят исключительно информационный характер