Вернуться на главную
Поиск
Каталоги запчастей к технике
Спецтехника
Промтрактор
ПК-12.02К
Датчик давления
Каталог запасных частей к технике: Промтрактор ПК-12.02К. Датчик давления
zoom-in
zoom-out
enlarge
shrink
circle-right
circle-left
file-text2
info
cart
Тип техники
Не выбрано
Легковые автомобили
Грузовые автомобили и прицепы
Автобусы
Сельхозтехника
Спецтехника
Двигатели
Мототехника
Марка
Не выбрано
Ammann
BOMAG
CARMIX
CASE IH
Changlin
ChengGong
Dimex
Doosan
DYNAPAC
Foton
HAMM
Hidromek
Hitachi
Hyundai
JCB
JLG
John Deere
Komatsu
LIEBHERR
LiuGong
Lonking (LongGong)
Luneng
MANITOU
Mitsuber
New Holland
PENGPU
RM-Terex
SANY
SDLG
SEM
Shantui
Shehwa HBXG
Soosan
TIGARBO
VOGELE
Volvo
WAY
WIRTGEN
XCMG
XGMA
Xiamen
YTO
Yuchai
Zoomlion
Автокран
АЗСМ
Алтайлесмаш
Амкодор
АОМЗ
Атек
АТЗ
Балканкар Рекорд
БелАЗ
Беловеж
Борекс
Брянский Арсенал
Булат
ВЭКС
ГАЗ
Геомаш
Гидромаш
Донекс
Дормаш
Дормашина
Дорэлектромаш
ДЭЗ
ЕлАЗ
ЗЗГТ
Ижнефтемаш
Канаш-электрокар
КЗКТ
ККЗ
Клевер
Клинцовский автокрановый завод
КМЗ
КМЗ 1 Мая
Ковровец
Коммаш
Кранэкс
КЭЗ
КЭМЗ
ЛЗА
МАЗ
МЗИК
МЗКМ
МЗКТ
Михневский РМЗ
МоАЗ
Мозырский МЗ
МТЗ
ОЗП
Онежец
ПАО "ТЗА"
ППС Детва
Промтрактор
ПТЗ
Раскат
СпецАгрегат
ТВЭКС
ТТМ
УВЗ
Угличмаш
УЗТМ
ХТЗ
ЧЗКМ
ЧСДМ
ЧТЗ
ЭКСКО
ЭКСМАШ
ЮрМаш
Модель
Не выбрано
ПК-12.02 (2007)
ПК-12.02К (2007)
ПК-60.01 (2007)
Т-11.01К (2008)
Т-11.01Я
Т-11.02К (2008)
Т-11.02Я (2008)
Т-15.01К (2007)
Т-15.01Я (2000)
Т-15.02K (2009)
Т-15.02Я (2009)
Т-20.01К
Т-20.01Я (2000)
Т-20.01Я (2005) (2005)
Т-20.02К (Четра) (2009)
Т-20.02Я (Четра) (2009)
Т-25.01К1 (2008)
Т-25.01Я (2006)
Т-330 (2006)
Т-35.01К (2007)
Т-35.01Я
Т-40.01К (2008)
Т-50.01 (1998)
Т-500 (1999)
Т-9.01Я (2007)
ТГ-121Я (2004)
ТГ-221КМ (2006)
ТГ-221Я (2004)
ТГ-301К (2006)
ТГ-301Я (2004)
ТГ-302Я (2010)
ТГ-503К (2006)
ТГ-503Я (2006)
ТГ-511 (2008)
Шасси ТП-20.02 (2008)
Схема
>
Не выбрано
Кабина
Управление трактором
Управление трактором
Установка сиденья
Пол
Пол
Установка зависимого отопителя кабины
Установка кондиционера
Облицовка
Облицовка
Облицовка
Облицовка
Установка вентиляторов кабины
Кабина
Кабина
Кабина
Установка защиты кабины
Установка двигателя КТА19-С510 Cummins
Установка двигателя КТА19-С510 Cummins
Установка двигателя КТА19-С510 Cummins
Установка систем воздухоочистки и выпуска
Установка систем воздухоочистки и выпуска
Воздухоочиститель
Установка системы подогрева
Установка системы подогрева
Установка топливного бака
Установка топливного бака
Бак топливный
Бак топливный
Бак топливный
Система охлаждения двигателя и трансмиссии
Система охлаждения двигателя и трансмиссии
Система охлаждения двигателя и трансмиссии
Система охлаждения двигателя и трансмиссии
Установка радиаторная
Радиатор
Установка пневмосистемы
Клапан
Установка трансмиссии
Установка трансмиссии
Установка трансмиссии
Блок трансмиссии
Блок трансмиссии
Блок трансмиссии
Блок трансмиссии
Коробка передач планетарная
Бустер
Водило
Водило
Водило
Клапан
Датчик давления
Фильтр
Блок управления
Блок управления
Клапан
Распределитель тормозной
Клапан
Передача главная
Дифференциал
Мост передний
Мост задний
Балка
Балка
Редуктор колесный и тормоз
Пакет дисков
Редуктор привода насосов
Редуктор привода насосов
Опора промежуточная
Вал карданный
Вал карданный
Вал карданный
Вал карданный
Рама
Рама
Рама
Колесо
Электрооборудование
Электрооборудование
Установка электрооборудования на раме
Установка электрооборудования на раме
Электрооборудование пола кабины
Установка приборов пола кабины
Установка приборов пола кабины
Установка приборов пола кабины
Электрооборудование передней полурамы
Электрооборудование крыши кабины
Электрооборудование крыши кабины
Электрооборудование крыши кабины
Установка электрооборудования в контейнере АКБ
Электрооборудование задней облицовки
Электрооборудование задней облицовки
Электрооборудование коробки передач
Электрооборудование гидравлического бака
Электрооборудование двигателя
Электрооборудование двигателя
Блок реле
Панель
Панель предохранителей
Щиток приборов
Панель выключателей
Щиток выключателей
Панель диодов
Установка фары
Установка гидросистемы
Установка гидросистемы
Установка гидросистемы
Установка выключателя
Распределитель
Распределитель
Распределитель
Распределитель секционный
Клапан
Клапан
Распределитель
Клапан
Бак гидросистемы
Гидросистема управления поворотом
Гидросистема управления поворотом
Гидросистема управления поворотом
Гидросистема управления поворотом
Клапан
Клапан
Клапан
Гидроцилиндр
Клапан
Клапан
Реле давления нижнего предела
Установка погрузочного оборудования
Установка погрузочного оборудования
Установка погрузочного оборудования
Ковш
Установка погрузочного оборудования
Установка погрузочного оборудования
Ковш
Установка погрузочного оборудования
Установка погрузочного оборудования
Ковш
Установка гидроцилиндров погрузочного оборудования
Установка гидроцилиндров погрузочного оборудования
Установка гидроцилиндров погрузочного оборудования
Гидрозамедлитель
Гидроцилиндр d.250
Гидроцилиндр
2601-15-11-20СП(SP)
2601-15-11СП(SP)
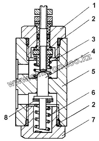
1
2
2
3
4
5
6
7
8
Позиция на иллюстрации
Заводской номер детали
Название детали
2601-15-11-20СП(SP)
2601-15-11-20СП(SP)
Датчик давления
2601-15-11СП(SP)
2601-15-11СП(SP)
Датчик давления
1
3501-15-16СП(SP)
Пробка
2
024-028-25-2-51-1668
Кольцо 024-028-25-2-51-1668
3
700-38-2280
Пружина
4
2601-15-18
Золотник
5
2601-15-17
Корпус
6
700-38-2095
Пружина
7
375780
Пробка
8
310150
Шайба 8.01.08кп.019 ГОСТ 11371-78
Содержащиеся в справочниках-каталогах запасные части и детали не предлагаются к продаже, а носят исключительно информационный характер
Дополнительная информация
×
Название:
Номер:
Примечание: