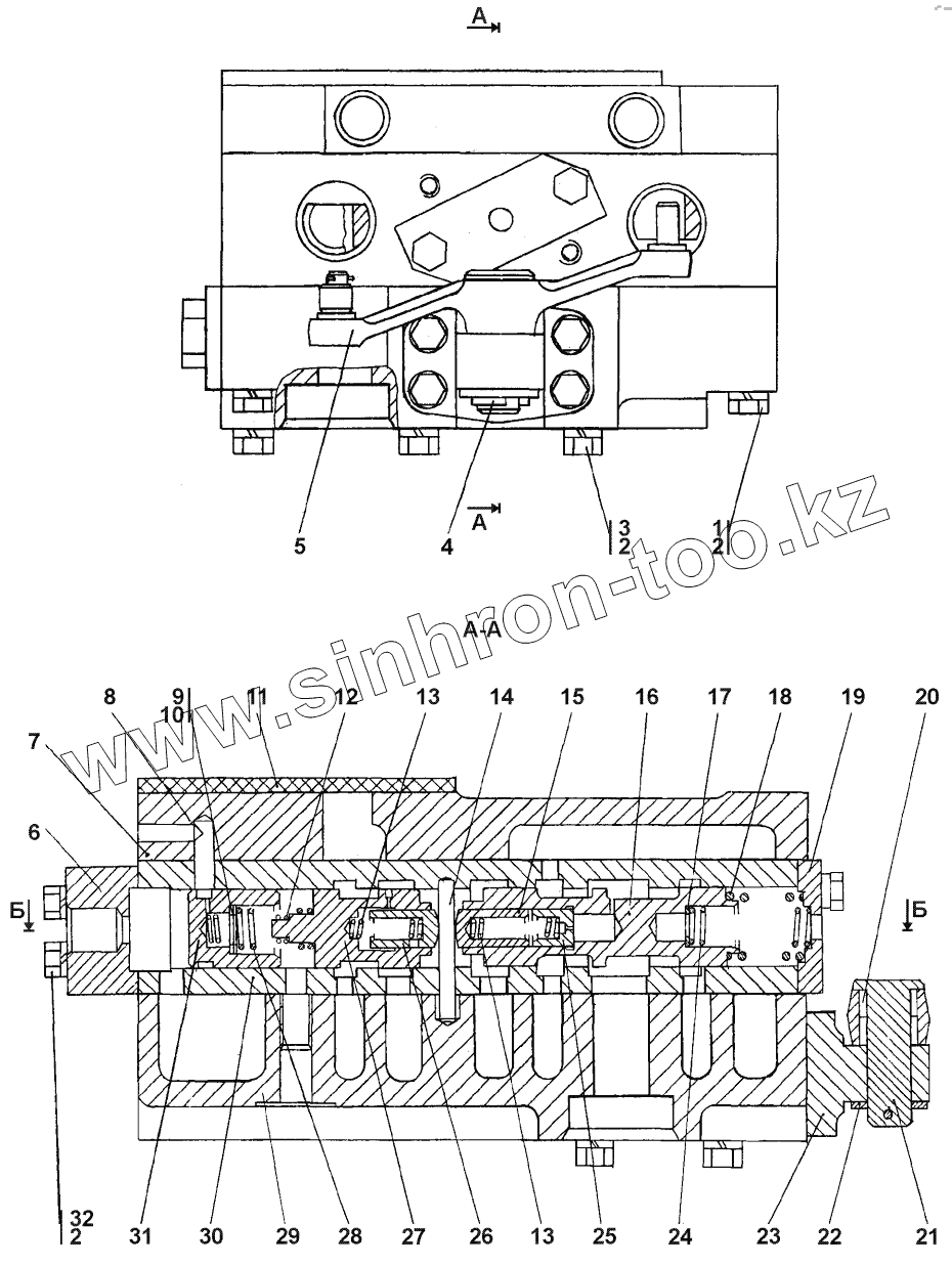
Каталог запасных частей к технике: Промтрактор ПК-12.02К. Блок управления
2601-15-20-20СП(SP)
2601-15-20СП(SP)
1
2
2
2
3
4
5
6
7
8
9
10
11
12
13
13
14
15
16
17
18
19
20
21
22
23
24
25
26
27
28
29
30
31
32
| Позиция на иллюстрации | Заводской номер детали | Название детали | |
|---|---|---|---|
| 2601-15-20-20СП(SP) | 2601-15-20-20СП(SP) | Блок управления | |
| 2601-15-20СП(SP) | 2601-15-20СП(SP) | Блок управления | |
| 1 | 285200 | Болт | |
| 2 | ГОСТ6402-70 | Шайба | |
| 3 | 285210 | Болт | |
| 4 | ГОСТ397-79 | Шплинт | |
| 5 | 2501-15-143СП(SP) | Рычаг | |
| 6 | 2601-15-16 | Крышка | |
| 7 | 2501-15-20-01СП(SP) | Блок управления | |
| 8 | 2501-15-133-01 | Плита | |
| 9 | 310210 | Шайба 12х2.01.10.019 ГОСТ 11371-78 | |
| 10 | 310220 | Шайба 12х0,5.01.08кп.019 ГОСТ 11371-78 | |
| 11 | 2501-15-150 | Заглушка | |
| 12 | 385159-01 | Пружина | |
| 13 | 385048-01 | Пружина | |
| 14 | 2501-15-37 | Стопор | |
| 15 | 2501-15-136 | Поршень | |
| 16 | 2501-15-178 | Золотник | |
| 17 | 310110 | Шайба 6.01.08кп.019 ГОСТ 11371-78 | |
| 18 | 385325-01 | Пружина | |
| 19 | 2501-15-179 | Планка | |
| 20 | ГОСТ4060-78 | Подшипник | |
| 21 | 2501-15-223 | Ось | |
| 22 | 310280 | Шайба 16х1.01.10.019 ГОСТ 10450-78 | |
| 23 | 2501-15-222 | Кронштейн | |
| 24 | 385278 | Пружина | |
| 25 | 2501-15-29 | Клапан | |
| 26 | 2501-15-187 | Поршень | |
| 27 | 2501-15-186 | Золотник | |
| 28 | 2501-15-162-01 | Пружина | |
| 29 | 2501-15-131 | Плита | |
| 30 | 2501-15-132 | Корпус | |
| 31 | 2501-15-170 | Поршень | |
| 32 | ГОСТ7795-70 | Болт |
Содержащиеся в справочниках-каталогах запасные части и детали не предлагаются к продаже, а носят исключительно информационный характер