Каталог запасных частей к технике: Промтрактор ПК-12.02К. Бак топливный
1
2
2
3
3
4
4
5
6
7
8
9
10
10
11
12
13
13
14
14
15
16
16
17
18
19
20
20
21
21
22
22
23
24
24
25
25
26
27
27
28
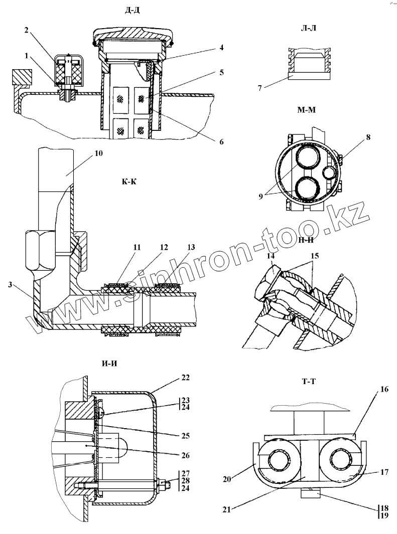
| Позиция на иллюстрации | Заводской номер детали | Название детали | |
|---|---|---|---|
| 1 | 46-43-322 | Кольцо | |
| 2 | 404-25-58СП(SP) | Сапун | |
| 2 | 404-25-58-20СП(SP) | Сапун | |
| 3 | 2706-25-12 | Патрубок | |
| 3 | 2706-25-12-20 | Патрубок | |
| 4 | 404-25-87 | Кольцо пружинное | |
| 4 | 404-25-87-20 | Кольцо пружинное | |
| 5 | 46-25-295СП(SP) | Фильтр | |
| 6 | 2602-25-54СП(SP) | Линейка мерная | |
| 7 | 7879-4201-04 | Пробка | |
| 8 | 700-40-6684-05 | Прокладка | |
| 9 | 700-40-6684-02 | Прокладка | |
| 10 | 2706-25-15СП(SP) | Трубопровод | |
| 10 | 2706-25-15-20СП(SP) | Трубопровод | |
| 11 | DIN3017-AS30x45/12C7-W2 | Шланговый хомут | |
| 12 | 700-40-6684-01 | Прокладка | |
| 13 | 461001 | Рукав | |
| 13 | 461001-20 | Рукав | |
| 14 | 700-41-3129 | Болт зажимной | |
| 14 | 700-41-3129-20 | Болт зажимной | |
| 15 | 20x26МН4152-62 | Кольцо | |
| 16 | 1102-25-13-20 | Пластина | |
| 16 | 1102-25-13 | Пластина | |
| 17 | 400478 | Втулка | |
| 18 | ГОСТ7795-70 | Болт | |
| 19 | ГОСТ6402-70 | Шайба | |
| 20 | 1102-25-16 | Втулка | |
| 20 | 1102-25-16-20 | Втулка | |
| 21 | 1102-25-12 | Накладка | |
| 21 | 1102-25-12-20 | Накладка | |
| 22 | 2501-25-96 | Колпачок | |
| 22 | 2501-25-96-20 | Колпачок | |
| 23 | ГОСТ17473-80 | Винт | |
| 24 | ГОСТ6402-70 | Шайба | |
| 25 | 450019 | Прокладка | |
| 25 | 450019-20 | Прокладка | |
| 26 | БМ-162Б | Датчик указателя уровня топлива БМ-162Б | |
| 27 | 2501-25-97 | Шпилька | |
| 27 | 2501-25-97-20 | Шпилька | |
| 28 | ГОСТ5927-70 | Гайка |
Содержащиеся в справочниках-каталогах запасные части и детали не предлагаются к продаже, а носят исключительно информационный характер