Каталог запасных частей к технике: Промтрактор ПК-12.02. 2702-11-2СП Рама
2702-11-2-20СП(SP)
2702-11-2СП(SP)
1
1
2
3
3
4
4
5
5
6
6
7
7
8
8
9
9
10
10
11
11
11
12
12
12
13
13
14
15
15
16
16
17
17
18
18
19
19
20
20
21
21
22
23
24
24
25
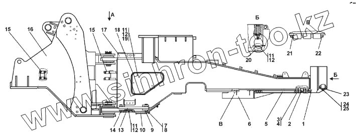
| Позиция на иллюстрации | Заводской номер детали | Название детали | |
|---|---|---|---|
| 2702-11-2-20СП(SP) | 2702-11-2-20СП(SP) | Рама | |
| 2702-11-2СП(SP) | 2702-11-2СП(SP) | Рама | |
| 1 | 2701-11-6-20СП(SP) | Контргруз | |
| 1 | 2701-11-6СП(SP) | Контргруз | |
| 2 | 32 5770 | Штифт | |
| 3 | 28 0906 | Болт М27x2-6gx125 | |
| 3 | 28 0906-20 | Болт М27x2-6gx125 | |
| 4 | 31 5394 | Шайба | |
| 4 | 31 5394-20 | Шайба | |
| 5 | 2601-11-5-01СП(SP) | Бампер | |
| 5 | 2601-11-5-01-20СП(SP) | Бампер | |
| 6 | 3602-11-19-20СП(SP) | Кожух | |
| 6 | 2602-11-19СП(SP) | Кожух | |
| 7 | 28 0725 | Болт М20х1,5-6gх50 ГОСТ 7796-70 | |
| 7 | 28 0725-20 | Болт М20х1,5-6gх50.109.40Х.029 ГОСТ 7796-70 | |
| 8 | 31 0310 | Шайба 20х4.01.10.019 ГОСТ 11371-78 | |
| 8 | 31 0310-20 | Шайба 20х4 ГОСТ 11371-78 | |
| 9 | 2601-11-224 | Палец | |
| 9 | 2601-11-224-20 | Палец | |
| 10 | 2602-11-16СП(SP) | Кожух | |
| 10 | 2602-11-16-20СП(SP) | Кожух | |
| 11 | Болт М12x1,25-6gx25 | Болт М12x1,25-6gx25 | |
| 12 | Шайба 12 ОТ | Шайба 12 ОТ | |
| 13 | 2601-11-223-20 | Серьга | |
| 13 | 2601-11-223 | Серьга | |
| 14 | Шплинт 6,3x63 | Шплинт 6,3x63 | |
| 15 | 2601-11-231 | Втулка | |
| 16 | 2701-11-4СП(SP) | Полурама | |
| 16 | 2701-11-4-20СП(SP) | Полурама | |
| 17 | 2602-11-3-02СП(SP) | Рама | |
| 17 | 2602-11-3-02-20СП -20SP | Рама | |
| 18 | 2601-11-146 | Крышка | |
| 18 | 2601-11-146-20 | Крышка | |
| 19 | 31 0225 | Шайба | |
| 19 | 31 0225-20 | Шайба | |
| 20 | 46-64-66 | Крышка | |
| 20 | 46-64-66-20 | Крышка | |
| 21 | 47 5240 | Ось | |
| 21 | 47 5240-20 | Ось | |
| 22 | Шплинт 3,2x25 | Шплинт 3,2x25 | |
| 23 | 2501-51-19 | Планка | |
| 24 | 28 0520 | Болт М16х1,5-6gх30.109.40Х.019 ГОСТ 7796-70 | |
| 24 | 28 0520-20 | Болт М16х1,5-6gх30 ГОСТ 7796-70 | |
| 25 | Шайба 16 ОТ | Шайба 16 ОТ |
Содержащиеся в справочниках-каталогах запасные части и детали не предлагаются к продаже, а носят исключительно информационный характер