Каталог запасных частей к технике: Промтрактор ПК-12.02. 2702-10-115СП Блок реле
2702-10-115-10СП(SP)
2702-10-115СП(SP)
2702-10-115-20СП(SP)
1
1
1
1
1
2
2
2
2
3
3
3
3
4
5
6
6
7
8
9
10
11
11
12
13
14
14
15
16
17
18
19
19
19
20
21
21
22
22
23
23
24
24
25
25
26
26
27
27
28
28
29
29
30
30
31
32
32
33
33
34
34
35
35
36
36
36
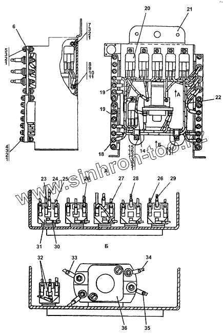
| Позиция на иллюстрации | Заводской номер детали | Название детали | |
|---|---|---|---|
| 2702-10-115-10СП(SP) | 2702-10-115-10СП(SP) | Блок реле | |
| 2702-10-115СП(SP) | 2702-10-115СП(SP) | Блок реле | |
| 2702-10-115-20СП(SP) | 2702-10-115-20СП(SP) | Блок реле | |
| 1 | 31 0110 | Шайба 6.01.08кп.019 ГОСТ 11371-78 | |
| 1 | 31 0110-20 | Шайба 6.01.08кп.0221 ГОСТ 11371-78 | |
| 2 | Шайба 6Т | Шайба 6Т | |
| 3 | Гайка М6 | Гайка М6 | |
| 4 | Винт В.М6-6gx22 | Винт В.М6-6gx22 | |
| 5 | Винт В.М6-6gx18 | Винт В.М6-6gx18 | |
| 6 | 2702-10-154СП(SP) | Панель диодов | |
| 6 | 2702-10-154-20СП(SP) | Панель диодов | |
| 7 | Винт В.М6-6gx16 | Винт В.М6-6gx16 | |
| 8 | Винт В.М5-6gx12 | Винт В.М5-6gx12 | |
| 9 | Гайка М5 | Гайка М5 | |
| 10 | Шайба 5 | Шайба 5 | |
| 11 | 31 0080-20 | Шайба 5.01.10.0221 ГОСТ 11371-78 | |
| 11 | 31 0080 | Шайба 5.01.10.019 ГОСТ 11371-78 | |
| 12 | 700-40-6684-06 | Прокладка | |
| 13 | 41 5119 | Хомутик | |
| 14 | 2702-10-126-04СП(SP) | Провод | |
| 14 | 2702-10-126-04-20СП -20SP | Провод | |
| 15 | 700-40-6684-04 | Прокладка | |
| 16 | 700-41-2866 | Хомут | |
| 17 | Винт В.М6-6gx16 | Винт В.М6-6gx16 | |
| 18 | 17.3723.000 | Панель соединительная 17.3723.000 | |
| 19 | 2706-10-1 | Шинка | |
| 19 | 2706-10-1-20 | Шинка | |
| 20 | Реле 901.3747 | Реле 901.3747 | |
| 21 | 2702-10-1 | Кронштейн | |
| 21 | 2702-10-1-20 | Кронштейн | |
| 22 | 2702-10-131-28СП(SP) | Провод | |
| 22 | 2702-10-131-28-20СП -20SP | Провод | |
| 23 | 2702-10-126-06СП(SP) | Провод | |
| 23 | 2702-10-126-06-20СП -20SP | Провод | |
| 24 | 2702-10-126-01СП(SP) | Провод | |
| 24 | 2702-10-126-01-20СП -20SP | Провод | |
| 25 | 2702-10-126-05СП(SP) | Провод | |
| 25 | 2702-10-126-05-20СП -20SP | Провод | |
| 26 | 2702-10-126-02СП(SP) | Провод | |
| 26 | 2702-10-126-02-20СП -20SP | Провод | |
| 27 | 2702-10-131-27СП(SP) | Провод | |
| 27 | 2702-10-131-27-20СП -20SP | Провод | |
| 28 | 2702-10-131-37СП(SP) | Провод | |
| 28 | 2702-10-131-37-20СП -20SP | Провод | |
| 29 | 2702-10-172-20СП(SP) | Провод | |
| 29 | 2702-10-172СП(SP) | Провод | |
| 30 | 2702-10-126-03СП(SP) | Провод | |
| 30 | 2702-10-126-03-20СП -20SP | Провод | |
| 31 | 607605 | Колодка гнездовая | |
| 32 | 2702-10-131-33СП(SP) | Провод | |
| 32 | 2702-10-131-33-20СП -20SP | Провод | |
| 33 | 2702-10-131-36СП(SP) | Провод | |
| 33 | 2702-10-131-36-20СП -20SP | Провод | |
| 34 | 2702-10-131-19СП(SP) | Провод | |
| 34 | 2702-10-131-19-20СП -20SP | Провод | |
| 35 | 2702-10-131-35СП(SP) | Провод | |
| 35 | 2702-10-131-35-20СП -20SP | Провод | |
| 36 | КТ127-У-ХЛ | Контактор | |
| 36 | КТ127-Э | Контактор | |
| 36 | КТ127-Т | Контактор |
Содержащиеся в справочниках-каталогах запасные части и детали не предлагаются к продаже, а носят исключительно информационный характер