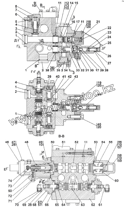
Каталог запасных частей к технике: Промтрактор ПК-12.02. 2701-26-40СП Распределитель
2701-26-40СП(SP)
1
1
1
1
1
2
2
2
2
2
2
3
4
4
5
6
7
7
8
8
9
10
10
10
10
10
11
11
11
12
13
14
15
16
16
17
17
18
19
19
19
20
20
20
21
22
23
24
24
25
26
26
27
27
28
28
28
29
30
31
32
33
34
35
36
36
37
38
39
39
40
41
42
43
43
44
44
45
45
46
47
47
48
48
49
50
50
51
51
52
53
54
55
55
56
56
57
57
58
59
59
60
61
61
62
62
63
64
65
66
67
68
68
69
69
70
70
71
72
73
74
74
| Позиция на иллюстрации | Заводской номер детали | Название детали | |
|---|---|---|---|
| 2701-26-40СП(SP) | 2701-26-40СП(SP) | Распределитель | |
| 1 | 042-050-46-2-51-1668 | Кольцо ГОСТ 18829-73/ТУ 38.005.204-84 | |
| 2 | 25-26-207-20 | Заглушка | |
| 2 | 25-26-207 | Заглушка | |
| 3 | 3501-26-158 | Клапан | |
| 4 | 38 5221 | Пружина | |
| 5 | 045-050-30-2-51-1668 | Кольцо ГОСТ 9833-73/ГОСТ 18829-73 | |
| 6 | 030-035-30-2-ИРП 1314-1 | Кольцо ГОСТ 9833-73 | |
| 7 | 3501-26-169 | Пробка | |
| 7 | 3501-26-169-20 | Пробка | |
| 8 | 3501-26-157 | Пробка | |
| 8 | 3501-26-157-20 | Пробка | |
| 9 | Болт М12-6gx60 | Болт М12-6gx60 | |
| 10 | Шайба 12 ОТ | Шайба 12 ОТ | |
| 11 | 016-020-25-2-51-1668 | Кольцо ГОСТ 9833-73/ГОСТ 18829-73 | |
| 12 | 3501-26-250 | Крышка | |
| 13 | Болт М12x1,25-6gx30 | Болт М12x1,25-6gx30 | |
| 14 | 2701-26-202 | Гильза | |
| 15 | 2701-26-203 | Плунжер | |
| 16 | 3501-26-251 | Прокладка | |
| 16 | 3501-26-251-20 | Прокладка | |
| 17 | 039-045-36-2-51-1668 | Кольцо ГОСТ 18829-73/ТУ 38.005.204-84 | |
| 18 | 2701-26-201 | Крышка | |
| 19 | 28 0733 | Болт M20-6gx70 | |
| 19 | 28 0733-20 | Болт M20-6gx70 | |
| 20 | Шайба 20 ОТ | Шайба 20 ОТ | |
| 21 | 38 5275 | Пружина | |
| 22 | 2701-26-204 | Упор | |
| 23 | 38 5577 | Пружина предохранительного клапана | |
| 24 | 25-59-597 | Упор | |
| 24 | 25-59-597-20 | Упор | |
| 25 | 3501-26-160 | Винт регулировочный | |
| 26 | 3501-26-163 | Колпачок | |
| 26 | 3501-26-163-20 | Колпачок | |
| 27 | 3501-26-162 | Контргайка | |
| 27 | 3501-26-162-20 | Контргайка | |
| 28 | 018-022-25-2-51-1668 | Кольцо ГОСТ 9833-73/ТУ 38.005.204-84 | |
| 29 | 2001-26-170 | Клапан предохранительный | |
| 30 | 700-40-6307 | Шайба защитная | |
| 31 | 3501-26-156 | Втулка | |
| 32 | 38 5578 | Пружина | |
| 33 | 3501-26-140 | Клапан | |
| 34 | 44 0005 | Шайба защитная | |
| 35 | 46-26-280 46-26-280-20 | Фланец Фланец | |
| 36 | 28 0544 | Болт М16х1,5-6gх45.109.40Х.019 ГОСТ 7796-70 | |
| 36 | 28 0544-20 | Болт М16х1,5-6gх45.109.40Х.029 ГОСТ 7796-70 | |
| 37 | Шайба 16 ОТ | Шайба 16 ОТ | |
| 38 | 46-26-646 | Втулка | |
| 39 | 3501-26-155 | Заглушка | |
| 39 | 3501-26-155-20 | Заглушка | |
| 40 | 032-038-36-2-51-1668 | Кольцо ГОСТ 18829-73/ТУ 38.005.204-84 | |
| 41 | 049-055-36-2-51-1668 | Кольцо ГОСТ 18829-73/ТУ 38.005.204-84 | |
| 42 | 3501-26-154 | Клапан | |
| 43 | 3501-26-122-20 | Корпус | |
| 43 | 3501-26-122 | Корпус | |
| 44 | 3501-26-123 | Корпус | |
| 44 | 3501-26-123-20 | Корпус | |
| 45 | 28 0742 | Болт M20-6gx85 | |
| 45 | 28 0742-20 | Болт M20-6gx85 | |
| 46 | 2701-26-44СП(SP) | Крышка | |
| 47 | 37 5625 | Пробка | |
| 47 | 37 5625-20 | Пробка | |
| 48 | 2701-26-100 | Корпус | |
| 48 | 2701-26-100-20 | Корпус | |
| 49 | Болт М12-6gx35 | Болт М12-6gx35 | |
| 50 | 007-011-25-2-51-1668 | Кольцо ГОСТ 18829-73/ТУ 38.005.204-84 | |
| 51 | 3501-26-150СП(SP) | Клапан | |
| 51 | 3501-26-150-20СП(SP) | Клапан | |
| 52 | 2701-26-101 | Золотник | |
| 53 | 2701-26-116 | Тарелка | |
| 54 | 080-085-30-2-51-1668 | Кольцо 080-085-30-2-51-1668 | |
| 55 | 700-38-2766 | Пружина | |
| 55 | 700-38-2766-20 | Пружина | |
| 56 | 2701-26-104 | Крышка | |
| 56 | 2701-26-104-20 | Крышка | |
| 57 | Болт М12-6gx40 | Болт М12-6gx40 | |
| 58 | Болт М12x1,25-6gx25 | Болт М12x1,25-6gx25 | |
| 59 | 31 0210 | Шайба 12х2.01.08кп.019 ГОСТ 11371-78 | |
| 59 | 31 0210-20 | Шайба 12х2 ГОСТ 11371-78 | |
| 60 | 2701-26-240 | Тарелка | |
| 61 | 5001-26-77 | Угольник ввертной | |
| 61 | 5001-26-77-20 | Угольник ввертной | |
| 62 | 2701-26-106 | Корпус распределителя | |
| 62 | 2701-26-106-20 | Корпус распределителя | |
| 63 | 3501-26-138 | Золотник | |
| 64 | 38 5488 | Пружина | |
| 65 | 3501-26-153 | Втулка | |
| 66 | 060-070-58-2-51-1668 | Кольцо ГОСТ 18829-73/ТУ 38.005.204-84 | |
| 67 | Болт М16-6gx45 | Болт М16-6gx45 | |
| 68 | 3501-26-125 | Крышка | |
| 68 | 3501-26-125-20 | Крышка | |
| 69 | Н.036.23.022 | Контргайка | |
| 69 | Н.036.23.022-01 | Контргайка | |
| 70 | 2501-26-294 | Заглушка | |
| 70 | 2501-26-294-20 | Заглушка | |
| 71 | 2701-26-235 | Дроссель | |
| 72 | 012-016-25-2-51-1668 | Кольцо 012-016-25-2-51-1668 | |
| 73 | Шплинт 1,6x14 | Шплинт 1,6x14 | |
| 74 | 31 0110 | Шайба 6.01.08кп.019 ГОСТ 11371-78 | |
| 74 | 31 0110-20 | Шайба 6.01.08кп.0221 ГОСТ 11371-78 |
Содержащиеся в справочниках-каталогах запасные части и детали не предлагаются к продаже, а носят исключительно информационный характер