Вернуться на главную
Поиск
Каталоги запчастей к технике
Спецтехника
Промтрактор
ПК-12.02
2501-12-121СП Водило
Каталог запасных частей к технике: Промтрактор ПК-12.02. 2501-12-121СП Водило
zoom-in
zoom-out
enlarge
shrink
circle-right
circle-left
file-text2
info
cart
Тип техники
Не выбрано
Легковые автомобили
Грузовые автомобили и прицепы
Автобусы
Сельхозтехника
Спецтехника
Двигатели
Мототехника
Марка
Не выбрано
Ammann
BOMAG
CARMIX
CASE IH
Changlin
ChengGong
Dimex
Doosan
DYNAPAC
Foton
HAMM
Hidromek
Hitachi
Hyundai
JCB
JLG
John Deere
Komatsu
LIEBHERR
LiuGong
Lonking (LongGong)
Luneng
MANITOU
Mitsuber
New Holland
PENGPU
RM-Terex
SANY
SDLG
SEM
Shantui
Shehwa HBXG
Soosan
TIGARBO
VOGELE
Volvo
WAY
WIRTGEN
XCMG
XGMA
Xiamen
YTO
Yuchai
Zoomlion
Автокран
АЗСМ
Алтайлесмаш
Амкодор
АОМЗ
Атек
АТЗ
Балканкар Рекорд
БелАЗ
Беловеж
Борекс
Брянский Арсенал
Булат
ВЭКС
ГАЗ
Геомаш
Гидромаш
Донекс
Дормаш
Дормашина
Дорэлектромаш
ДЭЗ
ЕлАЗ
ЗЗГТ
Ижнефтемаш
Канаш-электрокар
КЗКТ
ККЗ
Клевер
Клинцовский автокрановый завод
КМЗ
КМЗ 1 Мая
Ковровец
Коммаш
Кранэкс
КЭЗ
КЭМЗ
ЛЗА
МАЗ
МЗИК
МЗКМ
МЗКТ
Михневский РМЗ
МоАЗ
Мозырский МЗ
МТЗ
ОЗП
Онежец
ПАО "ТЗА"
ППС Детва
Промтрактор
ПТЗ
Раскат
СпецАгрегат
ТВЭКС
ТТМ
УВЗ
Угличмаш
УЗТМ
ХТЗ
ЧЗКМ
ЧСДМ
ЧТЗ
ЭКСКО
ЭКСМАШ
ЮрМаш
Модель
Не выбрано
ПК-12.02 (2007)
ПК-12.02К (2007)
ПК-60.01 (2007)
Т-11.01К (2008)
Т-11.01Я
Т-11.02К (2008)
Т-11.02Я (2008)
Т-15.01К (2007)
Т-15.01Я (2000)
Т-15.02K (2009)
Т-15.02Я (2009)
Т-20.01К
Т-20.01Я (2000)
Т-20.01Я (2005) (2005)
Т-20.02К (Четра) (2009)
Т-20.02Я (Четра) (2009)
Т-25.01К1 (2008)
Т-25.01Я (2006)
Т-330 (2006)
Т-35.01К (2007)
Т-35.01Я
Т-40.01К (2008)
Т-50.01 (1998)
Т-500 (1999)
Т-9.01Я (2007)
ТГ-121Я (2004)
ТГ-221КМ (2006)
ТГ-221Я (2004)
ТГ-301К (2006)
ТГ-301Я (2004)
ТГ-302Я (2010)
ТГ-503К (2006)
ТГ-503Я (2006)
ТГ-511 (2008)
Шасси ТП-20.02 (2008)
Схема
>
Не выбрано
2701-111-01СП Кабина
2601-59-2СП Кабина
2601-59-2СП Кабина
2601-59-2СП Кабина
2601-61-2СП Установка защиты кабины
2702-13-1СП Управление трактором
2702-13-1СП Управление трактором
2501-23-1СП Установка сиденья
2601-24-1-01СП Пол
2601-24-1-01СП Пол
2601-47-1СП Установка зависимого отопителя кабины
312001-57-2СП Установка вентиляторов кабины
2601-55-1-04СП Облицовка
2601-55-1-04СП Облицовка
2601-55-1-04СП Облицовка
2601-55-1-04СП Облицовка
702-01-1СП Установка двигателя ЯМЗ-850.10-01
403-01-10-02СП Двигатель с оборудованием
2702-05-19СП/-01СП Воздухоочиститель
2602-43-2СП Установка системы подогрева
2602-25-1СП Установка топливного бака
2602-25-1СП Установка топливного бака
2602-25-10СП Бак топливный
2602-25-10СП Бак топливный
2702-05-3СП Установка систем воздухоочистки и выпуска
2702-05-3СП Установка систем воздухоочистки и выпуска
2602-60-1СП Система охлаждения двигателя и трансмиссии
2602-60-1СП Система охлаждения двигателя и трансмиссии
2602-60-1СП Система охлаждения двигателя и трансмиссии
2602-60-34СП Установка радиаторная
3506-60-109-01СП Радиатор
3506-60-109-01СП Радиатор
2701-16-1-01СП Установка трансмиссии
2701-16-1-01СП Установка трансмиссии
2701-16-1-01СП Установка трансмиссии
2701-12-10СП/-01СП Блок трансмиссии
2701-12-10СП/-01СП Блок трансмиссии
2701-12-10СП/-01СП Блок трансмиссии
2701-12-10СП/-01СП Блок трансмиссии
2601-12-20СП Коробка передач планетарная
2501-12-120СП Бустер
2501-12-121СП Водило
2601-12-25СП Водило
2601-12-25СП Водило
2001-14-17СП Клапан
2601-15-10СП/-01СП Фильтр
2601-15-11СП Датчик давления
2601-15-20СП Блок управления
2601-15-20СП Блок управления
2501-15-22СП Клапан
2601-15-25СП Распределитель тормозной
Клапан
2601-17-10СП Передача главная
2601-17-100СП Дифференциал
2601-18-1СП Мост передний
2601-18-2СП Мост задний
2601-18-20СП Балка
2601-18-21СП Балка
2601-19-10СП Редуктор колесный и тормоз
2601-19-102СП Пакет дисков
2702-20-10СП Редуктор привода насосов
Редуктор привода насосов
2601-49-2СП Опора промежуточная
91-4250010 Вал карданный
91-4250010-10 Вал карданный
91-4250010-20 Вал карданный
ПК-53372-2218010 Вал карданный
2702-11-2СП Рама
2702-11-2СП Рама
2702-11-2СП Рама
2601-21-1СП Колесо
2702-54-3СП Установка пневмосистемы
0602-54-21СП Клапан
2702-10-1-03СП Электрооборудование
2702-10-1-03СП Электрооборудование
2702-10-11-03СП Установка электрооборудования на раме
2702-10-11-03СП Установка электрооборудования на раме
2702-10-12-03СП Электрооборудование пола кабины
2702-10-15-02СП Установка приборов пола кабины
2702-10-15-02СП Установка приборов пола кабины
2702-10-15-02СП Установка приборов пола кабины
2702-10-16СП Электрооборудование передней полурамы
2702-10-18СП/-01СП Электрооборудование крыши кабины
2702-10-18СП/-01СП Электрооборудование крыши кабины
2702-10-18СП/-01СП Электрооборудование крыши кабины
2702-10-19СП Установка электрооборудования в контейнере АКБ
2601-10-13СП Электрооборудование задней облицовки
2601-10-13СП Электрооборудование задней облицовки
2601-10-16-01СП Электрооборудование коробки передач
2601-10-17СП Электрооборудование гидравлического бака
2502-10-14СП Электрооборудование двигателя
2502-10-14СП Электрооборудование двигателя
2702-10-115СП Блок реле
2702-10-130СП Панель
2601-10-132-02СП Панель предохранителей
2702-10-145-03СП Щиток приборов
2702-10-149СП/-149-01СП Панель выключателей
2702-10-179-02СП Щиток выключателей
2702-10-154СП Панель диодов
2702-10-185СП Панель диодов
404-10-270СП Установка фары
2701-26-1СП Установка гидросистемы
2701-26-1СП Установка гидросистемы
2701-26-1СП Установка гидросистемы
2701-26-37СП Установка выключателя
2701-26-40СП Распределитель
2701-26-40СП Распределитель
2701-26-50СП Распределитель
2701-26-60СП Распределитель секционный
2701-26-70СП Клапан
2701-26-74СП Клапан
3501-26-64СП Распределитель
3501-26-150СП Клапан
2601-26-100СП Бак гидросистемы
2602-28-2СП Гидросистема управления поворотом
2602-28-2СП Гидросистема управления поворотом
2602-28-2СП Гидросистема управления поворотом
2602-28-2СП Гидросистема управления поворотом
2601-28-21-01СП Клапан
Клапан
Клапан
2602-28-107СП/-01СП Гидроцилиндр
2602-28-109СП Клапан
0602-28-20СПК Клапан
0602-28-26СПК Реле давления нижнего предела
412701-92-1СП Установка погрузочного оборудования
412701-92-1СП Установка погрузочного оборудования
412701-92-1СП Установка погрузочного оборудования
412701-92-20СП Ковш
412701-93-1СП Установка погрузочного оборудования
412701-93-1СП Установка погрузочного оборудования
412701-93-20СП Ковш
412701-94-2СП Установка погрузочного оборудования
412701-94-2СП Установка погрузочного оборудования
412701-94-20СП Ковш
412701-95-1СП Установка гидроцилиндров погрузочного оборудования
412701-95-1СП Установка гидроцилиндров погрузочного оборудования
412701-95-1СП Установка гидроцилиндров погрузочного оборудования
412701-95-2СП Гидрозамедлитель
412701-95-10СП Гидроцилиндр диам. 250
412701-95-20СП Гидроцилиндр
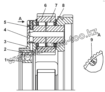
Общий вид погрузчика
2501-12-121СП(SP)
1
2
3
4
5
6
7
8
9
Позиция на иллюстрации
Заводской номер детали
Название детали
2501-12-121СП(SP)
2501-12-121СП(SP)
Водило
1
1000924Д
Подшипник 1000924Д
2
58 0865
Кольцо С165
3
2501-12-48
Водило
4
2501-12-68
Ось (476719267303)
5
2001-12-111СП(SP)
Штифт
6
2501-12-66
Сателлит (476719267303)
7
6-252908Д
Подшипник
8
2501-12-160
Кольцо упорное (476719267303)
9
Шарик Б8-100
Шарик Б8-100
Содержащиеся в справочниках-каталогах запасные части и детали не предлагаются к продаже, а носят исключительно информационный характер
Дополнительная информация
×
Название:
Номер:
Примечание: