Вернуться на главную
Поиск
Каталоги запчастей к технике
Спецтехника
ППС Детва
УНС-061
Вентиль
Каталог запасных частей к технике: ППС Детва УНС-061. Вентиль
zoom-in
zoom-out
enlarge
shrink
circle-right
circle-left
file-text2
info
cart
Тип техники
Не выбрано
Легковые автомобили
Грузовые автомобили и прицепы
Автобусы
Сельхозтехника
Спецтехника
Двигатели
Мототехника
Марка
Не выбрано
Ammann
BOMAG
CARMIX
CASE IH
Changlin
ChengGong
Dimex
Doosan
DYNAPAC
Foton
HAMM
Hidromek
Hitachi
Hyundai
JCB
JLG
John Deere
Komatsu
LIEBHERR
LiuGong
Lonking (LongGong)
Luneng
MANITOU
Mitsuber
New Holland
PENGPU
RM-Terex
SANY
SDLG
SEM
Shantui
Shehwa HBXG
Soosan
TIGARBO
VOGELE
Volvo
WAY
WIRTGEN
XCMG
XGMA
Xiamen
YTO
Yuchai
Zoomlion
Автокран
АЗСМ
Алтайлесмаш
Амкодор
АОМЗ
Атек
АТЗ
Балканкар Рекорд
БелАЗ
Беловеж
Борекс
Брянский Арсенал
Булат
ВЭКС
ГАЗ
Геомаш
Гидромаш
Донекс
Дормаш
Дормашина
Дорэлектромаш
ДЭЗ
ЕлАЗ
ЗЗГТ
Ижнефтемаш
Канаш-электрокар
КЗКТ
ККЗ
Клевер
Клинцовский автокрановый завод
КМЗ
КМЗ 1 Мая
Ковровец
Коммаш
Кранэкс
КЭЗ
КЭМЗ
ЛЗА
МАЗ
МЗИК
МЗКМ
МЗКТ
Михневский РМЗ
МоАЗ
Мозырский МЗ
МТЗ
ОЗП
Онежец
ПАО "ТЗА"
ППС Детва
Промтрактор
ПТЗ
Раскат
СпецАгрегат
ТВЭКС
ТТМ
УВЗ
Угличмаш
УЗТМ
ХТЗ
ЧЗКМ
ЧСДМ
ЧТЗ
ЭКСКО
ЭКСМАШ
ЮрМаш
Модель
Не выбрано
УНС-060 (1988)
УНС-061
Схема
>
Не выбрано
Кузов
Кабина
Звукопоглотитель
Откидывание кабины
Фонтанчик
Отопление
Отопление
Крылья
Двигатель с принадлежностями
Альтернатор
Картер мотора I
Картер мотора II
Кривошипное устройство
Распределение
Головка цилиндра
Крышка двигателя без компрессора
Подшипник коленчатого вала
Топливная система
Топливная система
Одноступенчатый топливный фильтр-отстойник
Впрыскивающий насос
Регулятор
Фильтр топливный
Фильтр воздуха
Подающий насос
Впрыскиватель
Система охлаждения
Водяной насос
Система смазки
Масляный фильтр полнопоточный
Управление сцеплением
Маховик с сцеплением
Коробка передач левая
Коробка передач правая
Рама в сборе
Колесо в сборе
Управление
Управление топливным насосом
Управление хода
Управление распределителем
Управление распределителем
Управление стояночного тормоза
Электроустановка
Стартер
Приборная панель левая
Приборная панель правая
Шестерня в сборе
Гидравлическая система
Гидравлическая система
Гидравлическая система
Гидравлическая система
Гидравлический бак
Гидравлический цилиндр
Гидравлический цилиндр
Гидравлический цилиндр
Гидравлический цилиндр
Привод гидрогенераторов
Рабочее оборудование
Безопасная рампа
Вентиль
Ковш
Универсальный торцовый погрузчик
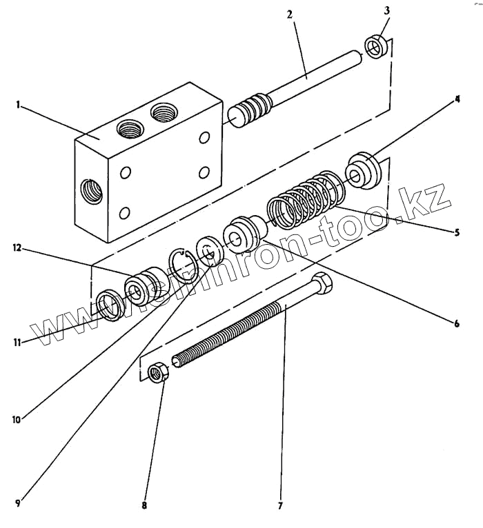
1
2
3
4
5
6
7
8
9
10
11
12
Позиция на иллюстрации
Заводской номер детали
Название детали
1
533-0-62-21-251-1
Корпус
2
533-0-62-21-252-1
Сухарь
3
SТN 02 9281.1
О-кольцо 8х2
4
533-0-62-21-258-1
Шайба
5
533-0-34-21-345-1
Пружина
6
533-0-62-21-259-1
Шайба
7
SТN 02 1103.20
Винт М10х25
8
SТN 02 1401.20
Гайка М6
9
533-0-62-21-720-1
Кольцо
10
SТN 02 2931
Стопорное кольцо 42
11
SТN 02 9211.1
О-кольцо 12х2
12
533-0-62-23-719-1
Вкладыш
Содержащиеся в справочниках-каталогах запасные части и детали не предлагаются к продаже, а носят исключительно информационный характер
Дополнительная информация
×
Название:
Номер:
Примечание: