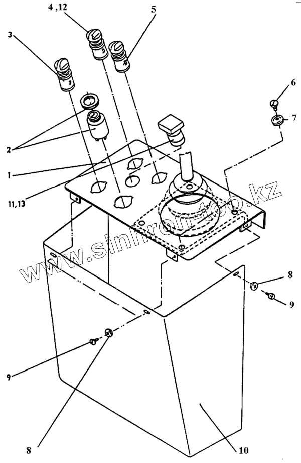
Каталог запасных частей к технике: ППС Детва УНС-061. Приборная панель правая
1
2
3
4
5
6
7
8
8
9
9
10
11
12
13
| Позиция на иллюстрации | Заводской номер детали | Название детали | |
|---|---|---|---|
| 1 | 533-9-62-33-006-1 | Панель правая | |
| 2 | SТN 30 4410.2 | Пусковая коробка 9502 В | |
| 3 | SТN 30 4002 | Штепсельная розетка | |
| 4 | SТN 30 4002 | Штепсельная розетка | |
| 5 | SТN 30 4002 | Штепсельная розетка | |
| 6 | SТN 02 1155.25 | Винт М6х20 | |
| 7 | 548 425 013 012 | Шайба декоративная КR 6 952/11 | |
| 8 | 548 300 952 001 | Шайба декоративная КR 4 952/11 | |
| 9 | SТN 02 1131.25 | Винт М5х16 | |
| 10 | 533-0-62-33-017-1 | Крышка | |
| 11 | SТN 30 4002 | Штепсельная розетка | |
| 12 | 443 925 903 016 | Круговое кольцо | |
| 13 | 347 225 232 402 | Лампа 12V/2W |
Содержащиеся в справочниках-каталогах запасные части и детали не предлагаются к продаже, а носят исключительно информационный характер