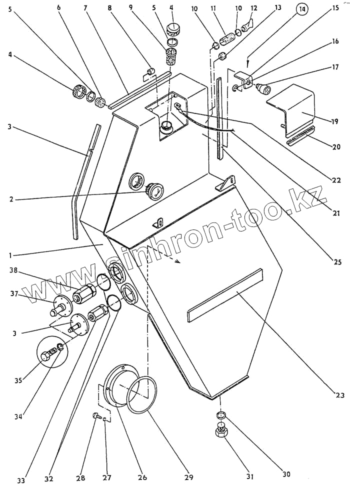
Каталог запасных частей к технике: ППС Детва УНС-061. Гидравлический бак
1
2
3
4
4
5
5
6
7
8
9
10
10
11
12
13
14
15
16
17
19
20
21
22
23
25
26
27
28
29
30
31
32
33
34
35
36
37
38
| Позиция на иллюстрации | Заводской номер детали | Название детали | |
|---|---|---|---|
| 1 | 533-9-62-19-851-1 | Гидравлический бак | |
| 2 | SТN 02 7486 | Маслоуказатель М24х1,5 | |
| 3 | 533-0-62-15-085-1 | Шайба | |
| 4 | 533-0-84-15-057-1 | Запор | |
| 5 | ОN 02 9280 | Кольцо уплотнительное 46х56 | |
| 6 | WАF 1А | Фильтрующий элемент | |
| 7 | 273 442 020 813 (РND 21/362-80) | Резина | |
| 8 | 273 312 090 160 (РN 64-335-79) | Шланг | |
| 9 | 533-9-62-15-025-1 | Фильтрующий элемент | |
| 10 | 548 241 571 529 | Скобка шланга | |
| 11 | SТN 63 5387 | Шланг | |
| 12 | 533-0-62-19-078-1 | Трубка | |
| 13 | 273 121 615 744 (РND 5920588) | Переход | |
| 14 | 533-9-62-15-110-3 | Крышка в сборе | |
| 15 | 533-0-62-16-127-1 | Наставка | |
| 16 | SТN 02 2929.02 | Стопорное кольцо 7 | |
| 17 | 533-0-62-15-128-1 | Замок | |
| 19 | 533-0-62-15-115-3 | Крышка | |
| 20 | ОN 62 2036.03 | Уплотнение 6х10-137 | |
| 21 | 533-0-62-15-121-1 | Гибкая тяга 1,6х270 | |
| 22 | 533-0-62-43-023-1 | Предохранитель | |
| 23 | 533-0-62-15-140-1 | Шайба | |
| 25 | SТN 62 2015.03 | Профильное уплотнение UL=920мм | |
| 26 | 533-0-84-02-901-1 | Крышка | |
| 27 | SТN 02 1740.25 | Шайба 8 | |
| 28 | SТN 02 1103.25 | Винт М6х14 | |
| 29 | SТN 02 9281 | Кольцо 120х3 | |
| 30 | SТN 02 9310.2 | Кольцо уплотнительное 30х36 | |
| 31 | 533-0-62-19-010-2 | Пробка М30х1,5х12 | |
| 32 | SТN 02 9281.2 | Уплотнительное кольцо 28х2 | |
| 33 | 336 521 501 065 | Односторонний клапан | |
| 34 | SТN 02 1740.05 | Шай6а 10 | |
| 35 | SТN 02 1103.25 | Винт М6х14 | |
| 36 | 533-9-62-19-074-1 | Крышка | |
| 37 | 533-9-62-19-070-1 | Крышка | |
| 38 | 336 521 360 380 | Односторонний клапан |
Содержащиеся в справочниках-каталогах запасные части и детали не предлагаются к продаже, а носят исключительно информационный характер