Каталог запасных частей к технике: PENGPU PengPu PD-320. SUPPORT AND COVER PD320Y-2
1
2
3
4
5
6
6
7
8
8
8
9
9
10
10
11
11
12
12
13
13
13
13
13
13
14
14
15
15
16
17
18
19
19
20
20
21
22
23
24
25
25
26
26
26
26
27
27
27
28
29
30
31
32
33
34
35
36
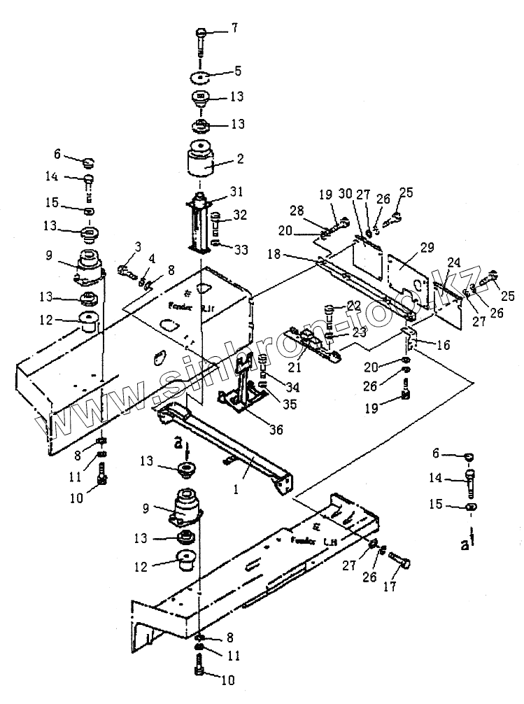
| Позиция на иллюстрации | Заводской номер детали | Название детали | |
|---|---|---|---|
| 1 | T14B.54.7 | SUPPORT | |
| 2 | T14A.54.32[1] | BRACKET | |
| 3 | GB5783 | BOLT | |
| 4 | GB93 | WASHER | |
| 5 | T14A.54-8 | WASHER | |
| 6 | T14A.54-9 | COVER | |
| 7 | GB5782 | BOLT | |
| 8 | 01643-31645 | WASHER | |
| 9 | T14A.54.33[1] | BRACKET | |
| 10 | GB5783 | BOLT | |
| 11 | GB93 | WASHER | |
| 12 | T14A.54-10 | SEAT | |
| 13 | T15.22-4 | RUBBER | |
| 14 | GB5782 | BOLT | |
| 15 | T14A.54-12 | WASHER | |
| 16 | 54-114 | BRACKET | |
| 17 | GB5783 | BOLT | |
| 18 | 54-113 | STAY | |
| 19 | GB5783 | BOLT | |
| 20 | GB97.1 | WASHER | |
| 21 | T14A.54.36 | BRACKET | |
| 22 | GB5783 | BOLT | |
| 23 | GB93 | WASHER | |
| 24 | 54-116 | COVER | |
| 25 | GB5783 | BOLT | |
| 26 | GB93 | WASHER | |
| 27 | GB97.1 | WASHER | |
| 28 | GB93 | WASHER | |
| 29 | 54-133[2] | COVER | |
| 30 | 54-117 | COVER | |
| 31 | T14B.54.8 | COLUMN | |
| 32 | GB5783 | BOLT | |
| 33 | GB93 | WASHER | |
| 34 | GB5783 | BOLT | |
| 35 | GB93 | WASHER | |
| 36 | T14B.54.9 | VALVE BASE |
Содержащиеся в справочниках-каталогах запасные части и детали не предлагаются к продаже, а носят исключительно информационный характер