Вернуться на главную
Поиск
Каталоги запчастей к технике
Спецтехника
PENGPU
PengPu PD-220
CAB (PD220Y-1, PD220YS) (2/2)
Каталог запасных частей к технике: PENGPU PengPu PD-220. CAB (PD220Y-1, PD220YS) (2/2)
zoom-in
zoom-out
enlarge
shrink
circle-right
circle-left
file-text2
info
cart
Тип техники
Не выбрано
Легковые автомобили
Грузовые автомобили и прицепы
Автобусы
Сельхозтехника
Спецтехника
Двигатели
Мототехника
Марка
Не выбрано
Ammann
BOMAG
CARMIX
CASE IH
Changlin
ChengGong
Dimex
Doosan
DYNAPAC
Foton
HAMM
Hidromek
Hitachi
Hyundai
JCB
JLG
John Deere
Komatsu
LIEBHERR
LiuGong
Lonking (LongGong)
Luneng
MANITOU
Mitsuber
New Holland
PENGPU
RM-Terex
SANY
SDLG
SEM
Shantui
Shehwa HBXG
Soosan
TIGARBO
VOGELE
Volvo
WAY
WIRTGEN
XCMG
XGMA
Xiamen
YTO
Yuchai
Zoomlion
Автокран
АЗСМ
Алтайлесмаш
Амкодор
АОМЗ
Атек
АТЗ
Балканкар Рекорд
БелАЗ
Беловеж
Борекс
Брянский Арсенал
Булат
ВЭКС
ГАЗ
Геомаш
Гидромаш
Донекс
Дормаш
Дормашина
Дорэлектромаш
ДЭЗ
ЕлАЗ
ЗЗГТ
Ижнефтемаш
Канаш-электрокар
КЗКТ
ККЗ
Клевер
Клинцовский автокрановый завод
КМЗ
КМЗ 1 Мая
Ковровец
Коммаш
Кранэкс
КЭЗ
КЭМЗ
ЛЗА
МАЗ
МЗИК
МЗКМ
МЗКТ
Михневский РМЗ
МоАЗ
Мозырский МЗ
МТЗ
ОЗП
Онежец
ПАО "ТЗА"
ППС Детва
Промтрактор
ПТЗ
Раскат
СпецАгрегат
ТВЭКС
ТТМ
УВЗ
Угличмаш
УЗТМ
ХТЗ
ЧЗКМ
ЧСДМ
ЧТЗ
ЭКСКО
ЭКСМАШ
ЮрМаш
Модель
Не выбрано
PengPu PD-165 (2010)
PengPu PD-220 (2010)
PengPu PD-320 (2010)
Схема
>
Не выбрано
ENGINE MOUNT (PD220Y-1, PD220YS)
POWER TAKE OFF (PD220Y-1, PD220YS)
FUEL CONTROL LEVER (PD220Y-1, PD220Y-2) (1/2)
FUEL CONTROL LINKAGE (PD220Y-1, PD220Y-2) (2/2)
DEGELERATOR PEDAL (PD220Y-1, PD220Y-2)
FLYWHEEL AND FLYWHEEL HOUSING (PD220Y-1, PD220YS)
POWER TAKE OFF (PD220Y-1, PD220YS)
RADIATOR (PD220Y-1, PD220YS)
RADIATOR FAN PULLEY (PD220Y-1, PD220YS)
RADIATOR PIPING AND GUARDNET (PD220Y-1, PD220YS)
FUEL TANK (PD220Y-1, PD220Y-2) (2/2)
FUEL PIPING (PD220Y-1, PD220Y-2) (2/2)
JOINT ASSEM (PD220Y-1, PD220YS)
TORQUE CONVERTER HOUSING (PD220Y-1, PD220YS)
TURBING SHAFT AND STATOR (PD220Y-1, PD220YS)
TRANSMISSION CASE (PD220Y-1, PD220YS)
TRANSMISSION GEAR AND SHAFT (PD220Y-1, PD220YS) (1/3)
TRANSMISSION GEAR AND SHAFT (PD220Y-1, PD220YS) (2/3)
TRANSMISSION GEAR AND SHAFT (PD220Y-1, PD220YS) (3/3)
TRANSFER CASE AND GEAR (PD220Y-1, PD220YS)
TRANSMISSION CONTROL VALVE (PD220Y-1, PD220YS) (1/2)
TRANSMISSION CONTROL VALVE (PD220Y-1, PD220YS) (2/2)
COVER AND VALVE CONTROL LEVER (PD220Y-1, PD220YS)
GEAR SHIFT LEVER (PD220Y-1, PD220Y-2) (1/2)
GEARSHIFT LEVER (PD220Y-1, PD220Y-2) (2/2)
TRANSMISSION PUMP (PD220Y-1, PD220Y-2)
TORQUEFLOW TRANSMISSION OIL FILTER (PD220Y-1, PD220Y-2)
TRQUE CONVERTER PIPING (PD220Y-1, PD220Y-2) (l/2)
TRQUE CONVERTER PIPING (PD220Y-1, PD220Y-2) (2/2)
TRANSMISSION PIPING (PD220Y-1, PD220YS)
STEERING CASE AND MAIN FRAME (PD220Y-1)
BEVEL GEAR AND SHAFT (PD220Y-1, PD220YS)
STEERING CLUTCH (PD220Y-1, PD220YS)
BRAKE HOUSING (PD220Y-1, PD220YS)
BRAKE BAND AND LINKAGE (PD220Y-1, PD220YS)
BRAKE BOOSTER (PD220Y-1, PD220YS)
STEERING CONTROL LEVER (PD220Y-1, PD220Y-2)
BREAK PEDAL (PD220Y-1, PD220Y-2)
STEERING AND BRAKE LINKAGE (PD220Y-1, PD220YS) (1/2)
STEERING AND BRAKE LINKAGE (PD220Y-1, PD220YS) (2/2)
PARKING BRAKE LEVER (PD320Y-1, PD320Y-2)
STEERING PUMP (PD220Y-1, PD220Y-2)
OIL STRAINER (PD220Y-1, PD220Y-2)
STEERING OIL FILTER (PD220Y-1, PD220Y-2)
MAIN RELIEF VALVE AND SAFETY VALVE (PD220Y-1, PD220Y-2)
STERING PIPING (PD220Y-1, PD220YS) (1/3)
STERING PIPING (PD220Y-1, PD220YS)
STERING PIPING (PD220Y-1, PD220YS) (3/3)
MAIN RELIEF VALVE (PD220Y-1, PD20YS)
STEERING CONTROL VALVE (PD220Y-1, PD220Y-2)
FINAL DRIVE CASE AND GEAR (PD220Y-1, PD220YS) (1/2 )
FINAL DRIVE CASE AND GEAR (PD220Y-1, PD220YS) (2/2)
SPROCKET AND SHAFT (PD220Y-1, PD220YS)
TRACK FRAME (PD220Y-1)
TRACK FRAME (PD220YS)
MIRECOIL SPRING (PD220Y-1)
RECOIL SPRING (PD220YS)
TRACK FRAME COVER (РD220Y-1)
TRACK FRAME COVER (PD220YS)
TRACK ROLLER GUARD (PD220Y-1, PD220YS)
IDLER (PD220Y-1, PD220YS)
TRACK ROLLER (PD220Y-1, PD220YS)
CARRIER ROLLER (PD220Y-1, PD220YS)
TRACK SHOE (MASTER PIN TYPE) (PD220Y-1)
TRACK SHOE (PD220YS) (MASTER PIN TYPE)
RADIATOR GUARD (PD220Y-1, PD220Y-2)
RADIATOR GUARD (PD220YS)
ENGINE HOOD AND DASHBOARD (PD220Y-1, PD220Y-2, PD220YS )
FENDER (PD220Y-1)
FENDER (PD220Y-2)
FENDER (PD220YS)
SUPPORT AND REAR COVER (PD220Y-1)
SUPPORT AND REAR COVER (PD220Y-2)
SUPPORT AND REAR COVER (PD220YS)
FLOOR PLATE (PD220Y-1)
FLOOR PLATE (PD220Y-2)
FLOOR PLATE (PD220YS)
BOTTOM GUADE (PD220Y-1, PD220Y-2)
BOTTOM GUADE (PD220YS)
ENGINE SIDE COVER, L.H. (PD220Y-1, PD220YS)
ENGINE SIDE COVER, R.H. (PD220Y-1, PD220YS)
OPERATOR'S SEAT (PD220Y-1, PD220Y-2)
DECAL (FOR CHINESE) (PD220Y-1, PD220YS)
EQUALIZER BAR (PD220Y-1)
DRAWBAR (PD220Y-1, PD220Y-2)
CYLINDER BRACKET GROUP (PD220Y-1 , PD220Y-2)
HYDRAULIC PUMP (PD220Y-1, PD220Y-2)
HYDRAULIC TANK (PD220Y-1) (1/2)
HYDRAULIC TANK (PD220Y-1) (2/2)
HYDRAULIC TANK (PD220Y-2)
HYDRULIC FILTER (PD220Y-1, PD220Y-2)
BLADE LIFT AND TILT CONTROL VALVE (PD220Y-1, PD220Y-2) (1/2)
BLADE LIFT AND TILT CONTROL VALVE (PD220Y-1, PD220Y-2) (2/2)
RIPPER CONTROL VALVE (PD220Y-1, PD220Y-2) (1/2)
RIPPER CONTROL VALVE (PD220Y-1, PD220Y-2) (2/2)
HYDRAULIC PIPING (TANK TO PUMP) (PD220Y-1)
HYDRAULIC PIPING (TANK ТО PUMP) (PD220Y-2)
HYDRAULIC PIPING (TANK TO LIFT CYLIBDER) (pd220Y-1) (1/2)
HYDRAULIC PIPING (TANK TO LIFT CYLIBDER) (pd220Y-1) (2/2)
HYDRAULIC PIPING (TANK TO LIFT CYLIBDER) (PD220Y-2)
HYDRAULIC PIPING (TANK TO TILT CYLIBDER) (PD220Y-1) (1/2)
HYDRAULIC PIPING (TANK TO TILT CYLIBDER) (PD220Y-2) (1/2)
HYDRAULIC PIPING (TANK TO TILT CYLIBDER) (PD220Y-2) (2/2)
BLADE CONTROL PIPING (PD220Y-2) (1/3)
BLADE CONTROL PIPING (PD220Y-2) (2/3)
BLADE CONTROL PIPING (PD220Y-2) (3/3)
LIFT CONTROL VALVE (PD220Y-1, PD220Y-2)
LIFTAND RIPPER CONTROL VALVE (PD220Y-1, PD220Y-2)
VAVLE RIPPER (PD220Y-1, PD220Y-2)
CONTROL LEVER BRACKET AND VALVE SEAT (PD220Y-1)
BLADE CONTROL LEVER (PD220Y-1)
RIPPER CONTROL LEVER (PD220Y-1)
LIFT AND RIPPER CONTROL LINKAGE (PD220Y-1)
LIFT CONTROL LINKAGE (PD220Y-1)
CONTROL LEVER BRACKET AND VALVE SEAT (PD220Y-1)
BLADE CONTROL LEVER (PD220Y-1)
BLADE CONTROL LINKAGE (PD220Y-1)
STRAIGHT TILT BLADE (PD220Y-1, PD220Y-2)
PUSH ARM AND BRANCE GROUP (PD220Y-1)
ROPS (PD220Y-1, PD220Y-2)
CAB (PD220Y-1, PD220YS) (1/2)
CAB (PD220Y-1, PD220YS) (2/2)
REAR GUARD (PD220Y-1)
ANGLE BLADE (PD220Y-1)
С-FRAME (PD220Y-1)
ELECTRICAL SYSTEM (PD220Y-1) (1/2)
ELECTRICAL SYSTEM (PD220Y-1) (2/2)
ELECTRICAL SYSTEM (PD220Y-1) (1/2)
ELECTRICAL SYSTEM (PD220Y-1) (1/2)
GAUGE PANEL (PD220Y-1) (2/2)
ELECTRICAL SYSTEM (06В) (1/2)
GAUGE PANEL (PD220Y-2) (2/2)
RIPPER CARRIAGE HOLDER AND LINK (PD220Y-1) (THREE-TOOTH)
RIPPER CARRIAGE HOLDER AND LINK (PD220Y-1) (FOUR-TOOTH)
RIPPER PIPNG (PD220Y-1)
RIPPER CYLINDER (PD220Y-1)
STEERING CASE AND MAIN FRAME (PD220YS)
1
2
3
4
5
6
7
8
8
8
9
9
10
11
12
13
14
15
16
17
18
19
20
21
22
23
24
25
26
27
28
29
30
31
32
33
34
35
36
37
38
39
40
41
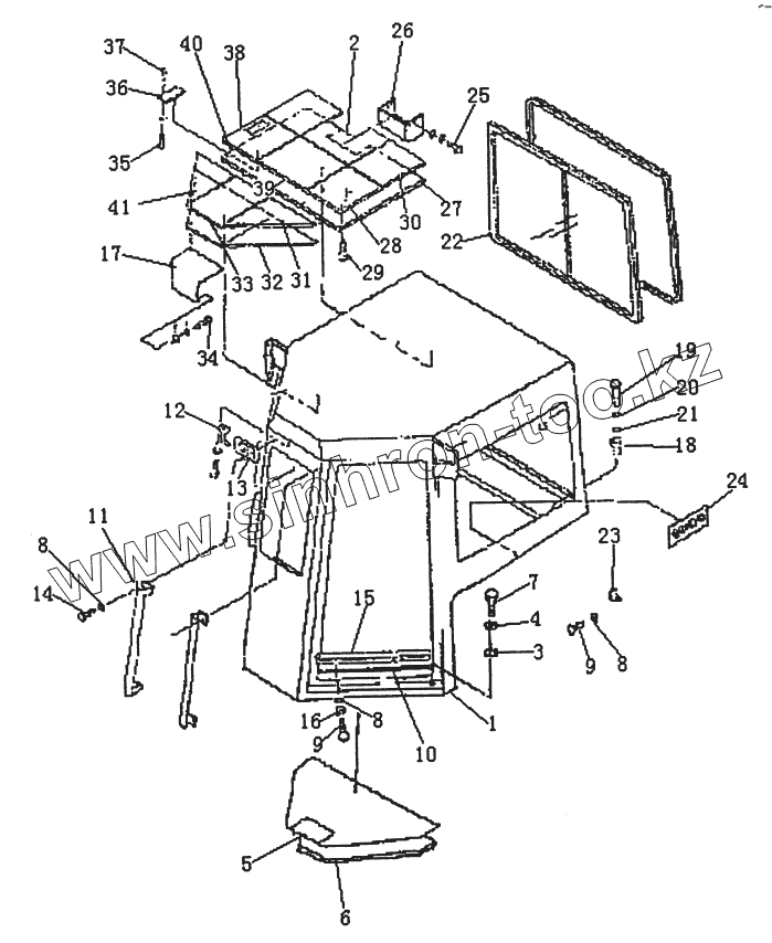
Позиция на иллюстрации
Заводской номер детали
Название детали
1
T21A.979.1
CAB
2
T21A.979-19
LINER
3
GB97.1
WASHER
4
GB93
WASHER
5
T21A.979-13
FLOORMAT
6
T21A.979-12
LINER
7
GB5782
BOLT
8
GB97.1
WASHER
9
GB845
SCREW
10
SEAL
SEAL
11
HANDLE
HANDLE
12
T21A.979-8
MIRROR, BRACKET
13
TS-1
MIRROR
14
GB818
SCREW
15
T21A.979-14
GUARD
16
GB93
WASHER
17
T14A.979.14
CONER
18
01643-31645
WASHER
19
GB5782
BOLT
20
GB93
WASHER
21
GB97.1
WASHER
22
T21A.979-21
GRASS
23
POTHOOK
POTHOOK
24
T21A.979.15
SWITCH
25
GB819
SCREW
26
T21A.979.13
COVER
27
T21A.979.11
CUSHION
28
T21A.979-18
LINER
29
ST2B.12-16
KNOB, ORNAMENTAL
30
LINER
LINER
31
T21A.979-16
LINER
32
T21A.979.12
CUSHION
33
LINER
LINER
34
GB819
SCREW
35
GB818
SCREW
36
68-4
LAMP
37
PIPE
PIPE
38
LINER
LINER
39
LINER
LINER
40
T21A.979-15
SEAL
41
T21A.979-17
LINER
Содержащиеся в справочниках-каталогах запасные части и детали не предлагаются к продаже, а носят исключительно информационный характер
Дополнительная информация
×
Название:
Номер:
Примечание: