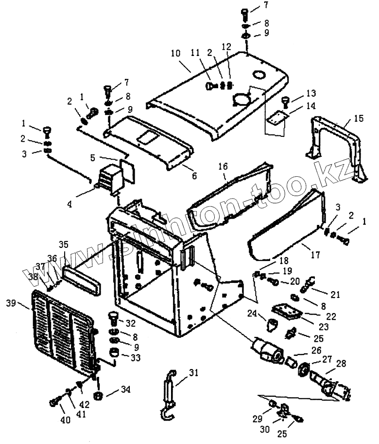
Каталог запасных частей к технике: PENGPU PengPu PD-165. ENGINE HOOD AND GUARD (PD165YS-1)
1
1
1
2
2
2
2
3
3
4
5
6
7
7
8
8
8
8
9
9
9
10
11
12
13
14
15
16
17
18
19
20
21
22
23
24
25
25
26
27
28
29
30
31
32
33
34
35
36
37
38
39
40
41
42
| Позиция на иллюстрации | Заводской номер детали | Название детали | |
|---|---|---|---|
| T26.54.18C | T26.54.18C | HOOD | |
| T26.54.18B | T26.54.18B | HOOD | |
| T24.54.20 | T24.54.20 | COVER, L.H | |
| 1 | GB5783 | BOLT | |
| 2 | GB93 | WASHER | |
| 3 | GB97.1 | WASHER | |
| 4 | T24.54.19 | COVER, R.H | |
| 5 | T24.54-16 | PLATE | |
| 6 | T26.54.2 | HOOD | |
| 7 | GB5783 | BOLT | |
| 8 | GB93 | WASHER | |
| 9 | GB97.1 | WASHER | |
| 10 | T26.54.18 | HOOD | |
| 11 | GB5783 | BOLT | |
| 12 | GB6170 | NUT | |
| 13 | GB5783 | BOLT | |
| 14 | T24.54-19 | PLATE | |
| 15 | T24.54.4 | SUPPORT | |
| 16 | T26.54.35 [1] | GUARD, L.H | |
| 17 | T26.54.36[1] | GUARD, R.H | |
| 18 | 01643-32060 | WASHER | |
| 19 | GB93 | WASHER | |
| 20 | GB5782 | BOLT | |
| 21 | GB5783 | BOLT | |
| 22 | T15.52.2-23 | PLATE | |
| 23 | T15.52.2-24 | SHIM | |
| 24 | T15.52.2.25 | PIN | |
| 25 | GB1152 | FITTING, GREASE | |
| 26 | T15.52.2-19 | CAP | |
| 27 | T15.52.2-17 | CAP | |
| 28 | T24.54.17-3 | YOKE | |
| 29 | T24.54.17-2 | PIN, ROLL | |
| 30 | T24.54.17-1 | COVER | |
| 31 | T24.54.3 | HOOK | |
| 32 | GB5782 | BOLT | |
| 33 | 01643-21432 | WASHER | |
| 34 | GB6170 | NUT | |
| 35 | T24.54-8 | PLATE | |
| 36 | GB93 | WASHER | |
| 37 | GB97.1 | WASHER | |
| 38 | GB5783 | BOLT | |
| 39 | T24.54.34 | GRILLE | |
| 40 | GB5783 | BOLT | |
| 41 | GB93 | WASHER | |
| 42 | GB97.1 | WASHER |
Содержащиеся в справочниках-каталогах запасные части и детали не предлагаются к продаже, а носят исключительно информационный характер