Каталог запасных частей к технике: PENGPU PengPu PD-165. ELECTRICAL SYSTEM (PD165YS) (1/2)
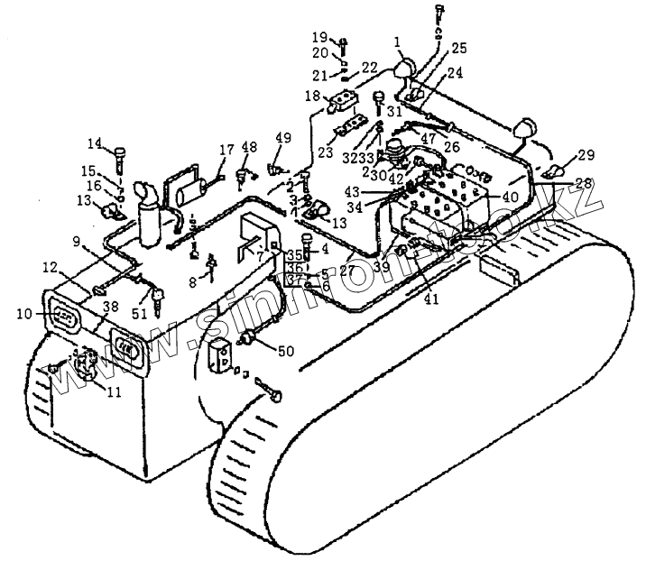
1
2
4
4
5
5
6
6
7
8
9
10
11
12
13
13
14
15
16
17
18
19
20
21
22
23
24
25
26
27
28
29
30
31
32
33
34
35
36
37
38
39
40
41
42
43
47
48
49
50
51
| Позиция на иллюстрации | Заводской номер детали | Название детали | |
|---|---|---|---|
| T24E.06C | T24E.06C | ELECTRICAL ASS 'Y | |
| 1 | LAMP | LAMP | |
| 2 | 08088-10000 | BATTERY RELAY | |
| 3 | T24E.06B.1 | CASE | |
| 4 | GB5783 | BOLT | |
| 5 | GB93 | WASHER | |
| 6 | GB97.1 | WASHER | |
| 7 | T24E.06B-1 | HARNESS | |
| 8 | WARNER | WARNER | |
| 9 | T21A.06B-2 | HARNESS | |
| 10 | HEAD LAMP | HEAD LAMP | |
| 11 | DL229 | HORN | |
| 12 | T24E.06B-3 | HARNESS | |
| 13 | T24.06-4 | CLIP | |
| 14 | GB5783 | BOLT | |
| 15 | GB93 | WASHER | |
| 16 | GB97 | WASHER | |
| 17 | T24E.06B-10 | HARNESS | |
| 18 | D4MC-5020 | SWITCH | |
| 19 | GB67 | BOLT | |
| 20 | GB93 | WASHER | |
| 21 | GB97.1 | WASHER | |
| 22 | GB6170 | NUT | |
| 23 | T24.06-13[1] | SUPPORT | |
| 24 | T24E.06B-4 | HARNESS | |
| 25 | 08035-01510 | CLIP | |
| 26 | T24E.06B-11 | HARNESS | |
| 27 | T24E.06B-5 | HARNESS | |
| 28 | T24E.06B-9 | HARNESS | |
| 29 | 08035-02510 | CLIP | |
| 30 | Т24Е.06В-7 | HARNESS | |
| 31 | GB5783 | BOLT | |
| 32 | GB93 | WASHER | |
| 33 | GB97.1 | WASHER | |
| 34 | Т24Е.06В-8 | HARNESS | |
| 35 | FUSE | FUSE | |
| 36 | FUSE | FUSE | |
| 37 | FUSE | FUSE | |
| 38 | Т24Е.06В-6 | HARNESS | |
| 39 | Т24.06-9 | RUBBER SEAT | |
| 40 | 6-QW-120 | BATTERY | |
| 41 | GB6170 | NUT | |
| 42 | GB5783 | BOLT | |
| 43 | GB6170 | NUT | |
| 44 | TAPE | ADHESIVE TAPE | |
| 45 | NYLON BELT | NYLON BELT | |
| 46 | NYLON BELT | NYLON BELT | |
| 47 | YK-1 | SENSOR | |
| 48 | WG-1 | SENSOR | |
| 49 | Д260 | SWITCH, HORN | |
| 50 | WG-1 | SENSOR | |
| 51 | WG-1 | SENSOR | |
| 52 | GS-7 | SERVICE METER | |
| 53 | T24E.06C-4 | INDICATE | |
| 54 | 3050692 | DELAY |
Содержащиеся в справочниках-каталогах запасные части и детали не предлагаются к продаже, а носят исключительно информационный характер