Каталог запасных частей к технике: PENGPU PengPu PD-165. BLADE LIFT CYLINDER (PD165Y,PD165YS)
1
1
2
3
4
4
5
5
6
6
7
7
8
8
8
8
9
9
10
10
11
12
12
12
12
13
13
13
13
14
14
14
14
15
15
16
17
18
19
20
21
22
23
24
24
25
26
27
28
29
30
31
32
33
34
35
36
37
38
39
40
41
42
43
43
44
45
45
46
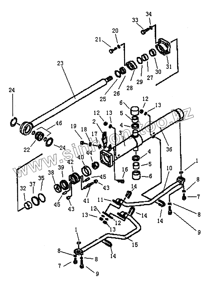
| Позиция на иллюстрации | Заводской номер детали | Название детали | |
|---|---|---|---|
| T24.C675.1.2 | T24.C675.1.2 | T24.C675.1.2 | |
| T24C676.1 | T24C676.1 | BLADE LIFT, R.H | |
| 1 | 07000-13035 | O-RING | |
| 2 | T24.C675-1 | PLATE | |
| 3 | T24C675.1 | BLADE LIFT, L.H | |
| 4 | 07145-00055 | SEAL, DUST | |
| 5 | SF-2 | BUSHING | |
| 6 | T24.C675-2 | BUSHING | |
| 7 | GB5782 | BOLT | |
| 8 | GB93 | WASHER | |
| 9 | GB5782 | BOLT | |
| 10 | T24.C675.2 | TUBE, L.H | |
| 10 | T24.C676.2 | TUBE, R.H | |
| 11 | T24.C675-3 | PLATE | |
| 12 | 01599-01011 | NUT | |
| 13 | GB97.1 | WASHER | |
| 14 | 07283-23442 | CLIP | |
| 15 | T24.C676.3 | TUBE, R.H | |
| 15 | T24.C675.3 | TUBE, L.H | |
| 16 | GB5783 | BOLT | |
| 17 | GB97.1 | WASHER | |
| 18 | GB93 | WASHER | |
| 19 | GB6170 | NUT | |
| 20 | GB93 | WASHER | |
| 21 | GB5782 | BOLT | |
| 22 | 07137-04006 | BUSHING | |
| 23 | T24.C675.1.1 | ROD, PISTON | |
| 24 | 04065-09030 | RING, SNAP | |
| 25 | 07179-00088 | RING, SNAP | |
| 26 | 07016-00658 | SEAL, DUST | |
| 27 | 07177-06515 | BUSHING | |
| 28 | 07178-16535 | GLAND | |
| 29 | 07000-03078 | O-RING | |
| 30 | 707-51-65-110 | U-WASHER | |
| 31 | T24.C675.1-1 | HEAD, CYLINDER | |
| 32 | 07177-06530 | BUSHING | |
| 33 | GB5783 | BOLT | |
| 34 | GB93 | WASHER | |
| 35 | 07000-12105 | O-RING | |
| 36 | T24.C675.1.2 | T24.C675.1.2 | |
| 37 | GB1235 | O-RING | |
| 38 | T24.C675.1-2 | RETAINER | |
| 39 | SNAP | SNAP | |
| 40 | SEAL | SEAL | |
| 41 | T24.C675.1-3 | VALVE, PISTON | |
| 42 | T24.C675.1-4 | PISTON | |
| 43 | T24.C675-6 | SEAT, VALVE | |
| 44 | 07165-13638 | NUT | |
| 45 | GB119 | PIN | |
| 46 | 07000-13040 | O-RING |
Содержащиеся в справочниках-каталогах запасные части и детали не предлагаются к продаже, а носят исключительно информационный характер