Каталог запасных частей к технике: ОЗП ТО-30. ТО-30.45.00.000. Гидросистема ГМК
ТО-30.45.00.000
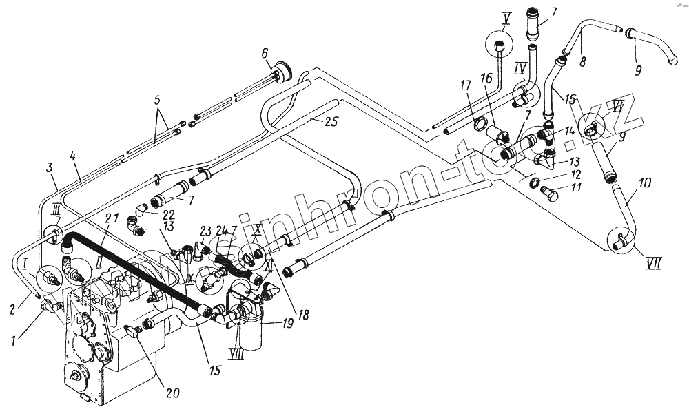
1
2
3
4
5
6
7
7
7
7
8
9
9
10
11
12
13
13
14
15
15
16
17
18
19
20
21
22
23
24
25
| Позиция на иллюстрации | Заводской номер детали | Название детали | |
|---|---|---|---|
| ТО-30.45.00.000 | ТО-30.45.00.000 | Гидросистема ГМК | |
| 1 | УВ1-12.9112 | Соединение | |
| 2 | ТО-30.45.00.013 | Труба | |
| 3 | ТО-6А.43.00.310 | Трубопровод | |
| 4 | ТО-6А.43.00.270 | Трубопровод | |
| 5 | ТО-6А.43.00.100 | Трубопровод | |
| 6 | 11.3830.1701 | Манометр | |
| 7 | 25x35,5-16.10362 | Рукав | |
| 8 | ТО-30.45.00.080 | Трубопровод | |
| 9 | 14x22,5-16.10362 | Рукав | |
| 10 | ТО-30.45.00.070 | Трубопровод | |
| 11 | М10x20.7796 | Болт | |
| 12 | 10.6402 | Шайба | |
| 13 | 2-28-M33x2.24.076 | Соединение | |
| 14 | ТО-30.45.00.020 | Переходник | |
| 15 | 25x35,5-16.10362 | Рукав | |
| 16 | ТО-30.45.01.000 | Фильтр | |
| 17 | ТО-30.4500 002 | Прокладка | |
| 18 | ТО-30.45.00.092 | Труба | |
| 19 | 1.1.32-25/16 | Фильтр | |
| 20 | У20104Б-44.02.050-А | Корпус термометра | |
| 21 | ТО-30.45.00.040-01 | Рукав | |
| 22 | ТО-30.45.00.030 | Трубопровод | |
| 23 | ТО-30.45.00.050 | Ниппель | |
| 24 | ТО-30.45.00.040 | Рукав | |
| 25 | ТО-30.45.00.031 | Труба |
Содержащиеся в справочниках-каталогах запасные части и детали не предлагаются к продаже, а носят исключительно информационный характер