Каталог запасных частей к технике: МЗКТ-80211. Бак
1
1
2
3
3
3
4
4
5
6
7
8
9
10
11
12
13
14
15
16
17
18
19
20
21
22
23
24
25
26
27
28
29
30
31
32
33
33
34
35
36
37
38
39
40
41
42
43
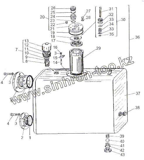
| Позиция на иллюстрации | Заводской номер детали | Название детали | |
|---|---|---|---|
| 1 | 7410-2024053 | Кольцо уплотнительное | |
| 2 | 8021-1917048 | Фланец | |
| 3 | 252135 | Шайба 8Т | |
| 4 | 201456 | Болт М8-6gх20 | |
| 5 | 7410-2024055 | Стекло смотровое | |
| 6 | 7410-2024056 | Фланец | |
| 7 | 7413-1711560 | Сапун | |
| 8 | 7413-1711562 | Переходник | |
| 9 | 252136 | Шайба 10 ОТ | |
| 10 | 252006 | Шайба 10 | |
| 11 | 543-1018323-Б | Фильтрующий элемент | |
| 12 | 543В-1101710 | Решетка суфлера | |
| 13 | 7413-1711564 | Корпус | |
| 14 | 373220 | Шпилька М8х25 | |
| 15 | 7413-1909052 | Упор | |
| 16 | 250510 | Гайка М8х1-6Н | |
| 17 | 543-1716102-Б | Секция фильтра тонкой очистки | |
| 18 | 7413-1909070 | Крышка | |
| 19 | 0000-1918814 | Кольцо 150-155-36-2-2 | |
| 20 | 742953-1917022 | Крышка | |
| 21 | 742953-1917026 | Крышка | |
| 22 | 262542 | Пробка КГ 1/4" | |
| 23 | 0000-1903747 | Кольцо 030-034-25-2-2 | |
| 24 | 74296-1917099 | Переходник | |
| 25 | 74296-1917098 | Прокладка | |
| 26 | 74296-1917095 | Крышка | |
| 27 | 378599 | Пробка | |
| 28 | 376120 | Прокладка 18М3 | |
| 29 | 7930-1910034 | Фильтр | |
| 30 | 7930-1910030 | Клапан | |
| 31 | 370742 | Болт М8-6gх80 | |
| 32 | 7930-1910032 | Корпус клапана | |
| 33 | 7413-1909104 | Клапан | |
| 34 | 535А-1517146 | Пружина клапана | |
| 35 | 251645 | Гайка М8-6Н | |
| 36 | 7930-1910024 | Фильтр с клапаном | |
| 37 | 80211-1917030 | Бак | |
| 38 | 262543 | Пробка КГ 3/8" | |
| 39 | 543-1718366 | Пружина сливного клапана | |
| 40 | 0000-3410201 | Шарик 26,988-100 | |
| 41 | 543-1718370 | Седло сливного клапана | |
| 42 | 0000-3515839 | Кольцо У-35х30-2 | |
| 43 | 547В-1101348-01 | Пробка сливная |
Содержащиеся в справочниках-каталогах запасные части и детали не предлагаются к продаже, а носят исключительно информационный характер