Вернуться на главную
Поиск
Каталоги запчастей к технике
Спецтехника
МЗКТ
МЗКТ-69234
Кронштейны 6923-3414010-10, 6923-3414110-10
Каталог запасных частей к технике: МЗКТ-69234. Кронштейны 6923-3414010-10, 6923-3414110-10
zoom-in
zoom-out
enlarge
shrink
circle-right
circle-left
file-text2
info
cart
Тип техники
Не выбрано
Легковые автомобили
Грузовые автомобили и прицепы
Автобусы
Сельхозтехника
Спецтехника
Двигатели
Мототехника
Марка
Не выбрано
Ammann
BOMAG
CARMIX
CASE IH
Changlin
ChengGong
Dimex
Doosan
DYNAPAC
Foton
HAMM
Hidromek
Hitachi
Hyundai
JCB
JLG
John Deere
Komatsu
LIEBHERR
LiuGong
Lonking (LongGong)
Luneng
MANITOU
Mitsuber
New Holland
PENGPU
RM-Terex
SANY
SDLG
SEM
Shantui
Shehwa HBXG
Soosan
TIGARBO
VOGELE
Volvo
WAY
WIRTGEN
XCMG
XGMA
Xiamen
YTO
Yuchai
Zoomlion
Автокран
АЗСМ
Алтайлесмаш
Амкодор
АОМЗ
Атек
АТЗ
Балканкар Рекорд
БелАЗ
Беловеж
Борекс
Брянский Арсенал
Булат
ВЭКС
ГАЗ
Геомаш
Гидромаш
Донекс
Дормаш
Дормашина
Дорэлектромаш
ДЭЗ
ЕлАЗ
ЗЗГТ
Ижнефтемаш
Канаш-электрокар
КЗКТ
ККЗ
Клевер
Клинцовский автокрановый завод
КМЗ
КМЗ 1 Мая
Ковровец
Коммаш
Кранэкс
КЭЗ
КЭМЗ
ЛЗА
МАЗ
МЗИК
МЗКМ
МЗКТ
Михневский РМЗ
МоАЗ
Мозырский МЗ
МТЗ
ОЗП
Онежец
ПАО "ТЗА"
ППС Детва
Промтрактор
ПТЗ
Раскат
СпецАгрегат
ТВЭКС
ТТМ
УВЗ
Угличмаш
УЗТМ
ХТЗ
ЧЗКМ
ЧСДМ
ЧТЗ
ЭКСКО
ЭКСМАШ
ЮрМаш
Модель
Не выбрано
МЗКТ-69234 (2010)
МЗКТ-8006 (2010)
МЗКТ-80211 (2010)
Схема
>
Не выбрано
Установка кабины
Установка держателей зеркал
Установка системы кондиционированя
Установка компрессора
Установка трубопроводов отопителя кабины
Установка двигателя
Установка топливопроводов
Установка топливного бака
Бак топливный 6923-1101010
Установка воздухоочистителя
Установка охладителя наддува
Установка подкачивающего насоса
Насос подкачивающий 79092-1133200
Привод управления двигателем
Педаль c кронштейном 64221-1108005-10
Педаль с втулкой и рычагом 64221-1108008-10
Привод останова двигателя
Привод выключателя двигателя дублирующий
Установка системы выпуска газов
Заслонка 69237-3570010
Установка трубопроводов системы охлаждения двигателя
Установка радиатора
Радиатор 65151-1301008-10
Установка бачка расширительного
Клапан редукционный 79095-1304010
Установка механизма управления сцеплением
Механизм управления сцеплением 69237-1602010
Подпедальный цилиндр 69237-1602300
Бачок 6923-1602250
Установка привода управления сцеплением
Усилитель пневмогидравлический 65151-1609200-10
Привод управления механизмом переключения передач
Механизм переключения передач 6923-1702010-01
Корпус 6923-1703290
Тяга 6923-1703438
Тяга 69234-1703445
Тяга 6923-1703490
Воздухопроводы и шланги управления механизмом переключения передач
Установка раздаточной коробки
Узлы и картерные детали раздаточной коробки
Ведущий вал
Промежуточный вал
Ведомый вал
Детали привода насоса
Картер раздаточной коробки 6923-1802010
Пневмопереключатель 8006-1803100
Насос 6923-1808010-10
Механизм отключения карданного вала 6923-1810010
Установка управления раздаточной коробки
Установка карданных валов
Валы карданные 69232-2205010, 79092-2218010
Вал карданный 6923-2201010
Мост задний
Картер моста 6923-2501010
Крепление редуктора
Детали колесной передачи
Тормоз заднего моста
Колодка тормоза правая, колодка тормоза левая 9919-3501090, 9919-3501091
Привод тормозов
Редуктор 8007-2302010
Шестерня ведущая 6923-2402021
Дифференциалы 8007-2403010-20,8007-2323010
Мост средний
Картер моста 6923-2501010
Крепление редуктора
Вал задний
Картер редуктора с дифференциалом
Межосевой дифференциал с картером шестерен
Механизм блокировки 6923-2509010-10
Шестерня ведущая 8007-2402021
Дифференциал межосевой 6923-2506010
Привод тормозов
Привод управления блокировкой дифференциалов
Стакан 6923-3502018
Кронштейн правый, кронштейн левый 6923-3519268, 6923-3519269
Тормоз среднего моста
Установка бампера
Рама 69234-2800014
Подвеска передняя
Подвеска задняя
Ось перeдняя
Ось передняя
Балка оси передней с поворотными кулаками
Установка ступиц колес
Тормоз правый, тормоз левый 692301-3501004-01, 692301-3501005-01
Установка передних колес
Установка задних колес
Колесо 69237-3101011-20
Ступица задняя 6923-3104010-10
Установка рулевого управления
Кронштейн с колонкой 64221-3403008
Колонка рулевая 64221-3444010
Цилиндр 6923-3405005-10
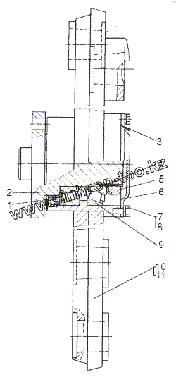
Кронштейны 6923-3414010-10, 6923-3414110-10
Вал нижний 79191-3444050
Тяги и наконечники рулевого привода
Установка масляного бака
Бак масляный 69234-3410010
Установка насоса
Насос 652513-3407008
Насос 652513-3407010
Насос 69234-3431010
Насос 69237-3407312
Блок клапанов 6923-3420010-10
Установка компрессора
Установка крана стояночного тормоза
Установка агрегатов моторного тормоза
Камера тормозная с пружинным энергоаккумулятором 6923-3519200
Привод тормозного крана
Педаль тормоза 79191-3504100
Установка воздушных баллонов
Установка воздушного баллона потребителей
Установка головного освещения
Установка аккумуляторных батарей и контейнера
Установка задних фонарей
Установка электрооборудования на шасси
Установка электрооборудования двигателя
Установка электрооборудования в кабине
Установка электрооборудования подогревателя
Установка боковых габаритов
Установка электрооборудования обогреваемых зеркал
Привод спидометра
Установка генератора
Установка подъемника запасного колеса
Стрела подъемника 6923-3925010-10
Установка буксирного троса
Инструмент и принадлежности
1
2
3
4
5
6
7
8
9
9
10
11
Позиция на иллюстрации
Заводской номер детали
Название детали
1
0000-2304799
Манжета 2.2-65х90-3
2
6923-3414026
Ось
3
69237-3414034
Прокладка
4
535-3401152
Шайба
5
375093
Гайка М42х2-5Н6Н
6
69237-3414032
Крышка
7
201416
Болт М6-6gх12
8
252134
Шайба 6Т
9
0000-3426274
Подшипник 7209
9
0000-3426274-01
Подшипник 7209 А
10
6923-3414013-20
Кронштейн
11
6923-3414113-20
Кронштейн
Содержащиеся в справочниках-каталогах запасные части и детали не предлагаются к продаже, а носят исключительно информационный характер
Дополнительная информация
×
Название:
Номер:
Примечание: