Каталог запасных частей к технике: МЗКМ КО-806. Электрооборудование
1
2
3
4
5
6
7
8
9
10
11
12
13
14
15
16
17
18
19
20
21
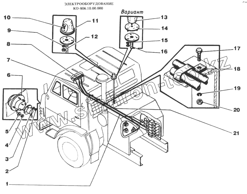
| Позиция на иллюстрации | Заводской номер детали | Название детали | |
|---|---|---|---|
| 1 | КО-806.10.03.000 | Жгут 2 | |
| 2 | Гайка М3 | Гайка М3 | |
| 3 | Шайба 3 | Шайба 3 | |
| 4 | Гайка М5 | Гайка М5 | |
| 5 | Шайба 5 | Шайба 5 | |
| 6 | Передний фонарь | Передний фонарь | |
| 7 | КО-806.10.04.000 | Провод | |
| 8 | КО-806.10.01.000 | Установка щитка | |
| 9 | Шайба 6 | Шайба 6 | |
| 10 | Болт М6 | Болт М6 | |
| 11 | Огонь светосигнальный автомобильный | Огонь светосигнальный автомобильный | |
| 12 | Гайка М6 | Гайка М6 | |
| 13 | Фонарь автомобильный кадиоптрический LВS-5 | Фонарь автомобильный кадиоптрический LВS-5 | |
| 14 | КО-806.10.07.000 | Диск | |
| 15 | 6402.6.65Г | Шайба | |
| 16 | 5915.М6-6Н.6 | Гайка | |
| 17 | 7798.М10-6gх20.56 | Болт | |
| 18 | КО-806.10.00.001 | Хомут | |
| 19 | 6402.10.65Г | Шайба | |
| 20 | 5915.М10-6Н.6 | Гайка | |
| 21 | КО-806.10.02.000 | Жгут 1 |
Содержащиеся в справочниках-каталогах запасные части и детали не предлагаются к продаже, а носят исключительно информационный характер