Каталог запасных частей к технике: МЗИК ЭТ-2054. Рессора 2054.02.00.040
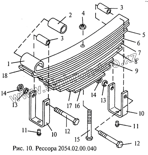
1
2
3
3
4
5
6
7
8
9
10
10
11
11
12
12
13
13
14
14
15
16
17
18
| Позиция на иллюстрации | Заводской номер детали | Название детали | |
|---|---|---|---|
| 1 | 2054.02.00.041 | Лист | |
| 2 | 2054.02.00.045 | Втулка | |
| 3 | 2054.02.00.044 | Втулка | |
| 4 | Гайка 10-Хим.Фос.прм {ОСТ 1.33018-80} | Гайка 10-Хим.Фос.прм {ОСТ 1.33018-80} | |
| 5 | 2054.02.00.043 | Лист | |
| 6 | 2054.02.00.043-01 | Лист | |
| 7 | 2054.02.00.043-02 | Лист | |
| 8 | 2054.02.00.051 | Лист | |
| 9 | 2054.02.00.043-03 | Лист | |
| 10 | 2054.02.00.052 | Хомут | |
| 11 | Заклепка 8х16.01.10.06 {ГОСТ 10299-80} | Заклепка 8х16.01.10.06 {ГОСТ 10299-80} | |
| 12 | Болт М8-8gх70.46.06 {ГОСТ 7796-70} | Болт М8-8gх70.46.06 {ГОСТ 7796-70} | |
| 13 | Шайба 8 65Г 06 {ГОСТ 6402-70} | Шайба 8 65Г 06 {ГОСТ 6402-70} | |
| 14 | Гайка 8-Хим.Фос.прм {ОСТ 1.33017-80} | Гайка 8-Хим.Фос.прм {ОСТ 1.33017-80} | |
| 15 | Болт М10-8gх70.109.40Х.06 {ГОСТ 7796-70} | Болт М10-8gх70.109.40Х.06 {ГОСТ 7796-70} | |
| 16 | 2054.02.00.043-05 | Лист | |
| 17 | 2054.02.00.043-04 | Лист | |
| 18 | 2054.02.00.042 | Лист |
Содержащиеся в справочниках-каталогах запасные части и детали не предлагаются к продаже, а носят исключительно информационный характер