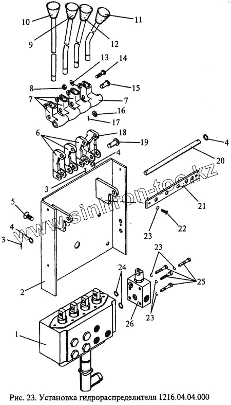
Каталог запасных частей к технике: МЗИК ЭП-1616. Установка гидрораспределителя
1
2
3
3
4
4
4
5
6
7
7
8
9
10
11
12
13
14
15
16
17
18
19
20
21
22
23
23
23
24
25
26
| Позиция на иллюстрации | Заводской номер детали | Название детали | |
|---|---|---|---|
| 1 | 1216.04.04.010-02 | Распределитель | |
| 2 | 1216.04.04.040 | Кронштейн | |
| 3 | Шплинт 4х36.06 {ГОСТ 397-79} | Шплинт 4х36.06 {ГОСТ 397-79} | |
| 4 | Шайба 14.04.06 {ГОСТ 10450-78} | Шайба 14.04.06 {ГОСТ 10450-78} | |
| 5 | Винт В.М10-8gх20.46.06 {ГОСТ 17475-80} | Винт В.М10-8gх20.46.06 {ГОСТ 17475-80} | |
| 6 | 1216.04.04.006 | Серьга | |
| 7 | 1216.04.04.008 | Рычаг | |
| 8 | Гайка М8-6Н.5.06 {ГОСТ 5915-70} | Гайка М8-6Н.5.06 {ГОСТ 5915-70} | |
| 9 | 1216.04.04.070-02 | Рукоятка | |
| 10 | 1216.04.04.070 | Рукоятка | |
| 11 | 1216.04.04.070-06 | Рукоятка | |
| 12 | 1216.04.04.070-04 | Рукоятка | |
| 13 | Шайба С.8х1,5.01.08кп.06 {ГОСТ 11371-78} | Шайба С.8х1,5.01.08кп.06 {ГОСТ 11371-78} | |
| 14 | Болт М8-8gх35.46.06 {ГОСТ 7796-70} | Болт М8-8gх35.46.06 {ГОСТ 7796-70} | |
| 15 | Ось 6-10h11х35.45.Хим.Фос.прм {ГОСТ 9650-80} | Ось 6-10h11х35.45.Хим.Фос.прм {ГОСТ 9650-80} | |
| 16 | Шайба 10.04.06 {ГОСТ 10450-78} | Шайба 10.04.06 {ГОСТ 10450-78} | |
| 17 | Шплинт 3,2х25.06 {ГОСТ 397-79} | Шплинт 3,2х25.06 {ГОСТ 397-79} | |
| 18 | 1216.04.04.005 | Серьга | |
| 19 | Ось 6-14h11х35.45.Хим.Фос.прм {ГОСТ 9650-80} | Ось 6-14h11х35.45.Хим.Фос.прм {ГОСТ 9650-80} | |
| 20 | 1216.04.04.001 | Ось | |
| 21 | 1216.04.04.009 | Пластина | |
| 22 | Винт В.М6-8gх16.56.06 {ГОСТ 17473-80} | Винт В.М6-8gх16.56.06 {ГОСТ 17473-80} | |
| 23 | Шайба 6 65Г 06 {ГОСТ 6402-70} | Шайба 6 65Г 06 {ГОСТ 6402-70} | |
| 24 | Кольцо 015-019-25-2-2 {ГОСТ 18829-73} | Кольцо 015-019-25-2-2 {ГОСТ 18829-73} | |
| 25 | Винт М6-8gх45.10.9.06 {ГОСТ 11738-84} | Винт М6-8gх45.10.9.06 {ГОСТ 11738-84} | |
| 26 | 1216.04.04.020 | Клапан предохранительный |
Содержащиеся в справочниках-каталогах запасные части и детали не предлагаются к продаже, а носят исключительно информационный характер