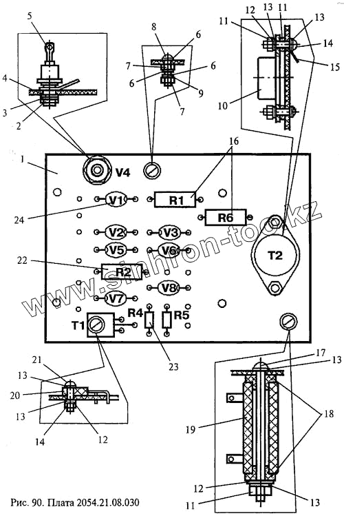
Каталог запасных частей к технике: МЗИК ЭП-1616. Плата 2054.21.08.030
1
2
3
4
5
6
6
6
7
7
8
9
10
11
11
11
12
12
12
13
13
13
13
13
13
14
14
15
16
17
18
19
20
21
22
23
24
| Позиция на иллюстрации | Заводской номер детали | Название детали | |
|---|---|---|---|
| 1 | 2054.21.08.040 | Панель | |
| 2 | Гайка 5-Кд {ОСТ 1.33017-80} | Гайка 5-Кд {ОСТ 1.33017-80} | |
| 3 | Шайба 5 65Г 029 {ГОСТ 6402-70} | Шайба 5 65Г 029 {ГОСТ 6402-70} | |
| 4 | Шайба 0,8-5-8-Ц {ОСТ 1.34505-80} | Шайба 0,8-5-8-Ц {ОСТ 1.34505-80} | |
| 5 | Диод 2Д202В {УЖ3.362.035 ТУ} | Диод 2Д202В {УЖ3.362.035 ТУ} | |
| 6 | Шайба 0,5-4-7-Кд {ОСТ 1.34505-80} | Шайба 0,5-4-7-Кд {ОСТ 1.34505-80} | |
| 7 | Гайка 4-Кд {ОСТ 1.33017-80} | Гайка 4-Кд {ОСТ 1.33017-80} | |
| 8 | Винт 4-14-Кд {ОСТ 1.31528-80} | Винт 4-14-Кд {ОСТ 1.31528-80} | |
| 9 | Шайба 4 65Г 029 {ГОСТ 6402-70} | Шайба 4 65Г 029 {ГОСТ 6402-70} | |
| 10 | Транзистор 2Т841Б {аАО.339.267 ТУ} | Транзистор 2Т841Б {аАО.339.267 ТУ} | |
| 11 | Гайка 3-Кд {ОСТ 1.33017-80} | Гайка 3-Кд {ОСТ 1.33017-80} | |
| 12 | Шайба 3 65Г 026 {ГОСТ 6402-70} | Шайба 3 65Г 026 {ГОСТ 6402-70} | |
| 13 | Шайба 0,8-5-8-Кд {ОСТ 1.34505-80} | Шайба 0,8-5-8-Кд {ОСТ 1.34505-80} | |
| 14 | Винт 3-14-Кд {ОСТ 1.31528-80} | Винт 3-14-Кд {ОСТ 1.31528-80} | |
| 15 | Лепесток 1-2-3,2х12-08 {ГОСТ 22376-77} | Лепесток 1-2-3,2х12-08 {ГОСТ 22376-77} | |
| 16 | Резистор С2-33Н-2,0-330 Ом±10%-А-Д-В {ОЖО.467.093 ТУ} | Резистор С2-33Н-2,0-330 Ом±10%-А-Д-В {ОЖО.467.093 ТУ} | |
| 17 | Болт 3-56-Ц {ОСТ 1.31148-80} | Болт 3-56-Ц {ОСТ 1.31148-80} | |
| 18 | 2054.21.08.009 | Втулка | |
| 19 | Резистор С5-35В-10Вт-330 Ом±10% {ОЖО.467.541 ТУ} | Резистор С5-35В-10Вт-330 Ом±10% {ОЖО.467.541 ТУ} | |
| 20 | Транзистор КТ815А {аАО.336.185 ТУ} | Транзистор КТ815А {аАО.336.185 ТУ} | |
| 21 | Винт 3-12-Кд {ОСТ 1.31528-80} | Винт 3-12-Кд {ОСТ 1.31528-80} | |
| 22 | Резистор С2-33Н-2,0-1,8 кОм±10%-А-Д-В {ОЖО.467.093 ТУ} | Резистор С2-33Н-2,0-1,8 кОм±10%-А-Д-В {ОЖО.467.093 ТУ} | |
| 23 | Резистор С2-33Н-0,25-100 Ом±10%-А-Д-В {ОЖО.467.093 ТУ} | Резистор С2-33Н-0,25-100 Ом±10%-А-Д-В {ОЖО.467.093 ТУ} | |
| 24 | Диод КД209Б {ТР3.362.088 ТУ} | Диод КД209Б {ТР3.362.088 ТУ} |
Содержащиеся в справочниках-каталогах запасные части и детали не предлагаются к продаже, а носят исключительно информационный характер