Каталог запасных частей к технике: МЗИК ЭП-1616. Грузоподъемник 1616.25.00.000
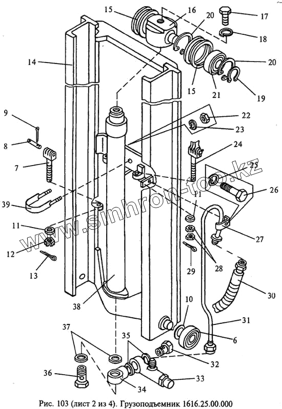
6
7
8
9
10
11
11
12
13
14
15
15
16
17
18
19
20
20
21
22
23
24
25
26
27
28
29
30
31
32
33
34
35
36
37
38
39
| Позиция на иллюстрации | Заводской номер детали | Название детали | |
|---|---|---|---|
| 6 | Подшипник 460807АКС17 {ТУ 37.006.111-81} | Подшипник 460807АКС17 {ТУ 37.006.111-81} | |
| 7 | 1616.05.00.031 | Тяга | |
| 8 | 1616.05.00.032 | Ось | |
| 9 | Шплинт 2х12.06 {ГОСТ 397-79} | Шплинт 2х12.06 {ГОСТ 397-79} | |
| 10 | 1216.05.00.064 | Прокладка | |
| 11 | Шайба 7019-0395 Хим.Фос.прм {ГОСТ 13438-68} | Шайба 7019-0395 Хим.Фос.прм {ГОСТ 13438-68} | |
| 12 | Гайка М16х1,5-6Н.04.06 {ГОСТ 5932-73} | Гайка М16х1,5-6Н.04.06 {ГОСТ 5932-73} | |
| 13 | Шплинт 3,2х36.06 {ГОСТ 397-79} | Шплинт 3,2х36.06 {ГОСТ 397-79} | |
| 14 | 1616.25.03.000 | Рама | |
| 15 | 1616.05.00.003 | Ролик | |
| 16 | 1616.15.00.003 | Траверса | |
| 17 | Болт М20-8gх40.56.06 {ГОСТ 7796-70} | Болт М20-8gх40.56.06 {ГОСТ 7796-70} | |
| 18 | Шайба 20 65Г 06 {ГОСТ 6402-70} | Шайба 20 65Г 06 {ГОСТ 6402-70} | |
| 19 | Кольцо В35 Хим.Фос.прм {ГОСТ 13942-86} | Кольцо В35 Хим.Фос.прм {ГОСТ 13942-86} | |
| 20 | Кольцо В80 Хим.Фос.прм {ГОСТ 13943-86} | Кольцо В80 Хим.Фос.прм {ГОСТ 13943-86} | |
| 21 | Подшипник 180307АС17 {ГОСТ 7242-81} | Подшипник 180307АС17 {ГОСТ 7242-81} | |
| 22 | Гайка М10-6Н.5.06 {ГОСТ 2524-70} | Гайка М10-6Н.5.06 {ГОСТ 2524-70} | |
| 23 | Шайба 10 65Г 06 {ГОСТ 6402-70} | Шайба 10 65Г 06 {ГОСТ 6402-70} | |
| 24 | 1616.05.00.030 | Цепь | |
| 25 | Шайба 6 65Г 06 {ГОСТ 6402-70} | Шайба 6 65Г 06 {ГОСТ 6402-70} | |
| 26 | Болт М6-8gх25.46.06 {ГОСТ 7798-70} | Болт М6-8gх25.46.06 {ГОСТ 7798-70} | |
| 27 | 1216.15.00.004 | Скоба | |
| 28 | Гайка М16х1,5-6Н.5.06 {ГОСТ 2524-70} | Гайка М16х1,5-6Н.5.06 {ГОСТ 2524-70} | |
| 29 | Шплинт 3,2х25.06 {ГОСТ 397-79} | Шплинт 3,2х25.06 {ГОСТ 397-79} | |
| 30 | 1616.05.00.420-02 | Рукав высокого давления | |
| 31 | 1616.25.00.040 | Трубопровод | |
| 32 | 1216.05.00.008 | Штуцер | |
| 33 | 1616.15.00.040 | Дроссель | |
| 34 | 1216.15.00.002 | Корпус | |
| 35 | Прокладка 22М1 {ГОСТ 23358-87} | Прокладка 22М1 {ГОСТ 23358-87} | |
| 36 | 1216.05.00.007 | Штуцер | |
| 37 | Прокладка 24М1 {ГОСТ 23358-87} | Прокладка 24М1 {ГОСТ 23358-87} | |
| 38 | 1616.15.01.000 | Цилиндр | |
| 39 | 1616.15.00.004 | Хомут |
Содержащиеся в справочниках-каталогах запасные части и детали не предлагаются к продаже, а носят исключительно информационный характер