Вернуться на главную
Поиск
Каталоги запчастей к технике
Спецтехника
МЗИК
ЭП-1616
Грузоподъемник 1616.25.00.000
Каталог запасных частей к технике: МЗИК ЭП-1616. Грузоподъемник 1616.25.00.000
zoom-in
zoom-out
enlarge
shrink
circle-right
circle-left
file-text2
info
cart
Тип техники
Не выбрано
Легковые автомобили
Грузовые автомобили и прицепы
Автобусы
Сельхозтехника
Спецтехника
Двигатели
Мототехника
Марка
Не выбрано
Ammann
BOMAG
CARMIX
CASE IH
Changlin
ChengGong
Dimex
Doosan
DYNAPAC
Foton
HAMM
Hidromek
Hitachi
Hyundai
JCB
JLG
John Deere
Komatsu
LIEBHERR
LiuGong
Lonking (LongGong)
Luneng
MANITOU
Mitsuber
New Holland
PENGPU
RM-Terex
SANY
SDLG
SEM
Shantui
Shehwa HBXG
Soosan
TIGARBO
VOGELE
Volvo
WAY
WIRTGEN
XCMG
XGMA
Xiamen
YTO
Yuchai
Zoomlion
Автокран
АЗСМ
Алтайлесмаш
Амкодор
АОМЗ
Атек
АТЗ
Балканкар Рекорд
БелАЗ
Беловеж
Борекс
Брянский Арсенал
Булат
ВЭКС
ГАЗ
Геомаш
Гидромаш
Донекс
Дормаш
Дормашина
Дорэлектромаш
ДЭЗ
ЕлАЗ
ЗЗГТ
Ижнефтемаш
Канаш-электрокар
КЗКТ
ККЗ
Клевер
Клинцовский автокрановый завод
КМЗ
КМЗ 1 Мая
Ковровец
Коммаш
Кранэкс
КЭЗ
КЭМЗ
ЛЗА
МАЗ
МЗИК
МЗКМ
МЗКТ
Михневский РМЗ
МоАЗ
Мозырский МЗ
МТЗ
ОЗП
Онежец
ПАО "ТЗА"
ППС Детва
Промтрактор
ПТЗ
Раскат
СпецАгрегат
ТВЭКС
ТТМ
УВЗ
Угличмаш
УЗТМ
ХТЗ
ЧЗКМ
ЧСДМ
ЧТЗ
ЭКСКО
ЭКСМАШ
ЮрМаш
Модель
Не выбрано
ДП-1604
ЭП-103КО
ЭП-1616
ЭТ-2054
Схема
>
Не выбрано
Корпус
Ограждение
Полик
Сиденье
Мост ведущий
Мост управляемый
Колесо 1216.02.00.010
Колесо 1216.02.00.140
Колесо 1616.03.00.010
Колесо 103К.00.13.020
Ступица
Ступица
Управление рулевое
Вал
Механизм рулевой
Устройство тормозное
Привод гидравлического тормоза
Тормоз гидравлический (рабочий)
Цилиндр тормоза главный
Электрооборудование (с системой управления «Куртис», со светотехникой)
Электрооборудование (с системой управления «Куртис», со светотехникой)
Электрооборудование (с системой управления «Куртис», без светотехники)
Электрооборудование (с системой управления «Куртис», без светотехники)
Электрооборудование (с контакторной системой управления, без светотехники)
Электрооборудование (с контакторной системой управления, без светотехники)
Электрооборудование (с контакторной системой управления, со светотехникой)
Электрооборудование (с контакторной системой управления, со светотехникой)
Жгут 1216.01.00.020
Жгут 1216.01.00.020-02
Жгут 1216.21.00.020, 1216.21.00.020-01
Жгут 1216.01.03.010, 1216.01.03.070
Жгут 1216.01.03.100, 1216.01.03.080
Жгут 1616.11.00.050
Жгут 1616.11.00.060
Жгут 1616.21.00.060
Жгут 1616.21.00.110
Провод 1616.11.00.010
Провод 1616.11.00.010-01
Провод 1616.11.00.010-02
Провод 1616.11.00.010-03
Провод 1616.11.00.010-04
Провод 1616.11.00.010-05
Провод 1616.11.00.010-06
Провод 1616.11.00.010-07
Провод 1616.11,00.010-08
Провод 1616.11.00.090
Провод 1616.21.00.010
Провод 1616.21.00.010-01
Провод 1616.21.00.010-02
Провод 1616.21.00.010-03
Провод 1616.21.00.010-04
Провод 1616.21.00.010-05
Провод 1616.21.00.010-06
Провод 1616.21.00.010-07
Провод 1616.21.00.010-08
Провод 1616.21.00.010-09
Провод 1616.21.00.020, 1616.21.00.020-01
Провод 1616.21.00.090, 1616.21.00.090-01
Провод 1616.21.01.030
Розетка 1616.11.00.030
Розетка 1616.21.00.030
Розетка 1616.21.00.030-01
Вилка 1616.21.01.020
Вилка 1616.21.01. 020-01
Вилка 1616.21.01.020-02
Вилка 1616.31.01.020
Вилка 1616.31.01.020-01
Батарея аккумуляторная (щелочная, для контакторной системы управления)
Батарея аккумуляторная (щелочная, для системы управления «Куртис»)
Батарея аккумуляторная (кислотная, для контакторной системы управления)
Батарея аккумуляторная (кислотная, для системы управления «Куртис»)
Привод акселератора
Блок управления
Блок контакторов
Привод контроллера
Плата 2054.21.08.030
Блок управления БУ ЭП1616
Фонарь
Панель 1216.01.03.000
Панель 1216.01.03.000-02
Панель 1216.01.03.000-04
Панель 1216.01.03.000-06
Панель 1216.01.06.000
Гидропривод 1616.04.00.000
Гидропривод 1616.04.00.000
Дроссель 1216.04.07.000
Бак
Установка гидрораспределителя
Распределитель
Клапан предохранительный
Гидроцилиндр 1616.04.06.000
Гидроцилиндр 1601.04.55.000-04, 1601.04.55.000-06
Гидропривод навесных приспособлений 1216.07.00.000
Гидропривод навесных приспособлений 1216.07.00.000
Клапан предохранительный 1216.07.00.010
Барабан
Коллектор
Грузоподъемник 1616.05.00.000
Грузоподъемник 1616.05.00.000
Цилиндр 1616.05.01.000
Вила 1616.00.09.000
Рамка защитная 1216.00.08.000, 1216.00.08.000-02
Клапан 1616.05.00.010, 1616.05.00.010-01
Цепь 1616.05.00.030-04
Грузоподъемник 1616.15.00.000
Грузоподъемник 1616.15.00.000
Грузоподъемник 1616.15.00.000
Цилиндр 1616.15.01.000
Дроссель 1616.15.00.040
Цепь 1616.05.00.030
Цилиндр 1616.15.11.000
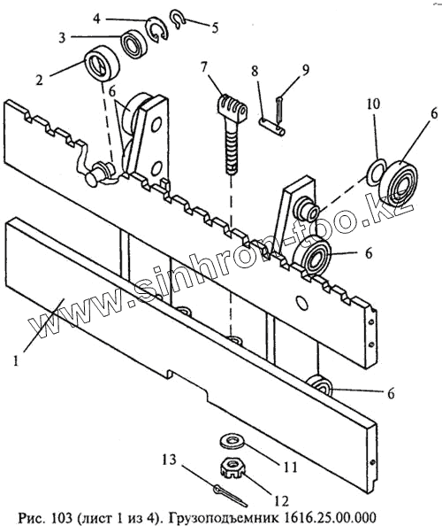
Грузоподъемник 1616.25.00.000
Грузоподъемник 1616.25.00.000
Грузоподъемник 1616.25.00.000
Грузоподъемник 1616.25.00.000
Цепь 1616.05.00.030-02
Цилиндр 1616.25.01.000, 1616.25.01.000-02
Комплект запасных частей, инструмента и принадлежностей
Расположение основных элементов на погрузчике
Расположение основных элементов на погрузчике
1
2
3
4
5
6
6
6
6
7
8
9
10
11
12
13
Позиция на иллюстрации
Заводской номер детали
Название детали
1
1616.15.02.000-02
Каретка
2
1216.05.00.065
Каток
3
Подшипник 80204АС17 {ГОСТ 7242-81}
Подшипник 80204АС17 {ГОСТ 7242-81}
4
Кольцо В47 Хим.Фос.прм {ГОСТ 13943-86}
Кольцо В47 Хим.Фос.прм {ГОСТ 13943-86}
5
Кольцо В20 Хим.Фос.прм {ГОСТ 13942-86}
Кольцо В20 Хим.Фос.прм {ГОСТ 13942-86}
6
Подшипник 460807АКС17 {ТУ 37.006.111-81}
Подшипник 460807АКС17 {ТУ 37.006.111-81}
7
1616.05.00.031
Тяга
8
1616.05.00.032
Ось
9
Шплинт 2х12.06 {ГОСТ 397-79}
Шплинт 2х12.06 {ГОСТ 397-79}
10
1216.05.00.064
Прокладка
11
Шайба 7019-0395 Хим.Фос.прм {ГОСТ 13438-68}
Шайба 7019-0395 Хим.Фос.прм {ГОСТ 13438-68}
12
Гайка М16х1,5-6Н.04.06 {ГОСТ 5932-73}
Гайка М16х1,5-6Н.04.06 {ГОСТ 5932-73}
13
Шплинт 3,2х36.06 {ГОСТ 397-79}
Шплинт 3,2х36.06 {ГОСТ 397-79}
Содержащиеся в справочниках-каталогах запасные части и детали не предлагаются к продаже, а носят исключительно информационный характер
Дополнительная информация
×
Название:
Номер:
Примечание: