Каталог запасных частей к технике: МЗИК ЭП-1616. Грузоподъемник 1616.15.00.000
1
2
2
3
4
5
6
7
8
9
9
10
11
12
13
14
15
16
17
18
19
20
21
22
23
24
25
26
27
27
28
29
29
29
30
30
31
32
33
34
35
36
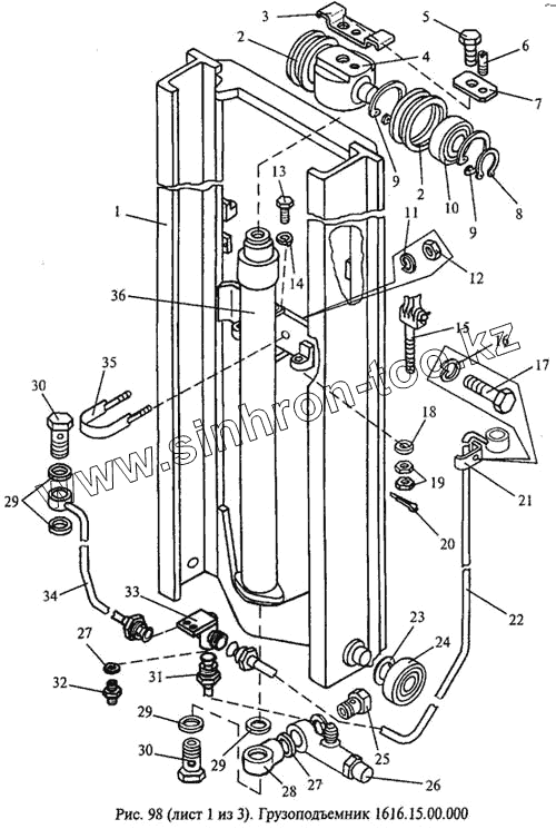
| Позиция на иллюстрации | Заводской номер детали | Название детали | |
|---|---|---|---|
| 1 | 1616.15.03.000 | Рама | |
| 2 | 1616.05.00.003 | Ролик | |
| 3 | 1616.15.00.008 | Козырек | |
| 4 | 1616.15.00.003 | Траверса | |
| 5 | Болт М20-8gх40.56.06 {ГОСТ 7796-70} | Болт М20-8gх40.56.06 {ГОСТ 7796-70} | |
| 6 | 1600.04.00.008 | Штифт | |
| 7 | 1616.15.00.009 | Шайба | |
| 8 | Кольцо В35 Хим.Фос.прм {ГОСТ 13942-86} | Кольцо В35 Хим.Фос.прм {ГОСТ 13942-86} | |
| 9 | Кольцо В80 Хим.Фос.прм {ГОСТ 13943-86} | Кольцо В80 Хим.Фос.прм {ГОСТ 13943-86} | |
| 10 | Подшипник 180307АС17 {ГОСТ 7242-81} | Подшипник 180307АС17 {ГОСТ 7242-81} | |
| 11 | Шайба 10 65Г 06 {ГОСТ 6402-70} | Шайба 10 65Г 06 {ГОСТ 6402-70} | |
| 12 | Гайка М10-6Н.5.06 {ГОСТ 2524-70} | Гайка М10-6Н.5.06 {ГОСТ 2524-70} | |
| 13 | Болт М8-8gх20.46.06 {ГОСТ 7796-70} | Болт М8-8gх20.46.06 {ГОСТ 7796-70} | |
| 14 | Шайба 8 65Г 06 {ГОСТ 6402-70} | Шайба 8 65Г 06 {ГОСТ 6402-70} | |
| 15 | 1616.05.00.030 | Цепь | |
| 16 | Шайба 6 65Г 06 {ГОСТ 6402-70} | Шайба 6 65Г 06 {ГОСТ 6402-70} | |
| 17 | Болт М6-8gх25.46.06 {ГОСТ 7798-70} | Болт М6-8gх25.46.06 {ГОСТ 7798-70} | |
| 18 | Шайба 7019-0395 Хим.Фос.прм {ГОСТ 13438-68} | Шайба 7019-0395 Хим.Фос.прм {ГОСТ 13438-68} | |
| 19 | Гайка М16х1,5-6Н.5.06 {ГОСТ 2524-70} | Гайка М16х1,5-6Н.5.06 {ГОСТ 2524-70} | |
| 20 | Шплинт 3,2х25.06 {ГОСТ 397-79} | Шплинт 3,2х25.06 {ГОСТ 397-79} | |
| 21 | 1216.15.00.004 | Скоба | |
| 22 | 1616.15.00.010 | Трубопровод | |
| 23 | 1616.05.00.001 | Прокладка | |
| 24 | Подшипник 460808АС {ТУ 37.006.111-80} | Подшипник 460808АС {ТУ 37.006.111-80} | |
| 25 | 1216.05.00.008 | Штуцер | |
| 26 | 1616.15.00.040 | Дроссель | |
| 27 | Прокладка 22М1 {ГОСТ 23358-87} | Прокладка 22М1 {ГОСТ 23358-87} | |
| 28 | 1216.15.00.002 | Корпус | |
| 29 | Прокладка 24М1 {ГОСТ 23358-87} | Прокладка 24М1 {ГОСТ 23358-87} | |
| 30 | 1216.05.00.007 | Штуцер | |
| 31 | 1616.15.00.020 | Трубопровод | |
| 32 | 1616.15.00.005 | Штуцер | |
| 33 | 1216.05.00.080 | Коллектор | |
| 34 | 1616.15.00.010-01 | Трубопровод | |
| 35 | 1616.15.00.004 | Хомут | |
| 36 | 1616.15.01.000 | Цилиндр |
Содержащиеся в справочниках-каталогах запасные части и детали не предлагаются к продаже, а носят исключительно информационный характер