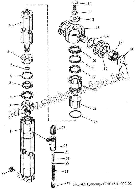
Каталог запасных частей к технике: МЗИК ЭП-103КО. Цилиндр 103К.15.11.000-02
1
2
3
4
5
6
7
8
9
10
11
12
13
14
15
16
17
18
19
20
20
21
22
23
24
25
26
27
28
29
30
31
32
33
| Позиция на иллюстрации | Заводской номер детали | Название детали | |
|---|---|---|---|
| 1 | 103К.15.11.120-02 | Труба | |
| 2 | 103К.15.01.007 | Гайка | |
| 3 | 103К.15.11.206 | Кольцо | |
| 4 | 103К.15.11.207 | Манжетодержатель | |
| 5 | Манжета 1-90х75-6 {ГОСТ 14896-84} | Манжета 1-90х75-6 {ГОСТ 14896-84} | |
| 6 | 103К.15.11.104 | Кольцо | |
| 7 | Кольцо 032-036-25-2-2 {ГОСТ 18829-73} | Кольцо 032-036-25-2-2 {ГОСТ 18829-73} | |
| 8 | 103К.15.11.102 | Поршень | |
| 9 | 103К.15.01.040-01 | Шток | |
| 10 | Болт М24-8gх40.56.06 {ГОСТ 7796-70} | Болт М24-8gх40.56.06 {ГОСТ 7796-70} | |
| 11 | Шайба 24 65Г 06 {ГОСТ 6402-70} | Шайба 24 65Г 06 {ГОСТ 6402-70} | |
| 12 | 103К.00.01.215 | Шайба | |
| 13 | 103К.15.10.106 | Траверса | |
| 14 | 103К.15.10.111 | Шайба | |
| 15 | Подшипник 4074108 {ГОСТ 4657-82} | Подшипник 4074108 {ГОСТ 4657-82} | |
| 16 | 103К.15.00.001 | Крышка | |
| 17 | Болт 3М8-8gх14.46.06 {ГОСТ 7796-70} | Болт 3М8-8gх14.46.06 {ГОСТ 7796-70} | |
| 18 | 103К.15.00.004 | Стопор | |
| 19 | 103К.15.00.102 | Ролик | |
| 20 | 103К.15.01.030 | Грязесъемник | |
| 20 | Грязесъемник 4-63 {ГОСТ 24811-81} | Грязесъемник 4-63 {ГОСТ 24811-81} | |
| 21 | 103К.15.01.005 | Кольцо | |
| 22 | Манжета 1-78х63-6 {ГОСТ 14896-84} | Манжета 1-78х63-6 {ГОСТ 14896-84} | |
| 23 | 103К.15.11.108 | Гайка | |
| 24 | 103К.15.01.009 | Втулка | |
| 25 | Кольцо 090-095-30-2-2 {ГОСТ 18829-73} | Кольцо 090-095-30-2-2 {ГОСТ 18829-73} | |
| 26 | 103К.15.01.027 | Колпачок | |
| 27 | 103К.15.01.121 | Корпус | |
| 28 | Шарик 4,763-100 {ГОСТ 3722-81} | Шарик 4,763- 100 {ГОСТ 3722-81} | |
| 29 | 103К.15.01.060 | Поплавок | |
| 30 | 103К.15.01.017 | Шайба | |
| 31 | 103К.15.01.023 | Пружина | |
| 32 | 103К.15.01.022 | Пробка | |
| 33 | 103.26.01.007 | Пробка |
Содержащиеся в справочниках-каталогах запасные части и детали не предлагаются к продаже, а носят исключительно информационный характер