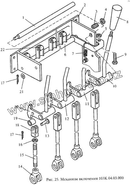
Каталог запасных частей к технике: МЗИК ЭП-103КО. Механизм включения
1
2
3
4
5
6
7
8
8
9
10
11
12
13
14
15
16
17
17
18
19
20
21
22
| Позиция на иллюстрации | Заводской номер детали | Название детали | |
|---|---|---|---|
| 1 | 103К.04.03.007 | Ось | |
| 2 | 103К04.03.070 | Кронштейн | |
| 3 | ЮЖ.04.03.063 | Втулка | |
| 4 | Гайка М12х1,25-6Н.04.06 {ГОСТ 2526-70} | Гайка М12х1,25-6Н.04.06 {ГОСТ 2526-70} | |
| 5 | Гайка М6.6Н.5.06 {ГОСТ 5915-70} | Гайка М6.6Н.5.06 {ГОСТ 5915-70} | |
| 6 | 103К.04.03.010 | Рычаг | |
| 7 | 103К.04.03.014 | Пружина | |
| 8 | 103К.04.03.060 | Рукоятка | |
| 8 | 103К.04.03.1601 | Рукоятка | |
| 9 | Болт М6-8gх30.46.06 {ГОСТ 7798-70} | Болт М6-8gх30.46.06 {ГОСТ 7798-70} | |
| 10 | 103К.04.03.030-03 | Рукоятка | |
| 11 | 103К.04.03.030-02 | Рукоятка | |
| 12 | 103К.04.03.030-01 | Рукоятка | |
| 13 | Ось 6-8f9х25.25 Хим.Фос.прм {ГОСТ 9650-80} | Ось 6-8f9х25.25 Хим.Фос.прм {ГОСТ 9650-80} | |
| 14 | 103К.04.03.003 | Вилка | |
| 15 | 103К.04.03.005 | Тяга | |
| 16 | Гайка М8-6Н.5.06 {ГОСТ 15521-70} | Гайка М8-6Н.5.06 {ГОСТ 15521-70} | |
| 17 | Шплинт 2х12-06 {ГОСТ 397-79} | Шплинт 2х12-06 {ГОСТ 397-79} | |
| 18 | 103к.04.03.004 | Вилка | |
| 19 | 103К.04.03.006 | Втулка | |
| 20 | 103К.04.03.030 | Рукоятка | |
| 21 | Шайба 2.8х1,5.01.08кп.06 {ГОСТ 11371-78} | Шайба 2.8х1,5.01.08кп.06 {ГОСТ 11371-78} | |
| 22 | 103К.04.03.041 | Ролик |
Содержащиеся в справочниках-каталогах запасные части и детали не предлагаются к продаже, а носят исключительно информационный характер