Вернуться на главную
Поиск
Каталоги запчастей к технике
Спецтехника
МЗИК
ЭП-103КО
Батарея 103K.31.01.000 (кислотная)
Каталог запасных частей к технике: МЗИК ЭП-103КО. Батарея 103K.31.01.000 (кислотная)
zoom-in
zoom-out
enlarge
shrink
circle-right
circle-left
file-text2
info
cart
Тип техники
Не выбрано
Легковые автомобили
Грузовые автомобили и прицепы
Автобусы
Сельхозтехника
Спецтехника
Двигатели
Мототехника
Марка
Не выбрано
Ammann
BOMAG
CARMIX
CASE IH
Changlin
ChengGong
Dimex
Doosan
DYNAPAC
Foton
HAMM
Hidromek
Hitachi
Hyundai
JCB
JLG
John Deere
Komatsu
LIEBHERR
LiuGong
Lonking (LongGong)
Luneng
MANITOU
Mitsuber
New Holland
PENGPU
RM-Terex
SANY
SDLG
SEM
Shantui
Shehwa HBXG
Soosan
TIGARBO
VOGELE
Volvo
WAY
WIRTGEN
XCMG
XGMA
Xiamen
YTO
Yuchai
Zoomlion
Автокран
АЗСМ
Алтайлесмаш
Амкодор
АОМЗ
Атек
АТЗ
Балканкар Рекорд
БелАЗ
Беловеж
Борекс
Брянский Арсенал
Булат
ВЭКС
ГАЗ
Геомаш
Гидромаш
Донекс
Дормаш
Дормашина
Дорэлектромаш
ДЭЗ
ЕлАЗ
ЗЗГТ
Ижнефтемаш
Канаш-электрокар
КЗКТ
ККЗ
Клевер
Клинцовский автокрановый завод
КМЗ
КМЗ 1 Мая
Ковровец
Коммаш
Кранэкс
КЭЗ
КЭМЗ
ЛЗА
МАЗ
МЗИК
МЗКМ
МЗКТ
Михневский РМЗ
МоАЗ
Мозырский МЗ
МТЗ
ОЗП
Онежец
ПАО "ТЗА"
ППС Детва
Промтрактор
ПТЗ
Раскат
СпецАгрегат
ТВЭКС
ТТМ
УВЗ
Угличмаш
УЗТМ
ХТЗ
ЧЗКМ
ЧСДМ
ЧТЗ
ЭКСКО
ЭКСМАШ
ЮрМаш
Модель
Не выбрано
ДП-1604
ЭП-103КО
ЭП-1616
ЭТ-2054
Схема
>
Не выбрано
Корпус
Дверь
Ограждение
Сиденье
Мост ведущий
Редуктор
Мост управляемый
Мост управляемый
Рессора
Колесо 103К.00.13.020
Колесо 103К.02.00.020
Управление рулевое
Механизм рулевой
Устройство тормозное
Трос
Цилиндр тормоза главный
Цилиндр колесный
Электрооборудование 103K.01.00.000-09, 103K.01.00.000-22
Электрооборудование 103K.01.00.000-09, 103K.01.00.000-22
Электрооборудование 103K.01.00.000-13, 103K.01.00.000-23
Электрооборудование 103K.01.00.000-13, 103K.01.00.000-23
Розетка 103К.01.00.030
Розетка 103К.01.00.030-09
Жгут 103К.01.00.060
Выключатель 103К.01.00.070
Жгут 103К.01.00.080
Провод 103К.01.00.130-24
Провод 103К.01.00.130-30
Провод 103К.01.00.130-32
Провод 103К.01.00.130-34
Провод 103К.01.00.130-46
Провод 103К.01.00.130-48
Провод 103К.01.00.130-50
Провод 103К.01.00.130-52
Провод 103К.01.00.130-62
Провод 103К.01.00.130-64
Жгут 103К.01.00.170
Жгут 103K.01.00.170-02
Батарея 103K.01.01.000 (щелочная)
Батарея 103K.31.01.000 (кислотная)
Вилка 103К.01.01.020-03
Вилка I03K.01.01.020-09
Привод контроллера 103К.01.02.000-01
Панель 103К.01.03.000
Блок управления БУ ЭП103
Гидропривод 103K.04.00.000-06
Распределитель
Клапан обратный
Дроссель регулируемый
Бак масляный
Фильтр
Механизм включения
Цилиндр наклона
Дроссель постоянного расхода
Гидропривод для навесных грузозахватных приспособлений
Гидропривод для навесных грузозахватных приспособлений
Коллектор 103К.04.24.020
Коллектор 103К.04.24.020-01
Грузоподъемник 103К.15.10.000 (Высота подъема груза 2м)
Цепь 103K.15.00.010
Цепь 103К.15.00.020
Каретка 103К.15.02.000-02
Цилиндр 103К.15.11.000
Рама 103К.15.13.000-02 (внутренняя)
Рама 103К.15.14.000 (наружная)
Грузоподъемник 103К.15.10.000-02 (Высота подъема груза 3,3м)
Цепь 103К.15.00.010-02
Цепь 103К.15.00.020-02
Каретка 103К.15.02.000
Цилиндр 103К.15.11.000-02
Рама 103К.15.13.000 (внутренняя)
Рама 103К.15.14.000-02 (наружная)
Комплект ЗИП
Расположение основных элементов на погрузчике
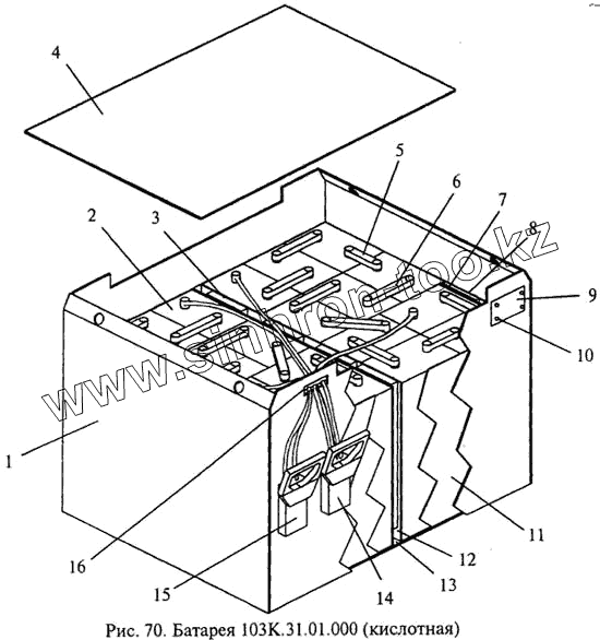
1
2
3
4
5
6
7
8
9
10
11
12
13
14
15
16
Позиция на иллюстрации
Заводской номер детали
Название детали
1
103К.31.01.010
Ящик
2
Аккумулятор ВАЕ 7РZ S 490
Аккумулятор ВАЕ 7РZ S 490
3
103.01.01.008-02
Клин
4
103К.31.01.002
Прокладка
5
Перемычка ВАЕ (L=89)
Перемычка ВАЕ (L=89)
6
Перемычка ВАЕ (L=163)
Перемычка ВАЕ (L=163)
7
103К.31.01.005
Прокладка
8
103.01.01.008-01
Клин
9
103К.31.01.001
Табличка
10
8ХЮ.990.112
Гвоздь для металла
11
103К.31.01.006
Прокладка
12
103К.31.01.003
Прокладка
13
103К.31.01.007
Прокладка
14
103К.31.01.020
Вилка
15
103К.31.01.020-01
Вилка
16
103.01.00.011
Уплотнение
Содержащиеся в справочниках-каталогах запасные части и детали не предлагаются к продаже, а носят исключительно информационный характер
Дополнительная информация
×
Название:
Номер:
Примечание: