Каталог запасных частей к технике: МЗИК ДП-1604. Пульт управления
1
2
2
3
3
4
4
5
5
6
7
8
9
9
10
10
11
11
12
12
13
14
14
14
14
14
14
15
16
17
18
19
20
21
22
23
23
24
24
25
25
26
27
28
29
30
31
32
33
34
35
36
37
37
38
39
40
41
42
43
44
45
46
47
48
49
50
51
52
53
54
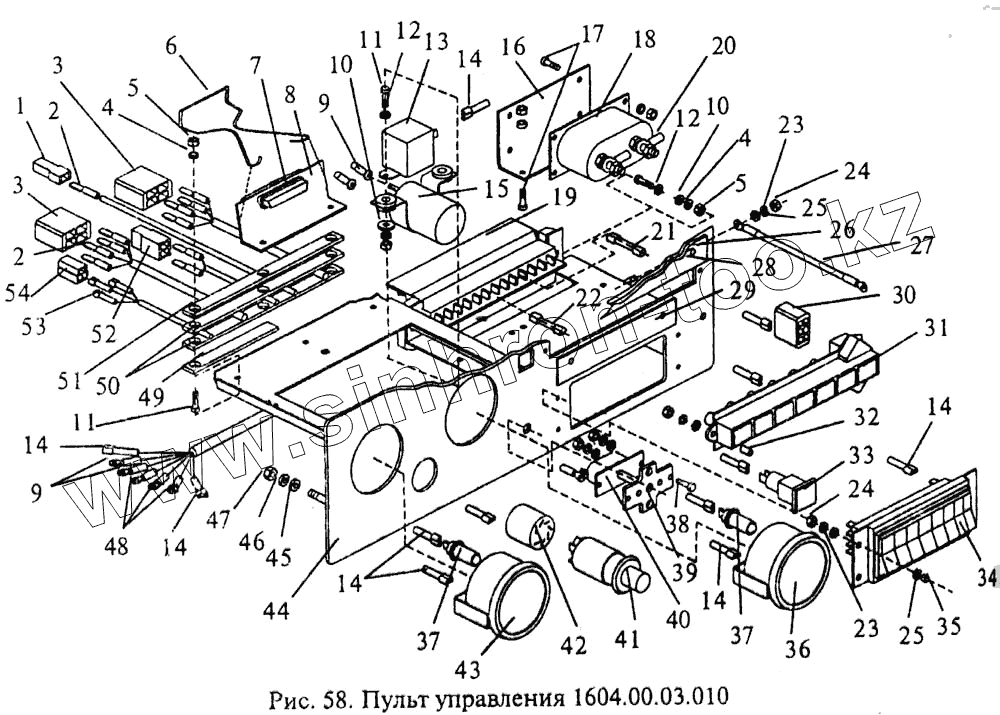
| Позиция на иллюстрации | Заводской номер детали | Название детали | |
|---|---|---|---|
| 1 | Колодка штыревая 502601 {ОСТ 37.003.032-88} | Колодка штыревая 502601 {ОСТ 37.003.032-88} | |
| 2 | Штырь 103612-11 {ОСТ 37.003.032-88} | Штырь 103612-11 {ОСТ 37.003.032-88} | |
| 3 | Колодка штыревая 502604 {ОСТ 37.003.032-88} | Колодка штыревая 502604 {ОСТ 37.003.032-88} | |
| 4 | Шайба 4 65Г 06 {ГОСТ 6402-79} | Шайба 4 65Г 06 {ГОСТ 6402-79} | |
| 5 | Гайка 4-Кд {ОСТ 1.33033-80} | Гайка 4-Кд {ОСТ 1.33033-80} | |
| 6 | 1604.00.03.015 | Фиксатор | |
| 7 | Розетка РП10-22 "3" {ГЕО.364.004 ТУ} | Розетка РП10-22 "3" {ГЕО.364.004 ТУ} | |
| 8 | 1604.00.03.013 | Кронштейн | |
| 9 | НО.775.015 | Наконечник Н7.750.091 | |
| 10 | Шайба 0,5-4-7-Кд {ОСТ 1.34505-80} | Шайба 0,5-4-7-Кд {ОСТ 1.34505-80} | |
| 11 | Винт 4-16-Кд {ОСТ 1.31528-80} | Винт 4-16-Кд {ОСТ 1.31528-80} | |
| 12 | Шайба 1,5-4-14-Кд {ОСТ 1.34505-80} | Шайба 1,5-4-14-Кд {ОСТ 1.34505-80} | |
| 13 | Реле 733.3747 {ТУ 37.003.709-80} | Реле 733.3747 {ТУ 37.003.709-80} | |
| 14 | Гнездо 202612-11 {ОСТ 37.003.032-88} | Гнездо 202612-11 {ОСТ 37.003.032-88} | |
| 15 | Прерыватель указателей поворота РС410М {ТУ 37.003.508-78} | Прерыватель указателей поворота РС410М {ТУ 37.003.508-78} | |
| 16 | 1604.00.03.011 | Кронштейн | |
| 17 | Винт 4-11-Кд {ОСТ 1.31528-80} | Винт 4-11-Кд {ОСТ 1.31528-80} | |
| 18 | Резистор добавочный СЭ52 {ТУ 37.003.394-73} | Резистор добавочный СЭ52 {ТУ 37.003.394-73} | |
| 19 | Блок предохранителей ПР112 {ТУ 37.003.775-78} | Блок предохранителей ПР112 {ТУ 37.003.775-78} | |
| 20 | НО.775.015 | Наконечник Н7.750.091 | |
| 21 | Вставка плавкая ПрП2-3722.100А {ТУ 37.003.775-78} | Вставка плавкая ПрП2-3722.100А {ТУ 37.003.775-78} | |
| 22 | Вставка плавкая ПрП2-3722.200А {ТУ 37.003.775-78} | Вставка плавкая ПрП2-3722.200А {ТУ 37.003.775-78} | |
| 23 | Шайба 3 65Г 026 {ГОСТ 6402-70} | Шайба 3 65Г 026 {ГОСТ 6402-70} | |
| 24 | Гайка 3-Кд {ОСТ 1.33017-80} | Гайка 3-Кд {ОСТ 1.33017-80} | |
| 25 | Шайба 0,8-3-8-Кд {ОСТ 1.34505-80} | Шайба 0,8-3-8-Кд {ОСТ 1.34505-80} | |
| 26 | Заклепка 2-6-Ан.Окс {ОСТ 1.34077-85} | Заклепка 2-6-Ан.Окс {ОСТ 1.34077-85} | |
| 27 | 1602.00.03.100 | Перемычка | |
| 28 | 1604.00.03.012 | Табличка | |
| 29 | 1604.00.03.016 | Табличка | |
| 30 | Колодка гнездовая 602606-ХХ-10 {ОСТ 37.003.032-88} | Колодка гнездовая 602606-ХХ-10 {ОСТ 37.003.032-88} | |
| 31 | Блок контрольных ламп 2301.3803.010-01 УХЛ {ТУ 37.003.1109-82} | Блок контрольных ламп 2301.3803.010-01 УХЛ {ТУ 37.003.1109-82} | |
| 32 | 1602.00.03.012 | Втулка | |
| 33 | Лампа контрольная 2202.3803-07 {ТУ 37.003.1109-82} | Лампа контрольная 2202.3803-07 {ТУ 37.003.1109-82} | |
| 34 | Выключатели клавишные в блоке 57.3710.03-17 {ГОСТ 3940-84} | Выключатели клавишные в блоке 57.3710.03-17 {ГОСТ 3940-84} | |
| 35 | 1602.00.03.011 | Втулка | |
| 36 | Приемник указателя температур 14.3807 {ТУ 37.003.844-78} | Приемник указателя температур 14.3807 {ТУ 37.003.844-78} | |
| 37 | Патрон с лампой ПВ.211.3714.000 {ТУ 37.458.063-90} | Патрон с лампой ПВ.211.3714.000 {ТУ 37.458.063-90} | |
| 38 | Винт 3-10-Кд {ОСТ 1.31542-80} | Винт 3-10-Кд {ОСТ 1.31542-80} | |
| 39 | 1600.00.03.012 | Планка | |
| 40 | Переключатель 5102.3709 {ТУ 37.003.1079-81} | Переключатель 5102.3709 {ТУ 37.003.1079-81} | |
| 41 | Выключатель 24.3710 {ТУ 37.003.977-79} | Выключатель 24.3710 {ТУ 37.003.977-79} | |
| 42 | Колодка гнездовая 610608 {ОСТ 37.003.032-88} | Колодка гнездовая 610608 {ОСТ 37.003.032-88} | |
| 43 | Приемник указателя давления 15.3810 {ТУ 37.003.387-78} | Приемник указателя давления 15.3810 {ТУ 37.003.387-78} | |
| 44 | 1604.00.03.020 | Шасси | |
| 45 | Шайба 1,5-5-12-Кд.фос {ОСТ 1.34505-80} | Шайба 1,5-5-12-Кд.фос {ОСТ 1.34505-80} | |
| 46 | Шайба 5 65Г 029 {ГОСТ 6402-70} | Шайба 5 65Г 029 {ГОСТ 6402-70} | |
| 47 | Гайка 5-Кд {ОСТ 1.33017-80} | Гайка 5-Кд {ОСТ 1.33017-80} | |
| 48 | НО.775.015 | Наконечник Н7.750.091 | |
| 49 | 1604.00.03.014 | Прокладка | |
| 50 | 1602.00.03.017 | Прокладка | |
| 51 | 1602.00.03.016 | Прижим | |
| 52 | Колодка штыревая 502602 {ОСТ 37.003.032-88} | Колодка штыревая 502602 {ОСТ 37.003.032-88} | |
| 53 | Гнездо 203612-11 {ОСТ 37.003.032-88} | Гнездо 203612-11 {ОСТ 37.003.032-88} | |
| 54 | Колодка гнездовая 602603 {ОСТ 37.003.032-88} | Колодка гнездовая 602603 {ОСТ 37.003.032-88} |
Содержащиеся в справочниках-каталогах запасные части и детали не предлагаются к продаже, а носят исключительно информационный характер