Каталог запасных частей к технике: МЗИК ДП-1604. Грузоподъемник 1616.05.00.000
4
4
5
5
13
13
14
15
16
17
19
19
19
20
20
21
21
22
22
23
23
25
28
28
55
56
56
57
57
58
58
59
59
60
60
60
60
61
61
62
62
63
63
64
64
65
65
66
66
67
68
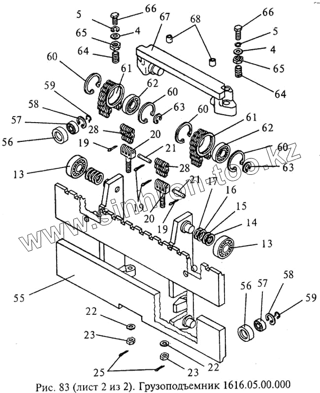
| Позиция на иллюстрации | Заводской номер детали | Название детали | |
|---|---|---|---|
| 4 | Шайба С10.02.Ст3кп.06 {ГОСТ 11371-78} | Шайба С10.02.Ст3кп.06 {ГОСТ 11371-78} | |
| 5 | Шайба 10 65Г 06 {ГОСТ 6402-70} | Шайба 10 65Г 06 {ГОСТ 6402-70} | |
| 13 | Подшипник 460807АКС17 {ТУ 37.006.111-81} | Подшипник 460807АКС17 {ТУ 37.006.111-81} | |
| 14 | 1216.05.00.064 | Прокладка | |
| 15 | 1216.05.00.064-01 | Прокладка | |
| 16 | 1216.05.00.064-02 | Прокладка | |
| 17 | 1216.05.00.064-03 | Прокладка | |
| 19 | Шплинт 2х12.06 {ГОСТ 397-79} | Шплинт 2х12.06 {ГОСТ 397-79} | |
| 20 | 1616.05.00.031 | Тяга | |
| 21 | 1616.05.00.032 | Ось | |
| 22 | Шайба 7019-0395-Хим.Фос.прм {ГОСТ 13438-68} | Шайба 7019-0395-Хим.Фос.прм {ГОСТ 13438-68} | |
| 23 | Гайка М16х1,5-6Н.5.06 {ГОСТ 5932-73} | Гайка М16х1,5-6Н.5.06 {ГОСТ 5932-73} | |
| 25 | Шплинт 3,2х36.06 {ГОСТ 397-79} | Шплинт 3,2х36.06 {ГОСТ 397-79} | |
| 28 | 1616.05.00.030-04 | Цепь | |
| 55 | 1616.05.02.000 | Каретка | |
| 56 | 1216.05.00.065 | Каток | |
| 57 | Подшипник 80204АС17 {ГОСТ 7242-81} | Подшипник 80204АС17 {ГОСТ 7242-81} | |
| 58 | Кольцо В47-Хим.Фос.прм {ГОСТ 13943-86} | Кольцо В47-Хим.Фос.прм {ГОСТ 13943-86} | |
| 59 | Кольцо В20-Хим.Фос.прм {ГОСТ 13942-86} | Кольцо В20-Хим.Фос.прм {ГОСТ 13942-86} | |
| 60 | Кольцо В35-Хим.Фос.прм {ГОСТ 13942-86} | Кольцо В35-Хим.Фос.прм {ГОСТ 13942-86} | |
| 61 | 1616.05.00.003 | Ролик | |
| 62 | Подшипник 80307АС17 {ГОСТ 7242-81} | Подшипник 80307АС17 {ГОСТ 7242-81} | |
| 63 | Кольцо В80-Хим.Фос.прм {ГОСТ 13943-86} | Кольцо В80-Хим.Фос.прм {ГОСТ 13943-86} | |
| 64 | 1616.05.00.017 | Винт | |
| 65 | 1216.15.00.008 | Гайка | |
| 66 | Болт М10-8gх55.46.06 {ГОСТ 7796-70} | Болт М10-8gх55.46.06 {ГОСТ 7796-70} | |
| 67 | 1616.05.00.060 | Траверса | |
| 68 | 1616.05.00.009 | Втулка |
Содержащиеся в справочниках-каталогах запасные части и детали не предлагаются к продаже, а носят исключительно информационный характер