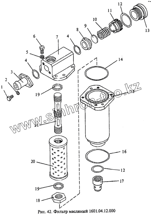
Каталог запасных частей к технике: МЗИК ДП-1604. Фильтр масляный
2
3
4
4
5
6
7
8
9
10
11
12
12
13
14
15
16
17
18
19
19
20
21
| Позиция на иллюстрации | Заводской номер детали | Название детали | |
|---|---|---|---|
| 1 | Винт 6-14-Ц {ОСТ 1.31501-80} | Винт 6-14-Ц {ОСТ 1.31501-80} | |
| 2 | Шайба 6 65Г 06 {ГОСТ 6402-70} | Шайба 6 65Г 06 {ГОСТ 6402-70} | |
| 3 | 1601.04.12.001 | Штуцер | |
| 4 | Кольцо 024-028-25-2-2 {ГОСТ 18829-73} | Кольцо 024-028-25-2-2 {ГОСТ 18829-73} | |
| 5 | Шайба 8 65Г 06 {ГОСТ 6402-70} | Шайба 8 65Г 06 {ГОСТ 6402-70} | |
| 6 | Винт 8-18-Кд {ОСТ 1.31501-80} | Винт 8-18-Кд {ОСТ 1.31501-80} | |
| 7 | 1601.04.12.006 | Крышка | |
| 8 | 1601.04.12.002 | Седло | |
| 9 | 1601.04.12.003 | Клапан | |
| 10 | 1601.04.12.005 | Пружина | |
| 11 | 1601.04.12.004 | Втулка | |
| 12 | Кольцо 030-035-30-2-2 {ГОСТ 18829-73} | Кольцо 030-035-30-2-2 {ГОСТ 18829-73} | |
| 13 | 1601.04.12.007 | Заглушка | |
| 14 | Кольцо 085-090-30-2-2 {ГОСТ 18829-73} | Кольцо 085-090-30-2-2 {ГОСТ 18829-73} | |
| 15 | 1601.04.12.020 | Корпус | |
| 16 | Кольцо 080-085-30-2-2 {ГОСТ 18829-73} | Кольцо 080-085-30-2-2 {ГОСТ 18829-73} | |
| 17 | 1601.04.12.011 | Гайка | |
| 18 | 1601.04.12.009 | Гайка | |
| 19 | 1601.04.09.014 | Прокладка | |
| 20 | Элемент фильтрующий "Реготмас" 601-1-06УХЛ2 {ТУ 3689-003-26361511-94} | Элемент фильтрующий "Реготмас" 601-1-06УХЛ2 {ТУ 3689-003-26361511-94} | |
| 21 | 1601.04.12.008 | Труба |
Содержащиеся в справочниках-каталогах запасные части и детали не предлагаются к продаже, а носят исключительно информационный характер