Каталог запасных частей к технике: МТЗ ТТР-401М. Лебедка
1
2
2
3
3
4
4
5
5
6
6
7
8
9
10
11
11
12
13
14
15
16
17
18
19
20
20
21
22
22
23
24
25
26
27
28
29
29
30
30
30
30
31
32
33
34
35
35
36
37
38
39
40
41
42
43
44
45
46
47
48
49
50
51
52
53
54
55
56
57
57
58
59
60
61
62
63
64
65
66
67
68
69
69
70
71
72
72
72
73
74
75
76
77
78
79
79
80
80
80
81
82
83
84
85
86
87
88
89
90
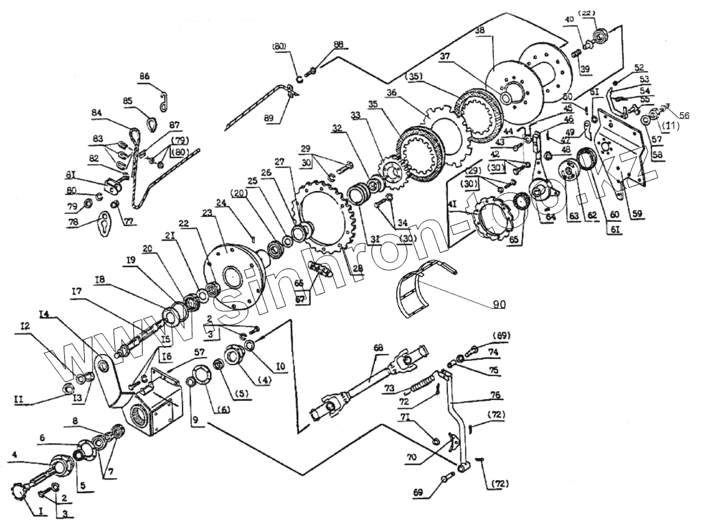
| Позиция на иллюстрации | Заводской номер детали | Название детали | |
|---|---|---|---|
| 1 | ТП30-0302048 | Вал-звездочка | |
| 2 | М8-6gx16.88.35.016 | Болт М8-6gx16.88.35.016 | |
| 3 | 6Т.65Г.06 | Шайба 6Т.65Г.06 | |
| 4 | ТП30-0302041 | Крышка | |
| 5 | 1,1-50x70-1 | Манжета 1,1-50x70-1 | |
| 6 | ТП30-0302042 | Прокладка | |
| 7 | 308 | Подшипник | |
| 8 | ТП30-0302043 | Втулка | |
| 9 | ТП30-0302049 | Кольцо | |
| 10 | А40 | Кольцо А40 | |
| 11 | ТП30-0302037 | Гайка | |
| 12 | ТП30-0302038 | Шайба стопорная | |
| 13 | ТП30-030247 | Втулка | |
| 14 | ТП30-0302100-Б | Корпус | |
| 15 | М10-6gх25.88.35.016 | Болт М10-6gх25.88.35.016 | |
| 16 | 10.ОТ.65Г.06 | Шайба 10.ОТ.65Г.06 | |
| 17 | ТП30-0302022 | Ось | |
| 18 | ТП30-0302018 | Пыльник | |
| 19 | ТП30-0302024 | Прокладка | |
| 20 | 210 | Подшипник | |
| 21 | ТП30-0302023 | Кольцо | |
| 22 | 8210 | Подшипник | |
| 23 | ТП30-0302014 | Диск ведущий | |
| 24 | ТП30-0302021 | Штифт | |
| 25 | 2В50 | Кольцо | |
| 26 | ТП30-0302024 | Прокладка | |
| 27 | ТП30-0302019 | Пыльник | |
| 28 | ТП30-0302011 | Звездочка | |
| 29 | М8-6gх25.88.35.016 | Болт М8-6gх25.88.35.016 | |
| 30 | 8.Т.65Г.06 | Шайба 8.Т.65Г.06 | |
| 31 | ТП30-0302016 | Пружина | |
| 32 | ТП30-0302017 | Втулка | |
| 33 | ТП30-0302012 | Обойма | |
| 34 | M8-6gx20.88.35.016 | Болт | |
| 35 | ТП30-0302150 | Диск сцепления | |
| 36 | ТП30-0302013 | Диск промежуточный | |
| 37 | ТП30-0302036 | Кольцо | |
| 38 | ТП30-03021 30 | Барабан | |
| 39 | ТП30-0302027 | Пружина | |
| 40 | ТП30-0302026 | Упор | |
| 41 | ТП30-0302033 | Храповик | |
| 42 | М8-6gx30.88.35.016 | Болт | |
| 43 | 5297049 | Ось 6-10h11x30.35.Ц9.15хр | |
| 44 | ТП30-0302052 | Ролик | |
| 45 | ТП30-0300260 | Шнур | |
| 46 | ТП30-0300145 | Рычаг | |
| 47 | 2,5х20.016 | Шплинт2,5х20.016 | |
| 48 | ГайкаМ8-6Н.8.35.016 | ГайкаМ8-6Н.8.35.016 | |
| 49 | ТП30-0302031 | Собачка | |
| 50 | 2,5х25.Ц6хр | Штифт2,5х25.Ц6хр | |
| 51 | ТП30-0302032 | Шайба | |
| 52 | 36-1310139 | Шарик | |
| 53 | ТП30-0302140 | Рычаг | |
| 54 | ТП30-0302039 | Пружина | |
| 55 | ТП30-0302145 | Рычаг | |
| 56 | 1,ЗЦ6 | Масленка 1,ЗЦ6 | |
| 57 | ТП30-0302029 | Шайба | |
| 58 | ТП30-0302029 -1 | Шайба | |
| 59 | ТП30-0302120 | 111ека | |
| 60 | ТП30-0302034 | Манжета | |
| 61 | 0,8х425.016 | Шплинт 0,8х425.016 | |
| 62 | ТП30-0302028 | Полумуфта | |
| 63 | 22.225 | Шарик | |
| 64 | ТП30-0302160 | Полумуфта | |
| 65 | ТП30-0302170 | Манжета | |
| 66 | ПР-25,4 -6000 | Цепь ПР-25,4 -6000 | |
| 67 | С-ПР -25,4 -600 | Звено С-ПР -25,4 -600 | |
| 68 | СФР550 -0109010 | Вал карданный | |
| 69 | ТП30-0300280 | Ось | |
| 70 | ТП30-0300285 | Колодка тормозная | |
| 71 | С10.01.0115 | Шайба С10.01.0115 | |
| 72 | 3,2х25.016 | Шплинт 3,2х25.016 | |
| 73 | ТП30-0300017 | Пружина | |
| 74 | С12.01.0115 | ШайбаС12.01.0115 | |
| 75 | ТП30-0300295 | Ролик | |
| 76 | ТП30-0300300 | Поводок | |
| 77 | ТП30-0300009 | Втулка распорная | |
| 78 | ТП30-0300007 | Держатель | |
| 79 | М10-6Н.8.35.016 | Гайка М10-6Н.8.35.016 | |
| 80 | 10.ОТ.65П06 | Шайба 10.ОТ.65П06 | |
| 81 | ТП30-0300008 | Клипса | |
| 82 | М10-6gx35.88.35.016 | Болт | |
| 83 | ТП30-0300203 | Скоба | |
| 84 | 11-Г-1Н-1764(180) | Канат 11-Г-1Н-1764(180) | |
| 85 | ТП30-0300202 | Коуш | |
| 86 | ТП30-0300201 | Крюк | |
| 87 | ТП30-0300204 | Планка | |
| 88 | М10-6gx30.88.35.016 | Болт М10-6gx30.88.35.016 | |
| 89 | ТП30-0300001-Б | Планка | |
| 90 | ТП30-0302180 | Ограждение |
Содержащиеся в справочниках-каталогах запасные части и детали не предлагаются к продаже, а носят исключительно информационный характер