Вернуться на главную
Поиск
Каталоги запчастей к технике
Спецтехника
МТЗ
Ш-353М
Опора промежуточная 406-4209400
Каталог запасных частей к технике: МТЗ Ш-353М. Опора промежуточная 406-4209400
zoom-in
zoom-out
enlarge
shrink
circle-right
circle-left
file-text2
info
cart
Тип техники
Не выбрано
Легковые автомобили
Грузовые автомобили и прицепы
Автобусы
Сельхозтехника
Спецтехника
Двигатели
Мототехника
Марка
Не выбрано
Ammann
BOMAG
CARMIX
CASE IH
Changlin
ChengGong
Dimex
Doosan
DYNAPAC
Foton
HAMM
Hidromek
Hitachi
Hyundai
JCB
JLG
John Deere
Komatsu
LIEBHERR
LiuGong
Lonking (LongGong)
Luneng
MANITOU
Mitsuber
New Holland
PENGPU
RM-Terex
SANY
SDLG
SEM
Shantui
Shehwa HBXG
Soosan
TIGARBO
VOGELE
Volvo
WAY
WIRTGEN
XCMG
XGMA
Xiamen
YTO
Yuchai
Zoomlion
Автокран
АЗСМ
Алтайлесмаш
Амкодор
АОМЗ
Атек
АТЗ
Балканкар Рекорд
БелАЗ
Беловеж
Борекс
Брянский Арсенал
Булат
ВЭКС
ГАЗ
Геомаш
Гидромаш
Донекс
Дормаш
Дормашина
Дорэлектромаш
ДЭЗ
ЕлАЗ
ЗЗГТ
Ижнефтемаш
Канаш-электрокар
КЗКТ
ККЗ
Клевер
Клинцовский автокрановый завод
КМЗ
КМЗ 1 Мая
Ковровец
Коммаш
Кранэкс
КЭЗ
КЭМЗ
ЛЗА
МАЗ
МЗИК
МЗКМ
МЗКТ
Михневский РМЗ
МоАЗ
Мозырский МЗ
МТЗ
ОЗП
Онежец
ПАО "ТЗА"
ППС Детва
Промтрактор
ПТЗ
Раскат
СпецАгрегат
ТВЭКС
ТТМ
УВЗ
Угличмаш
УЗТМ
ХТЗ
ЧЗКМ
ЧСДМ
ЧТЗ
ЭКСКО
ЭКСМАШ
ЮрМаш
Модель
Не выбрано
1502 (2012)
БЕЛАРУС 1502 (2015)
БЕЛАРУС 1502 (2017)
БЕЛАРУС МПТ-461.1 (2015)
КРМ-2 (САЗ) (2015)
М75-04 (2010)
МЛ-131 (2008)
МЛПТ-344 (2011)
МЛПТ-354М (2008)
МПТ-461.1 (2010)
МР-40-01 (2010)
МТЗ-320 МК (2010)
МУП-351 (2010)
ОБ-12 (САЗ) (2015)
ТТР-401М (2010)
Ш-353М (2015)
ЩК-00.010-М (САЗ) (2015)
ЩК-1 (САЗ) (2015)
Схема
>
Не выбрано
Схема деления шасси на составные части Ш353М-0000010
Схема деления шасси на составные части Ш353М-0000010-01
Схема деления шасси на составные части Ш353М-0000010-02
Схема деления шасси на составные части Ш353М-0000010-03
Схема деления шасси на составные части Ш353М-0000010-04
Схема деления шасси на составные части Ш353М-0000010-05
Установка силовая Ш353М-1001010-Б
Агрегат силовой Ш353М-1002010-Б
Система топливная Ш353М-1101010-Б
Управление подачей топлива Ш353М-1108010
Система газоочистки Ш353М-1200000-Б
Бак барботажный Ш353М-1200010
Привод управления сцеплением Ш353М-1602010
Коробка передач Ш353М-1700010
Привод переключения передач Ш353М-1703010
Передача карданная Ш353М-2200010
Задний мост с тормозами и ступицами в сборе 53-2400012-11
Рама с бампером в сборе Ш353М-2800005
Подвеска передняя Ш353М-2901010
Подвеска задняя Ш353М-2910010
Ось передняя с тормозами Ш353М-3000010-А
Установка передних колес Ш353М-3101010
Установка задних колес Ш353М-3101025
Установка задних колес Ш353М-3101025-01
Установка задних колес Ш353М-3101070-Б
Установка задних колес Ш353М-3101070-Б-01
Колонка рулевая Ш353М-3401200
Насос-дозатор Ш353М-3401140-Б
Гидросистема рулевого управления Ш353М-3407010-Б
Гидроцилиндр Ш353М-3407040-А, Ш353М-3407040-А-01
Бак рулевого управления Ш353М-3407100
Система управления тормозами Ш353М-3500010
Гидропривод тормозов Ш353М-3501000
Механизм управления стояночным тормозом Ш353М-3508010
Электрооборудование Ш353М-3700010
Электрооборудование Ш353М-3700010-01
Электрооборудование кабины Ш353М-3700020
Электрооборудование салона 353М2-3700030
Установка аккумуляторных батарей Ш353М-3703010
Установка стартера 80-3708010
Датчик спидометра Ш353М-3820010-Б
Установка инструментального ящика Ш353М-3901020
Установка огнетушителя Ш353М-3910010-Б
Установка сидений Ш353М-6800010
Установка сидений 403М-6800010
Установка капота Ш353М-8402010
Установка полика Ш353М-8402050
Установка термошумоизоляции Ш353М-8402100
Установка брызговиков Ш353М-8404005
Машина транспортная шахтная «БЕЛАРУС» МТ-353М2 353М2-0000010
Машина транспортная шахтная «БЕЛАРУС» МТ-353М2 353М2-0000010-01
Труба выпускная 353М2-1203010-Б
Установка заднего бампера 353М2-2800205
Установка верхних строений 353М2-2801000
Электрооборудование задней платформы 353М2-3700050
Установка сидений 353М2-8501010
Сиденье 353М2-8501070
Машина грузолюдская шахтная «БЕЛАРУС» МГЛ-363М 363М-0000010
Машина грузолюдская шахтная «БЕЛАРУС» МГЛ-363М 363М-0000010-01
Установка заднего бампера 363М-2800205-Б
Установка верхних строений 363М-2801000
Электрооборудование отсека 363М-3700030
Электрооборудование задней платформы 363М-3700050
Установка сидений 363М-8501010
Машина поливочная шахтная «БЕЛАРУС» МПЛ-373М 373М-0000010
Машина поливочная шахтная «БЕЛАРУС» МПЛ-373М 373М-0000010-01
Труба выпускная 373М-1203010
Пневмосистема управления приводом насосного агрегата 373М-1301010
Установка заднего бампера 373М-2800205
Установка верхних строений 373М-2801000
Электрооборудование цистерны 373М-3700040
Электрооборудование задней платформы 373М-3700050
Электрооборудование маяка 373М-3700060
Маяк проблесковый 373М-3738010
Привод насосного агрегата 373М-4200010
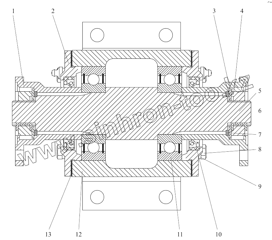
Опора промежуточная 406-4209400
Оборудование поливочное 373М-8503010-Б
Арматура пожарная 373М-8504010
Машина пожарная шахтная «БЕЛАРУС» МП-403М 403М-0000010
Машина пожарная шахтная «БЕЛАРУС» МП-403М 403М-0000010-01
Управление подачей топлива дублирующее 403М-1108010
Установка верхних строений 403М-2801000
Электрооборудование отсека 403М-3700030
Электрооборудование цистерны 403М-3700040
Электрооборудование маяка 403М-3700060
Маяк проблесковый 403М-3738015
Установка инструментального ящика 403М-3901020
Установка огнетушителей 403М-3910010
Установка сидений 403М-8501010
Оборудование пожарное 403М-8503010
Арматура пожарная 403М-8504010
1
2
3
4
5
6
7
8
9
10
11
12
13
Позиция на иллюстрации
Заводской номер детали
Название детали
1
406-4209061
Фланец
2
406-4209402
Крышка
3
364-1601034
Шайба
4
364-1601036
Гайка
5
406-4209401
Вал
6
364-1601037
Пластина замковая
7
Кольцо036-042-36-2-2
Кольцо 036-042-36-2-2
8
БолтМ8-6gx20.88.35.019
Болт
9
4598166046
Шайба 8Т
10
Манжета2.2-50x70-1
Манжета 2.2-50x70-1
11
180308АС23
Подшипник
12
406-4209420
Корпус
13
406-4209403
Прокладка
Содержащиеся в справочниках-каталогах запасные части и детали не предлагаются к продаже, а носят исключительно информационный характер
Дополнительная информация
×
Название:
Номер:
Примечание: